Запчасти Case IH 303 (383) - C-221 ENGINE, 3-9/16 X 3-11/16, AIR CLEANER AND CONNECTIONS (10) - ENGINE

Схема запчастей Case IH 303 - (383) - C-221 ENGINE, 3-9/16 X 3-11/16, AIR CLEANER AND CONNECTIONS (10) - ENGINE
21
8
20
10
7
8
1
9
15
16
6
18
12
8
9
17
13
2
11
8
19
5
18
3
14
4
FIT
1:1
100%

Артикул

Название

Примечание

Количество

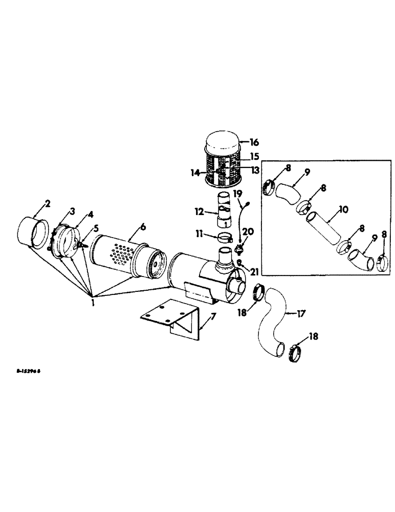
1

387981R92

CLEANER ASSY, dry type air, Order cleaner assy, 397173R91

1шт.

179816

BOLT,Hex, 5/16" - 18 x 3/4", Gr 5

4шт.

103320

LOCK WASHER,5/16"

WASHER, LOCK, 5/16"

4шт.

1

397173R91

CLEANER ASSY, dry type air

1шт.

180077

BOLT,Hex, 5/16" - 18 x 3/4", Gr 5

SCREW, 5/16-18 x 3/4 C-Z hex-hd cap

4шт.

80681

LOCK WASHER,5/16"

WASHER, LOCK, 5/16"

3шт.

178532

LOCK WASHER,Ext-Int Tooth, 5/16"

WASHER, 5/16 C-Z int-ext tooth lock

1шт.

2

389267R91

BOWL

CUP ASSY

1шт.

3

381339R91

CLAMP

ASSY

1шт.

4

381345R1

BAFFLE

1шт.

5

389264R91

BOLT (SPREADER),Wing, 3/8" - 16, W/ Wshr, Gasket

BOLT ASSY

1шт.

6

384812R93

AIR CLEANER

ELEMENT ASSY

1шт.

7

387982R11

BRACKET ASSY, air cleaner

1шт.

179839

BOLT,Hex, 3/8" - 16 x 1", Gr 5

2шт.

103321

LOCK WASHER,3/8"

WASHER, LOCK, 3/8"

2шт.

95-11041

WASHER,3/8"

13/32 x 13/16 x .065

2шт.

8

274088R91

HOSE CLAMP,2.25/3.13 Type F Worm

CLAMP, air cleaner pipe elbow

4шт.

9

377776R1

HOSE

air cleaner pipe elbow

2шт.

10

387984R1

PIPE, air cleaner, gasoline, Order 397793R1

1шт.

10

387985R1

PIPE, air cleaner, LP gas

1шт.

11

379368R91

COLLAR CLAMP

CLAMP, pre-screener pipe

1шт.

12

383355R1

PIPE, pre-screener 2.5" OD, 24" Length

1шт.

13

353639R1

VALVE SPRING

SPRING, screen lock tension

2шт.

14

353758R1

CLIP

screen lock spring

1шт.

15

355149R91

SCREEN W/CLIP, 353758R1 and two springs 353639R1, pre-screener

1шт.

16

354983R91

CLEANER

PRE-SCREENER W/QUICK REMOVABLE SCREEN

1шт.

17

397793R1

INTAKE AIR HOSE,2.25" ID

Air Cleaner Outlet 2.25" ID

1шт.

18

397256R1

HOSE CLAMP,#44, 2.31/3.25 Type F Worm, W/liner

CLAMP, air cleaner outlet hose

2шт.

19

NOT USED IN THIS APPLICATION

1шт.

20

NOT USED IN THIS APPLICATION

1шт.

21

NOT USED IN THIS APPLICATION

1шт.

Выбрано товаров: 31