Запчасти Case IH 303 (386) - C-221 ENGINE, 3-9/16 X 3-11/16, FUEL TANK AND SUPPORTS, LP GAS ENGINES (10) - ENGINE

Схема запчастей Case IH 303 - (386) - C-221 ENGINE, 3-9/16 X 3-11/16, FUEL TANK AND SUPPORTS, LP GAS ENGINES (10) - ENGINE
12
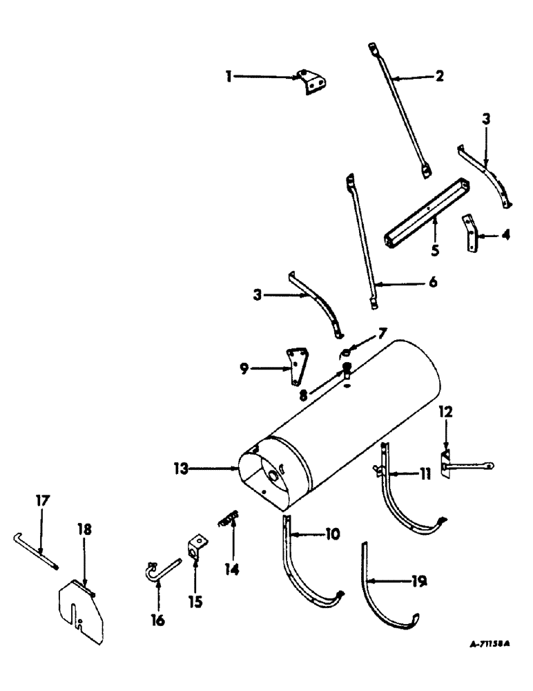
3
14
4
5
9
16
19
10
3
13
17
11
6
15
7
18
2
1
FIT
1:1
100%

Артикул

Название

Примечание

Количество

1

570045R1

PLATE, fuel tank front upper mounting

1шт.

17426R1

BOLT,Hex, 3/8" - 16 x 1", Gr 2

3/8-16 x 1 hex-hd mach

2шт.

179866

BOLT,Hex, 7/16" - 14 x 2", Gr 5

1шт.

102635

NUT,3/8"-16, G5

2шт.

NLS

NO LONGER SERVICED

7/16-14 hex.

1шт.

103321

LOCK WASHER,3/8"

WASHER, LOCK, 3/8"

2шт.

103322

LOCK WASHER,7/16"

WASHER, LOCK, 7/16"

1шт.

W6652

WASHER

15/32 x 1 x 16 ga

1шт.

2

570049R1

BRACE, upper rear fuel tank mounting

1шт.

17426R1

BOLT,Hex, 3/8" - 16 x 1", Gr 2

3/8-16 x 1 hex-hd mach

1шт.

102635

NUT,3/8"-16, G5

1шт.

103321

LOCK WASHER,3/8"

WASHER, LOCK, 3/8"

1шт.

3

570050R91

SUPPORT, upper fuel tank mounting

2шт.

17426R1

BOLT,Hex, 3/8" - 16 x 1", Gr 2

3/8-16 x 1 hex-hd mach

4шт.

17548R1

BOLT, 3/8-16 x 2-1/4 hex-hd mach

2шт.

102635

NUT,3/8"-16, G5

6шт.

103321

LOCK WASHER,3/8"

WASHER, LOCK, 3/8"

6шт.

619856R1

WASHER

13/32 x 1 x 16 ga

4шт.

4

570057R91

SPACER, fuel tank mounting support

1шт.

17446R1

BOLT,3/8" - 16 x 1 1/4", Gr 2

3/8-16 x 1-1/4 hex-hd mach

2шт.

102635

NUT,3/8"-16, G5

2шт.

103321

LOCK WASHER,3/8"

WASHER, LOCK, 3/8"

2шт.

5

570046R1

PLATE, fuel tank mounting rear support joining

1шт.

6

570044R1

BRACE, fuel front upper mounting

1шт.

7

368363R1

CAP W/CHAIN, rain, Optional w/363692R1

1шт.

7

363692R1

CAP W/CHAIN, rain, Optional w/368363R1

1шт.

8

363689R91

VALVE, relief, Optional w/363690R91

1шт.

8

363690R91

VALVE, relief, Optional w/363689R91

1шт.

9

570047R1

PLATE, fuel tank mounting front support joining

1шт.

17426R1

BOLT,Hex, 3/8" - 16 x 1", Gr 2

3/8-16 x 1 hex-hd mach

1шт.

102635

NUT,3/8"-16, G5

1шт.

103321

LOCK WASHER,3/8"

WASHER, LOCK, 3/8"

1шт.

10

570056R91

SUPPORT W/PLATE, fuel tank lower front mounting

1шт.

17412R1

BOLT,Hex, 3/8" - 16 x 3/4", Gr 2

3/8-16 x 3/4 hex-hd mach

2шт.

17426R1

BOLT,Hex, 3/8" - 16 x 1", Gr 2

3/8-16 x 1 hex-hd mach

3шт.

17448R1

BOLT (SPREADER)

BOLT, 1/2-13 x 1-1/4 hex-hd mach

1шт.

102635

NUT,3/8"-16, G5

5шт.

102637

NUT,1/2"-13, G5

1шт.

103321

LOCK WASHER,3/8"

WASHER, LOCK, 3/8"

5шт.

103323

LOCK WASHER,1/2"

WASHER, LOCK, 1/2"

1шт.

11

634111R91

SUPPORT W/SPACER, fuel tank mounting lower rear

1шт.

17412R1

BOLT,Hex, 3/8" - 16 x 3/4", Gr 2

3/8-16 x 3/4 hex-hd mach

2шт.

17426R1

BOLT,Hex, 3/8" - 16 x 1", Gr 2

3/8-16 x 1 hex-hd mach

3шт.

17427R1

BOLT, 7/16-14 x 1 hex-hd mach

1шт.

17448R1

BOLT (SPREADER)

BOLT, 1/2-13 x 1-1/4 hex-hd mach

1шт.

102635

NUT,3/8"-16, G5

5шт.

271500

SOCKET

7/16-14 hex.

1шт.

102637

NUT,1/2"-13, G5

1шт.

103321

LOCK WASHER,3/8"

WASHER, LOCK, 3/8"

3шт.

103322

LOCK WASHER,7/16"

WASHER, LOCK, 7/16"

1шт.

103323

LOCK WASHER,1/2"

WASHER, LOCK, 1/2"

1шт.

12

631559R91

BRACE W/PLATE, fuel tank mounting lower

1шт.

17627R1

BOLT

1/2-13 x 3 hex-hd mach

2шт.

102637

NUT,1/2"-13, G5

2шт.

80679

LOCK WASHER,1/20.507 CST ZND

WASHER, LOCK, 1/2"

2шт.

76730H

WASHER

17/32 x 1-1/2 x 11 ga

5шт.

13

570065R91

TANK W/GAUGES, fuel

1шт.

13

569999R91

TANK, less gauges, fuel

1шт.

14

E5641/2

SPRING, fuel tank cover lock

1шт.

15

661794R1

BRACKET, fuel tank cover lock

1шт.

17428R1

BOLT,Hex, 1/2"-13 x 1", G2, Full Thd

1/2-13 x 1 hex-hd mach

1шт.

102637

NUT,1/2"-13, G5

1шт.

80679

LOCK WASHER,1/20.507 CST ZND

WASHER, LOCK, 1/2"

1шт.

16

661772R1

LOCK, fuel tank cover

1шт.

103384

COTTER PIN,1/8" x 3/4"

Pin, Split (Cotter), 1/8" x 3/4"

1шт.

17

574056R1

ROD, hinge, fuel tank cover

1шт.

103384

COTTER PIN,1/8" x 3/4"

Pin, Split (Cotter), 1/8" x 3/4"

1шт.

18

574057R11

COVER, fuel tank

1шт.

19

564528R1

LINING, fuel tank strap

2шт.

Выбрано товаров: 69