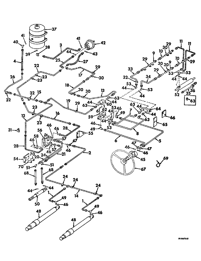
Запчасти Case IH 315 (F-02) - HYDRAULICS SYSTEM, HYDRAULIC SYSTEM, BELT DRIVE (07) - HYDRAULIC SYSTEM

Схема запчастей Case IH 315 - (F-02) - HYDRAULICS SYSTEM, HYDRAULIC SYSTEM, BELT DRIVE (07) - HYDRAULIC SYSTEM
57
29
53
10
47
42
30
46
44
63
41
70
44
53
51
29
44
53
63
46
29
12
37
53
39
59
6
47
13
64
41
24
44
24
44
49
5
24
46
29
63
23
8
25
30
22
20
44
51
65
46
9
27
16
46
30
47
45
14
54
18
69
52
53
32
66
29
30
11
57
21
4
46
44
46
1
24
35
17
3
38
1
19
2
48
68
70
63
32
61
30
49
32
46
23
56
34
11
43
46
60
33
23
44
58
50
29
62
10
68
49
63
9
44
44
23
48
49
28
44
67
26
36
53
44
15
30
55
28
31
46
46
44
40
7
FIT
1:1
100%

Артикул

Название

Примечание

Количество

1

156339C91

HOSE

ASSY, platform lift cyl

2шт.

2

153408C91

TUBE ASSY, platform lift upper, Serial no. 700 and below

1шт.

2

164448C91

TUBE ASSY, platform lift upper, Serial no 701 and above

1шт.

3

156256C91

HOSE ASSY, pump suction

1шт.

4

653301R91

HOSE ASSY, Serial Range: valve-reservoir

2шт.

5

155748C91

TUBE ASSY, steering pump to valve LH

1шт.

6

155749C91

TUBE ASSY, steering pump to vavle RH

1шт.

7

153396C91

TUBE ASSY, steering valve to lock LH

1шт.

8

153395C91

TUBE ASSY, steering valve to lock RH

1шт.

9

153399C91

TUBE ASSY, steering valve to cyl center

2шт.

10

156258C91

TUBE ASSY, steering valve to cyl rear, For use w/wide guide wheel axle, Serial no. 700 and below

2шт.

10

153397C91

TUBE ASSY, steering valve to cyl rear, For use w/narrow guide wheel axle, Serial no 700 and below

1шт.

10

163652C91

TUBE ASSY, steering valve to cylinder rear, Serial no 701 and above

1шт.

11

632455R91

HOSE

ASSY, steering cyl

2шт.

12

153393C91

TUBE ASSY, return front, Serial no. 700 and below

1шт.

12

164447C91

TUBE ASSY, return front, Serial no 701 and above

1шт.

13

153394C91

TUBE ASSY, hyd valve block pressure

1шт.

14

153398C91

TUBE ASSY, platform lift lower

1шт.

15

153400C91

TUBE ASSY, return center

1шт.

16

153401C91

TUBE ASSY, platform lift pressure front

1шт.

17

153402C91

TUBE ASSY, rear pump to hyd steering block, Serial no., Serial Range: 501-2297

1шт.

17

168967C1

TUBE ASSY, upper steering pressure, Serial no 2298 and above

1шт.

18

153403C91

TUBE ASSY, steering pressure center

1шт.

19

153404C91

TUBE ASSY, steering return, Serial no. 700 and below

1шт.

19

164449C91

TUBE ASSY, steering return, Serial no. 701 and above

1шт.

20

153405C91

TUBE ASSY, propulsion control bottom, Serial no. 700 and below

1шт.

20

163350C91

TUBE ASSY, propulsion control slow, Serial no. 701 and above

1шт.

21

153406C91

TUBE ASSY, propulsion control top, Serial no. 700 and below

1шт.

21

163651C91

TUBE ASSY, propulsion control fast, Serial no. 701 and above

1шт.

22

153407C91

TUBE ASSY, platform lift pressure rear

1шт.

23

567895R2

CLIP, tube

1шт.

18474R1

BOLT,Hex, 5/16" - 18 x 1", Gr 2

5/16 x 1 C-Z hex-hd mach

1шт.

120376

NUT,5/16"-18, G5

1шт.

80681

LOCK WASHER,5/16"

WASHER, LOCK, 5/16"

1шт.

24

587501R2

CLAMP

CLIP, tube

1шт.

18474R1

BOLT,Hex, 5/16" - 18 x 1", Gr 2

5/16 x 1 C-Z hex-hd mach

1шт.

18494R1

BOLT,Hex, 3/8" - 16 x 1", Gr 2

3/8 x 1 C-Z hex-hd mach

1шт.

120376

NUT,5/16"-18, G5

1шт.

120377

NUT,3/8" - 16, Gr 5

1шт.

80681

LOCK WASHER,5/16"

WASHER, LOCK, 5/16"

1шт.

120382

LOCK WASHER,Helical Spring, 3/8"

WASHER, LOCK, 3/8"

1шт.

25

156255C91

HOSE ASSY, steering pressure

1шт.

26

156257C91

TUBE ASSY, return rear

1шт.

27

468880R91

HOSE ASSY, platform pressure upper

1шт.

28

631163R91

HOSE ASSY.

HOSE ASSY, platform pressure lower

1шт.

29

589980R2

CLIP

tube

1шт.

12872R1

BOLT,Short NK, 5/16"-18 x 1", G2, Full Thd

CARRIAGE, Short NK, 5/16"-18 x 1", G2, Full Thd

1шт.

18474R1

BOLT,Hex, 5/16" - 18 x 1", Gr 2

5/16 x 1 C-Z hex-hd mach

1шт.

120376

NUT,5/16"-18, G5

1шт.

80681

LOCK WASHER,5/16"

WASHER, LOCK, 5/16"

1шт.

30

935765R1

CLAMP, tube

1шт.

18474R1

BOLT,Hex, 5/16" - 18 x 1", Gr 2

5/16 x 1 C-Z hex-hd mach

1шт.

18494R1

BOLT,Hex, 3/8" - 16 x 1", Gr 2

3/8 x 1 C-Z hex-hd mach

1шт.

120376

NUT,5/16"-18, G5

1шт.

120377

NUT,3/8" - 16, Gr 5

1шт.

80681

LOCK WASHER,5/16"

WASHER, LOCK, 5/16"

1шт.

120382

LOCK WASHER,Helical Spring, 3/8"

WASHER, LOCK, 3/8"

1шт.

31

564563R1

BRACKET

2шт.

18764R1

HARDWARE,Hex, 5/16"-18 x 3/4", G2

BOLT, 5/16 x 3/4 C-Z hex-hd mach

2шт.

120376

NUT,5/16"-18, G5

2шт.

80681

LOCK WASHER,5/16"

WASHER, LOCK, 5/16"

2шт.

32

573099R2

CLIP

tube

1шт.

18474R1

BOLT,Hex, 5/16" - 18 x 1", Gr 2

5/16 x 1 C-Z hex-hd mach

1шт.

120376

NUT,5/16"-18, G5

1шт.

80681

LOCK WASHER,5/16"

WASHER, LOCK, 5/16"

1шт.

33

155441C91

TUBE ASSY, steering lock to cyl upper LH

1шт.

34

155442C91

TUBE ASSY, steering lock to cyl upper RH

1шт.

35

159488C91

TUBE ASSY, steering cyl, For use w/wide guide wheel axle and optional steering cyl 397689R91 only

1шт.

36

702093C1

CABLE TIE

CLAMP, steering cyl tube, For use w/wide guide wheel axle and optional steering cyl 397689R91 only

1шт.

37

RESERVOIR, hydraulic oil, For components see list of detail parts under hydraulic reservior

1шт.

38

150776C91

ELBOW,90 Degree, 1 1/16"-12, 37 Degree x 1 5/16"-12, O-Ring

1-1/16-12 x 1-5/16-12 37 degree hyd flared tube 90 degrees

1шт.

39

296247R1

O-RING,16-1, 90 Duro, 1.171" ID x .116" Thk

1 OD tube

1шт.

40

9410979

ELBOW,90 Degree, 1 1/16"-12, 37 Degree x 1 1/16"-12, O-Ring

1-1/16-12 hyd flared tube 90 degree

1шт.

41

368269R1

O-RING,0.116" Thk x 0.924" ID, -912, Cl 6, 90 Duro

3/4 OD tube

2шт.

42

PUMP ASSY, hydraulic lift, For components see list of detail parts under hydraulic lift pump

1шт.

43

364885R1

O-RING,0.097" Thk x 0.755" ID, -910, Cl 6, 90 Duro

5/8 OD tube

1шт.

44

364839R1

O-RING,0.078" Thk x 0.468" ID, -906, Cl 6, 90 Duro

6-1, 90 Duro, .468" ID x .078" Thk, 3/8 OD tube

13шт.

45

PUMP ASSY, steering, For components see list of detail parts under steering pump

1шт.

180077

BOLT,Hex, 5/16" - 18 x 3/4", Gr 5

SCREW, 5/16 x 3/4 C-Z hex-hd cap

4шт.

80681

LOCK WASHER,5/16"

WASHER, LOCK, 5/16"

4шт.

46

570828R1

O-RING,0.087" Thk x 0.644" ID, -908, Cl 6, 90 Duro

1/2 OD tube

9шт.

47

9410203

HYD CONNECTOR,3/4"-16, 37 Degree x 3/4"-16, O-Ring

CONNECTOR, 3/4-16 37 degree hyd flared tube

3шт.

48

CYLINDER ASSY, platform lift, For components see list of detail parts under platform lift cyl

2шт.

49

9410977

ELBOW,90 Degree, 3/4"-16, 37 Degree x 3/4"-16, O-Ring

3/4-16 37 degree hyd flared tube 90 degree

4шт.

50

CYLINDER ASSY, propulsion control, For components see list of detail parts under propulsion control cyl

1шт.

187988

COTTER PIN,3/16" x 1 1/4"

PIN, SPLIT (COTTER), 3/16" x 1 1/4"

2шт.

21890R1

PIN, 5/8 x 1-3/4 C-Z std-hd

1шт.

21880R1

PIN

5/8 x 1-7/8 C-Z std-hd

1шт.

464623R1

WASHER

21/32 x 1-1/2 x 11 ga C-Z

1шт.

21882R1

WASHER, 21/32 x 1-1/2 x 16 ga C-Z

1шт.

51

156264C91

ELBOW,90º, 7/16"-20, 37º x 9/16"-18, O-Ring

7/16-20 x 9/16-18, 37 degree hyd flare tube 90 degree

2шт.

52

CYLINDER ASSY, steering, For components see list of detail parts under steering cyl 654631R91, Optional w/397689R91 steering cyl

1шт.

52

CYLINDER ASSY, steering, For components see list of detail parts under steering cyl 397689R91, Requires 159488C91 steering cyl tube and 702093C1 steering cyl tube clamp for use w/wide guide wheel axle

1шт.

53

9410976

ELBOW,90 Degree, 9/16"-18, 37 Degree x 9/16"-18, O-Ring

9/16-18 37 degree hyd flared tube 90 degree

6шт.

54

152750C1

SUPPORT, hydraulic valve LH

1шт.

18508R1

CARRIAGE BOLT,Short Nk, 3/8" - 16 x 3/4", Gr 2, Full Thd

BOLT, 3/8 x 3/4 C-Z sq-nk crg

2шт.

120377

NUT,3/8" - 16, Gr 5

2шт.

180130

BOLT,Hex, 3/8" - 16 x 2", Gr 5

SCREW, 3/8 x 2 C-Z hex-hd cap

2шт.

120382

LOCK WASHER,Helical Spring, 3/8"

WASHER, LOCK, 3/8"

4шт.

55

159286C1

ANGLE, hyd valve RH support, Serial no. 700 and below

1шт.

55

164418C1

SUPPORT, hyd valve RH, Serial no. 701 and above

1шт.

18778R1

SCREW,Hex, 3/8"-16 x 3/4", G2

BOLT, 3/8 x 3/4 C-Z hex-hd mach

1шт.

120377

NUT,3/8" - 16, Gr 5

1шт.

180118

BOLT,Hex, 3/8" - 16 x 5/8", Gr 5

SCREW, 3/8 x 5/8 C-Z hex-hd cap

1шт.

120382

LOCK WASHER,Helical Spring, 3/8"

WASHER, LOCK, 3/8"

2шт.

56

VALVE ASSY, hydraulic control, For components see list of detail parts under hydraulic control valve

1шт.

57

629349R1

HYD CONNECTOR,7/16"-20, 37 Degree x 3/4"-16, O-Ring

CONNECTOR, 7/16-20 x 3/4-16 37 degree hyd flared tube

2шт.

58

587577R1

CONNECTION,1 1/16"-12, 37 Degree x 3/4"-16, O-Ring

CONNECTOR, 7/8-14 x 3/4-16 37 degree hyd flared tube valve return port

1шт.

59

VALVE ASSY, steering, For components see list of detail parts under steering valve

1шт.

18781R1

BOLT,Hex, 3/8"-16 x 2", G2

3/8 x 2 C-Z hex-hd mach

2шт.

180122

BOLT,Hex, 3/8" - 16 x 1", Gr 5

3/8 x 1 C-Z hex-hd cap

1шт.

120377

NUT,3/8" - 16, Gr 5

2шт.

120382

LOCK WASHER,Helical Spring, 3/8"

WASHER, LOCK, 3/8"

2шт.

60

633383R1

BLOCK, steering valve mounting

1шт.

61

362796R1

O-RING,0.924" ID x 0.103" Width

15/16 x 1-1/8 x 3/32

1шт.

62

369908R1

O-RING,0.103" Thk x 0.799" ID, -117, Cl 5, 75 Duro

13/16 x 1 x 3/32

1шт.

63

9410202

HYD CONNECTOR,9/16"-18, 37 Degree x 9/16"-18, O-Ring

CONNECTOR, 9/16-18 37 degree hyd flared tube

5шт.

64

VALVE ASSY, steering hydraulic check for components see list of detail parts under steering hydraulic check valve

1шт.

18783R1

BOLT,Hex, 3/8"-16 x 2 1/2", G2

3/8 x 2-1/2 C-Z hex-hd mach

2шт.

120377

NUT,3/8" - 16, Gr 5

2шт.

120382

LOCK WASHER,Helical Spring, 3/8"

WASHER, LOCK, 3/8"

2шт.

65

161148C1

STRAP, steering hyd check valve

1шт.

66

161149C1

STRAP, steering valve

1шт.

67

WHEEL, steering, Refer to steering cover and wheel unit for listing

1шт.

68

162305C91

HOSE

ASSY, propulsion control cylinder, Serial no. 701 and above

2шт.

69

702093C1

CABLE TIE

CLAMP, Serial no. 701 and above

1шт.

70

K11064

SPACER,3/8" Pipe x 1 1/4"

valve support LH, Serial no. 701 and above

1шт.

Выбрано товаров: 127