Запчасти Case IH 315 (F-11) - HYDRAULICS SYSTEM, PLATFORM AUTOMATIC CONTROL (07) - HYDRAULIC SYSTEM

Схема запчастей Case IH 315 - (F-11) - HYDRAULICS SYSTEM, PLATFORM AUTOMATIC CONTROL (07) - HYDRAULIC SYSTEM
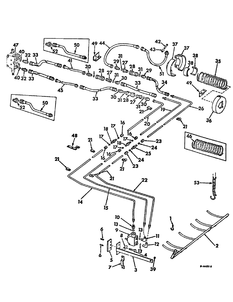
17
49
27
1
28
23
49
31
19
27
42
45
44
21
48
24
33
6
51
13
50
28
20
26
30
21
4
46
33
21
14
23
27
21
9
17
25
53
21
32
37
12
38
30
41
28
16
31
30
3
24
43
17
7
15
18
8
32
38
36
47
50
18
6
31
40
52
35
21
34
29
22
37
10
16
31
13
17
2
13
29
30
33
40
16
39
33
52
11
31
5
16
FIT
1:1
100%

Артикул

Название

Примечание

Количество

1

159780C1

EYEBOLT,3/8" - 16 x 2.20", Full Thd

BOLT, automatic control finger eye

10шт.

120377

NUT,3/8" - 16, Gr 5

10шт.

124829

JAM NUT,Hex, 3/8" - 16, Gr 5

10шт.

2

159782C91

FINGER ASSY, platform control, 10 ft, 13 ft and 14 ft platforms

1шт.

2

165584C91

FINGER ASSY, platform control, 16 ft platform

1шт.

18495R1

BOLT,Hex, 3/8" - 16 x 1 1/4", Gr 2

3/8 x 1-1/4 C-Z hex-hd mach

1шт.

120377

NUT,3/8" - 16, Gr 5

1шт.

120382

LOCK WASHER,Helical Spring, 3/8"

WASHER, LOCK, 3/8"

1шт.

469668R1

WASHER

13/32 x 3/4 x 16 ga C-Z

1шт.

3

936751R91

BAR ASSY, valve control

1шт.

18770R1

BOLT,Hex, 5/16"-18 x 2 3/4", G2

5/16 x 2-3/4 C-Z hex-hd mach

2шт.

425-145

JAM NUT,Jam, 5/16"-18, G5

5/16 C-Z hex. jam

4шт.

619855R1

WASHER

11/32 x 3/4 x 16 ga C-Z

1шт.

4

159711C1

BOLT, bar and spring retainer

1шт.

120377

NUT,3/8" - 16, Gr 5

1шт.

5

936759R1

BAR, spring retainer

1шт.

6

15258E

SPRING

valve control bar

2шт.

7

936758R1

STRAP, valve control bar retainer

1шт.

120376

NUT,5/16"-18, G5

2шт.

272409

BODY

SCREW, 5/16 x 5 C-Z hex-hd cap

2шт.

80681

LOCK WASHER,5/16"

WASHER, LOCK, 5/16"

2шт.

668569R1

WASHER

11/32 x 1-1/2 x 11 ga C-Z

1шт.

8

150596C1

SPACER,1/2" Tube x 1 3/16"

control valve

2шт.

9

VALVE ASSY, platform automatic hyd, For components see list of parts under details of platform automatic hyd valve

1шт.

10

574478R1

UNION

CONNECTOR, 37 degree hyd flared tube lower return tube

1шт.

11

157550C91

ELBOW, 90 degree lower pressure tube

1шт.

12

9410977

ELBOW,90 Degree, 3/4"-16, 37 Degree x 3/4"-16, O-Ring

3/4-16-37 degree hyd flared tube 90 degree lower cyl tube

1шт.

13

570828R1

O-RING,0.087" Thk x 0.644" ID, -908, Cl 6, 90 Duro

.644 id x .087

3шт.

14

159540C91

TUBE ASSY, control valve return lower

1шт.

15

159539C91

TUBE ASSY, control valve pressure lower

1шт.

16

9409525

NUT, 7/8-14 hyd flareless tube

4шт.

17

272986

HUB

FERRULE, 5/8 hyd flareless tube

4шт.

18

9409301

UNION, 7/8-14 hyd flareless tube

2шт.

19

155576C91

TUBE ASSY, control valve pressure upper, 10 ft, 13 ft and 14 ft platforms

1шт.

19

165637C91

TUBE ASSY, control valve pressure upper, 16 ft platform

1шт.

20

155575C91

TUBE ASSY, control valve return upper, 10 ft, 13 ft and 14 ft platforms

1шт.

20

165636C91

TUBE ASSY, control valve return upper, 16 ft platform

1шт.

21

567895C2

CLIP, hyd tube, For 5/8 OD tube

12шт.

21

587501R2

CLAMP

CLIP, hyd tube for 1/2 OD tube

6шт.

12872R1

BOLT,Short NK, 5/16"-18 x 1", G2, Full Thd

CARRIAGE, Short NK, 5/16"-18 x 1", G2, Full Thd

4шт.

18474R1

BOLT,Hex, 5/16" - 18 x 1", Gr 2

5/16 x 1 C-Z hex-hd mach

1шт.

120376

NUT,5/16"-18, G5

5шт.

80681

LOCK WASHER,5/16"

WASHER, LOCK, 5/16"

5шт.

22

159538C91

TUBE ASSY, control valve to cyl lower

1шт.

23

9409524

NUT,3/4"-16, Flareless

3/4-16 hyd flareless tube

2шт.

24

272985

HOUSING

FERRULE, 1/2 hyd flareless tube

2шт.

25

9409300

HYD CONNECTOR,Flareless, 3/4"-16

UNION, 3/4-16 hyd flareless tube

1шт.

26

155574C91

TUBE ASSY, control valve to cyl upper, 10 ft, 13 ft and 14 ft platforms

1шт.

26

165635C91

TUBE ASSY, control valve to cylinder upper, 16 ft platform

1шт.

27

395149R1

QUICK MALE COUPLING

COUPLING ASSY, self sealing male

3шт.

28

395150R91

COUPLING, QUICK, FEM

COUPLING ASSY, self sealing female

3шт.

29

481352R1

HYD CONNECTOR,3/4"-16, 37 Degree x 7/8"-14, O-Ring

CONNECTOR, 7/8-14 37 degree hyd flared tube

2шт.

30

9410204

HYD CONNECTOR,7/8"-14, 37 Degree x 7/8"-14, O-Ring

CONNECTOR, 7/8-14 37 degree hyd flared tube for 5/8 pipe

4шт.

31

364885R1

O-RING,0.097" Thk x 0.755" ID, -910, Cl 6, 90 Duro

5/8 OD tube

6шт.

32

574478R1

UNION

CONNECTOR, For 5/8 tube to 1/2 port

2шт.

33

155255C91

HOSE

ASSY, flow control valve

4шт.

34

587582R91

HOSE ASSY.

HOSE ASSY, flow control, Serial Range: valve-cyl

1шт.

35

936760R2

SPRING, lift cyl, standard

2шт.

36

936778R2

FLANGE

spring front

2шт.

576517R1

LOCK PIN,1/4" x 1 1/2", Slotted

Pin, 1/4" x 1 1/2", Slotted

4шт.

37

936779R2

FLANGE, spring rear

4шт.

18811R1

BOLT,Hex, 1/2" - 13 x 2 3/4", Gr 2

1/2 x 2-3/4 C-Z hex-hd mach

4шт.

120378

NUT,Hex, 1/2" - 13, Gr 5

NUT, 1/2"-13, G5

4шт.

576517R1

LOCK PIN,1/4" x 1 1/2", Slotted

Pin, 1/4" x 1 1/2", Slotted

4шт.

120384

WASHER,1/2"

LOCK, 1/2"

4шт.

38

154675C1

BAR, spring rear flange filler

4шт.

39

556587R1

SPACER

valve control bar

1шт.

40

570828R1

O-RING,0.087" Thk x 0.644" ID, -908, Cl 6, 90 Duro

1/2 OD tube

2шт.

41

156246C91

TUBE ASSY, pressure, Serial Range: valve-coupling

1шт.

42

473039R1

PIN, platform lift cylinder

1шт.

20328R1

COTTER PIN,3/16" x 1 1/2"

3/16" x 1 1/2"

2шт.

43

557056R1

SPACER,1" Pipe x 1"

2шт.

44

161032R91

TUBE ASSY, to platform lift cyl

1шт.

45

161031C91

TUBE ASSY, valve return

1шт.

46

159710C1

SPRING

lift cyl helper, heavy duty

2шт.

47

VALVE ASSY, platform lift, Refer to platform lift valve unit for listing

1шт.

48

161030C1

SUPPORT, hydraulic tube clip holder

1шт.

12872R1

BOLT,Short NK, 5/16"-18 x 1", G2, Full Thd

CARRIAGE, Short NK, 5/16"-18 x 1", G2, Full Thd

6шт.

120376

NUT,5/16"-18, G5

6шт.

80681

LOCK WASHER,5/16"

WASHER, LOCK, 5/16"

6шт.

49

159549C1

BARCKET, cylinder tube clip

2шт.

18474R1

BOLT,Hex, 5/16" - 18 x 1", Gr 2

5/16 x 1 C-Z hex-hd mach

1шт.

120376

NUT,5/16"-18, G5

1шт.

80681

LOCK WASHER,5/16"

WASHER, LOCK, 5/16"

1шт.

50

381171R91

HOSE ASSY, flow control valve hose extension, extra long feeder and platform wedge attachment

1шт.

51

675282R91

HOSE

ASSY, flow control valve to cylinder hose connection, extra long feeder and platform wedge attachment

1шт.

52

9403217

HYD CONNECTOR,7/8"-14, 37 Degree

UNION, 7/8-14 37 degree hydraulic flared tube

2шт.

53

167570C1

CHAIN,203.2mm L

finger stop

1шт.

18655R1

BOLT,Hex, 1/4"-20 x 1", G2

1/4 x 1 znd mach

1шт.

120375

NUT,Hex, 1/4" - 20, Gr 5

1шт.

21870R1

WASHER

17/64 x 3/4 x 16 ga C-Z

2шт.

Выбрано товаров: 0