Запчасти Case IH 315 (F-17) - HYDRAULICS SYSTEM, HYDRAULIC MOTOR, FOR HYDROSTATIC GROUND DRIVE (07) - HYDRAULIC SYSTEM

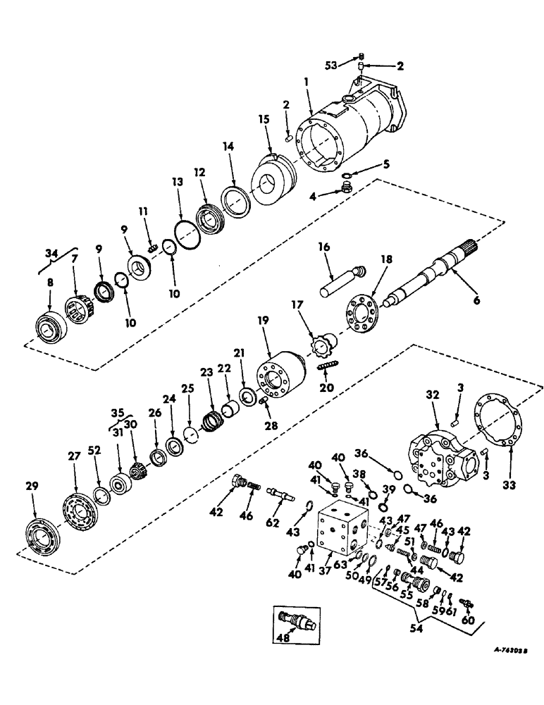
Схема запчастей Case IH 315 - (F-17) - HYDRAULICS SYSTEM, HYDRAULIC MOTOR, FOR HYDROSTATIC GROUND DRIVE (07) - HYDRAULIC SYSTEM
43
47
62
28
26
53
23
42
29
45
33
57
22
36
32
5
41
30
38
46
2
24
12
41
17
10
20
1
42
58
41
42
19
4
60
15
63
18
50
36
16
39
55
49
21
51
43
10
40
37
2
56
27
9
9
40
59
61
14
31
43
40
25
44
6
7
3
34
46
47
48
52
54
8
3
13
11
35
FIT
1:1
100%

Артикул

Название

Примечание

Количество

150620C91

MOTOR ASSY, ground drive, Not for use w/foot-n-inch control

1шт.

403346R91

MOTOR

ASSY, ground drive, For use w/foot-n-inch control

1шт.

180179

BOLT,Hex, 1/2" - 13 x 1 3/4", Gr 5

SCREW, 1/2 x 1-3/4 C-Z hex-hd cap

4шт.

120384

WASHER,1/2"

LOCK, 1/2"

4шт.

607895R1

WASHER

17/32 x 1 x 11 ga C-Z

4шт.

1

394148R1

HOUSING, hyd motor

1шт.

2

394825R1

DOWEL

PIN, 3/8 x 1/2 dowel

2шт.

3

21061R1

DOWEL,3/8" x 1/2"

PIN, 3/8 x 1/2 dowel

2шт.

4

9410360

PLUG

7/8-14 C-Z str-thd

1шт.

5

364885R1

O-RING,0.097" Thk x 0.755" ID, -910, Cl 6, 90 Duro

3/4 x 15/16 x 3/32

1шт.

6

394149R1

SHAFT, hyd motor drive

1шт.

7

BEARING ASSY, drive shaft front cone, Not serviced seperately order bearing assy 394150R91

1шт.

8

BEARING ASSY, drive shaft front cup, Not serviced separately order bearing assy 394150R91

1шт.

9

403072R91

SEAL KIT

PACKAGE, o-ring and seal

1шт.

10

393880R1

RING

O-RING, 1-9/16 x 1-3/4 x 3/32

2шт.

11

393882R1

SPRING

drive shaft face seal retainer

6шт.

12

393881R91

RETAINER

ASSY, drive shaft face seal

1шт.

13

707720R1

O-RING

3 x 3-1/4 x 1/8

1шт.

14

393883R1

SNAP RING,3.346", Int, #334

Ring, Snap, , drive shaft face seal 3.346", Int, #334

1шт.

15

394152R1

PLATE

SWASHPLATE, hyd motor

1шт.

16

394153R91

SPARE PART

PISTON ASSY, cyl block

9шт.

17

394154R1

GUIDE

cyl block piston slipper

1шт.

18

394155R1

RETAINER

cyl block piston slipper guide

1шт.

19

394156R91

CYLINDER BLOCK

BLOCK ASSY, piston cyl

1шт.

20

394157R1

SPRING

slipper retainer

9+шт.

21

394158R1

SEAT

piston cyl block spring

1шт.

22

394159R1

GUIDE

BUSHING, drive shaft rear spring

1шт.

23

394160R1

SPRING

cylinder block

1шт.

24

394161R1

RETAINER

drive shaft rear spring

1шт.

25

21015R1

SNAP RING,#212, 2.217, Int, Spiral

RING, drive shaft rear spring retainer snap

1шт.

26

394162R1

RING

cyl block brg plate pilot

1шт.

27

404201R1

PLATE

cyl block brg

1шт.

28

394164R1

PIN

cyl block brg valve

1шт.

29

394165R1

PLATE

cyl block valve

1шт.

30

BEARING ASSY, drive shaft rear pilot cone, Not serviced separately order bearing assy 394166R91

1шт.

31

BEARING ASSY, drive shaft rear pilot cup, Not serviced separately order bearing assy 394166R91

1шт.

32

530729R1

END CAP, motor, will work for 394169R1

1шт.

179847

BOLT,Hex, 3/8" - 16 x 2", Gr 5

3шт.

280161

BOLT,Hex, 3/8" - 16 x 3", Gr 5

5шт.

394881R1

WASHER

13/32 x 11/16 x .106

8шт.

33

394170R1

GASKET

motor rear end cover

1шт.

34

394150R91

BEARING, ROLLER

BEARING ASSY, drive shaft front

1шт.

35

394166R91

BEARING ASSY,0.75" ID x 2.125" OD x 0.878, 0.625"

BEARING ASSY, drive shaft rear pilot

1шт.

36

393886R1

WASHER

WASHER, manifold valve

2шт.

394171R91

VALVE

ASSY, hyd motor manifold, less relief valve, Includes ref nos. 37 through 47 and 51

1шт.

186271

SCREW,Hex, 5/16" - 18 x 3 3/4", Gr 5

BOLT, Hex, 5/16"-18 x 3 3/4", G5

6шт.

394880R1

WASHER

11/32 x 19/32 x .083

6шт.

37

529426R1

HOUSING

ASSY, manifold, Replaces 405479R1, Includes ref no. 62

1шт.

38

383219R1

O-RING,0.924" ID x 0.103" Width

7/8 x 1 x 1/16 manifold valve housing small

1шт.

39

383219R1

O-RING,0.924" ID x 0.103" Width

15/16 x 1-1/8 x 3/32 manifold valve housing large

2шт.

40

9410356

PLUG

7/16-20 C-Z str thd o-ring boss manifold valve housing

3шт.

41

369751R1

O-RING,0.072" Thk x 0.351" ID, -904, Cl 6, 90 Duro

4-1, 90 Duro, .351" ID x .072" Thk, Manifold valve housing boss plug

3шт.

42

394173R1

PLUG

manifold shuttle valve

3шт.

43

364885R1

O-RING,0.097" Thk x 0.755" ID, -910, Cl 6, 90 Duro

3/4 x 15/16 x 3/32 shuttle valve plug

3шт.

44

394174R1

SPRING

manifold relief valve

1шт.

45

394175R1

PISTON

manifold relief valve

1шт.

46

394176R1

SPRING

manifold shuttle valve

2шт.

47

394177R1

WASHER

manifold shuttle valve

2шт.

48

394178R91

VALVE ASSY, high pressure relief, For use w/150620R91 motor assy

2шт.

49

297459R1

O-RING,0.116" Thk x 1.048" ID, -914, Cl 6, 90 Duro

1-3/64 x 1-7/32 x 7/64 relief valve large

2шт.

50

20947R1

O-RING,0.103" Thk x 0.799" ID, -117, Cl 6, 90 Duro

13/16 x 1 x 3/32 relief valve small

2шт.

51

394279R91

KIT

PACKAGE, relief valve shim

1шт.

52

404197R1

SHIM

motor shaft rear brg .010, Used as required

1шт.

53

444687

PLUG,Hex Soc, 1/8"-27

Pipe Hex Soc, 1/8"-27

1шт.

54

402626R92

VALVE

ASSY, high pressure relief, For use w/403346C91 motor assy, Includes ref no. 55 thur 61

1шт.

55

BODY, Not serviced separately order 402626R92 valve assy ref no. 54

1шт.

56

396072R1

SPRING

spool return

1шт.

57

402362R1

RING, spool retaining

1шт.

58

402629R1

BUSHING

ball guide

1шт.

59

17008R1

BALL,1/4" Dia

Chrome-Steel 1/4" Dia

1шт.

60

402630R2

CONNECTOR, ELEC

CONNECTOR, 37 degree flared tube special

1шт.

61

369751R1

O-RING,0.072" Thk x 0.351" ID, -904, Cl 6, 90 Duro

4-1, 90 Duro, .351" ID x .072" Thk, 1/4 OD tube

1шт.

62

SPOOL, shuttle valve, Not serviced separately order 529426R1 housing ref no. 37

1шт.

63

393887R1

BACK-UP RING

RING, relief valve back-up

4шт.

393884R91

KIT

PACKAGE, manifold valve housing seal, Composed of

1шт.

393886R1

WASHER

WASHER

2шт.

383219R1

O-RING,0.924" ID x 0.103" Width

15/32 x 1-1/8 x 3/32

2шт.

610547C1

O-RING,0.07" Thk x 0.864" ID, -20, Cl 7, 75 Duro

7/8 x 1 x 1/16

1шт.

393885R91

GASKET KIT

PACKAGE, relief valve seal, Composed of

1шт.

393887R1

BACK-UP RING

RING

2шт.

20947R1

O-RING,0.103" Thk x 0.799" ID, -117, Cl 6, 90 Duro

13/16 x 1 x 3/32

1шт.

297459R1

O-RING,0.116" Thk x 1.048" ID, -914, Cl 6, 90 Duro

1-3/64 x 1-7/32 x 7/64

1шт.

Выбрано товаров: 0