Запчасти Case IH 315 (F-20) - HYDRAULICS SYSTEM, HYDRAULIC REEL LIFT ATTACHMENT (07) - HYDRAULIC SYSTEM

Схема запчастей Case IH 315 - (F-20) - HYDRAULICS SYSTEM, HYDRAULIC REEL LIFT ATTACHMENT (07) - HYDRAULIC SYSTEM
2
46
4
15
26
47
11
12
5
7
35
18
50
27
17
48
27
3
20
25
24
53
8
22
6
14
39
23
15
1
19
30
34
45
19
9
52
38
42
13
40
10
21
29
17
18
28
43
37
41
44
31
49
37
16
19
18
44
51
36
18
43
33
32
19
FIT
1:1
100%

Артикул

Название

Примечание

Количество

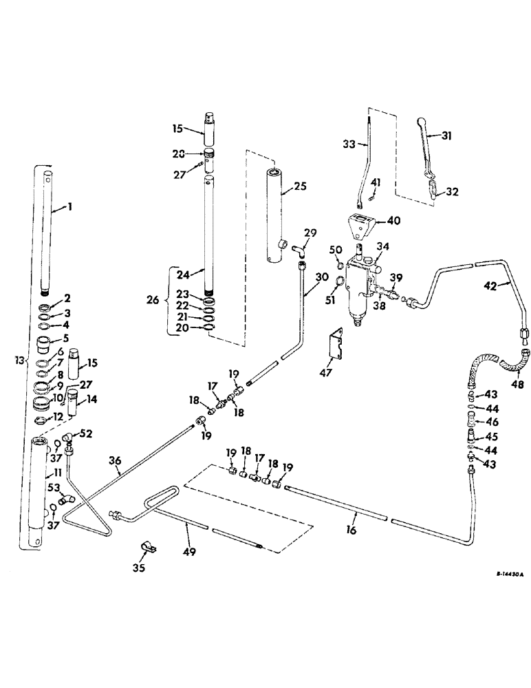
1

161331C1

ROD

piston

1шт.

2

SEAL, shaft, Order repair kit 161334C91

1шт.

3

WASHER, back-up, Order repair kit 161334C91

1шт.

4

O-RING, Order repair kit 161334C91

1шт.

5

161333C1

HEAD

BEARING

1шт.

6

O-RING, Order repair kit 161334C91

1шт.

7

O-RING, Order repair kit 161334C91

1шт.

8

RING, piston, Order repair kit 161334C91

1шт.

9

O-RING, Order repair kit 161334C91

1шт.

10

161332C1

PISTON

1шт.

11

BARREL ASSY, Not serviced seperately, Order cylinder assy 158749C91

1шт.

12

NUT, lock 3/4-16 jam

1шт.

13

158749C91

CYLINDER

ASSY, left reel lift, Includes ref. nos. 1 thru 12

1шт.

18481R1

COTTER PIN,3/16" x 1"

PIN, SPLIT (COTTER), 3/16" x 1"

1шт.

22804R1

HEADED PIN,1/2" x 2 1/2"

PIN, 1/2 x 2-1/2 C-Z std hd

1шт.

21942R1

HEADED PIN,1/2" x 3 3/4"

PIN, 1/2 x 3-3/4 C-Z std hd

1шт.

161334C91

KIT

seal repair

1шт.

14

607020R1

EXTENSION, lift cyl inner left, for pickup reels

1шт.

15

607019R1

EXTENSION, lift cyl outer, for pickup reels

2шт.

16

155619C91

TUBE ASSY, reel lift left upper

1шт.

17

9409299

UNION, 9/16-18 hyd flareless tube

2шт.

18

222-1584

FERRULE,Flareless, 3/8" Tube

FERRULE, 3/8 hyd flareless tube

4шт.

19

9409523

NUT, 9/16-18 hyd flareless tube

4шт.

20

SNAP RING, Order repair kit 609986R91

1шт.

21

O-RING, Order repair kit 609986R91

1шт.

22

WASHER, back-up, Order repair kit 609986R91

1шт.

23

SEAL ASSY, Order repair kit 609986R91

1шт.

24

609985R1

ROD

piston

1шт.

25

609984R91

BARREL ASSY

1шт.

26

610899R92

CYLINDER BLOCK

CYLINDER ASSY, right reel lift, Includes ref no. 20 thru 25

1шт.

18481R1

COTTER PIN,3/16" x 1"

PIN, SPLIT (COTTER), 3/16" x 1"

1шт.

22804R1

HEADED PIN,1/2" x 2 1/2"

PIN, 1/2 x 2-1/2 C-Z std hd

1шт.

21942R1

HEADED PIN,1/2" x 3 3/4"

PIN, 1/2 x 3-3/4 C-Z std hd

1шт.

27

550874R1

PIN, inner extension, for pickup reels

2шт.

28

607021R1

EXTENSION, lift cyl inner right, for pickup reels

1шт.

29

9402864

ELBOW,90 Degree, 9/16"-18, 37 Degree x 1/4"-18, NPTF

9/16-18 37 degree hyd flared tube 90 degree

1шт.

30

155517C91

TUBE ASSY, reel lift lower right, 10 ft, 13 ft and 14 ft platforms

1шт.

30

165633C91

TUBE ASSY, reel lift lower right, 16 ft platform

1шт.

31

152632C2

LEVER, reel control

1шт.

121222

COTTER PIN,3/32" x 3/4"

PIN, SPLIT (COTTER), 3/32" x 3/4"

1шт.

21881R1

CLEVIS PIN

PIN, 3/8 x 1 C-Z rod end

1шт.

32

104038

ADJUSTABLE CLEVIS,3/8"-24 x 2 1/2"

CLEVIS, 3/8-24 x 2-1/2 adj rod end

1шт.

121222

COTTER PIN,3/32" x 3/4"

PIN, SPLIT (COTTER), 3/32" x 3/4"

1шт.

138084

SPLIT PIN/SAFETY PIN

PIN, 3/8 x 1-3/32 C-Z rod end

1шт.

33

152634C1

ROD, reel lift control

1шт.

121222

COTTER PIN,3/32" x 3/4"

PIN, SPLIT (COTTER), 3/32" x 3/4"

1шт.

21881R1

CLEVIS PIN

PIN, 3/8 x 1 C-Z rod end

1шт.

34

VALVE ASSY, hydraulic, For components see list of parts under details of reel lift valve

1шт.

35

589980R2

CLIP

hyd tube

10шт.

18474R1

BOLT,Hex, 5/16" - 18 x 1", Gr 2

5/16 x 1 C-Z hex-hd mach

6шт.

120376

NUT,5/16"-18, G5

6шт.

80681

LOCK WASHER,5/16"

WASHER, LOCK, 5/16"

6шт.

36

155618C91

TUBE ASSY, reel lift lower center

1шт.

37

364839R1

O-RING,0.078" Thk x 0.468" ID, -906, Cl 6, 90 Duro

6-1, 90 Duro, .468" ID x .078" Thk, 3/8 OD tube

2шт.

38

570828R1

O-RING,0.087" Thk x 0.644" ID, -908, Cl 6, 90 Duro

1/2 OD tube

1шт.

39

587639R1

HYD CONNECTOR,9/16"-18, 37 Degree x 3/4"-18, O-Ring

CONNECTOR

1шт.

40

152635C1

CHANNEL, hydraulic reel control pivot

1шт.

16897R1

CARRIAGE BOLT,Short Nk, 5/16" - 18 x 3/4", Gr 2, Full Thd

BOLT, 5/16 x 3/4 C-Z sq-nk crg B

2шт.

18780R1

BOLT,Hex, 3/8"-16 x 1 3/4", G2

3/8 x 1-3/4 C-Z hex-hd mach

1шт.

120376

NUT,5/16"-18, G5

2шт.

120377

NUT,3/8" - 16, Gr 5

1шт.

80681

LOCK WASHER,5/16"

WASHER, LOCK, 5/16"

2шт.

120382

LOCK WASHER,Helical Spring, 3/8"

WASHER, LOCK, 3/8"

1шт.

41

152647C1

BUSHING, control lever

1шт.

42

159978C91

TUBE ASSY, upper pressure

1шт.

43

935433R1

HYD CONNECTOR,9/16"-18, 37 Degree x 7/8"-14, O-Ring

CONNECTOR, 7/8-14 37 degree hyd flared tube for 3/8 OD tube

2шт.

44

364885R1

O-RING,0.097" Thk x 0.755" ID, -910, Cl 6, 90 Duro

5/8 OD tube

2шт.

45

395149R1

QUICK MALE COUPLING

COUPLING, self-sealing male

1шт.

46

395150R91

COUPLING, QUICK, FEM

COUPLING ASSY, self-sealing female

1шт.

47

159287C1

SUPPORT, hyd valve RH, For use w/belt drive trnsmission, Serial no., Serial Range: 501-700

1шт.

18508R1

CARRIAGE BOLT,Short Nk, 3/8" - 16 x 3/4", Gr 2, Full Thd

BOLT, 3/8 x 3/4 C-Z sq-nk crg

2шт.

120377

NUT,3/8" - 16, Gr 5

2шт.

120382

LOCK WASHER,Helical Spring, 3/8"

WASHER, LOCK, 3/8"

2шт.

48

632454R91

HYDRAULIC HOSE,0.31" ID x 30.00", SAE 100R1 Class B

HOSE ASSY, reel lift

1шт.

49

155658C91

TUBE ASSY, reel lift lower, 10 ft, 13 ft and 14 ft platform

1шт.

49

165634C91

TUBE ASSY, reel lift lower, 16 ft platforms

1шт.

50

587579R1

O-RING

3/4 x 7/8 x 1/16

10шт.

51

587594R1

O-RING

1-1/2 x 1-11/16 x 3/32

1шт.

52

9410976

ELBOW,90 Degree, 9/16"-18, 37 Degree x 9/16"-18, O-Ring

9/16-18 37 degree hyd flared tube 90 degree

1шт.

53

9411104

ELBOW,45 Degree, 9/16"-18, 37 Degree x 9/16"-18, O-Ring

9/16-18 37 degree hyd flared tube adj str thd 45 degree

1шт.

161334C91

KIT

ASSY, seal repair

1шт.

Выбрано товаров: 81