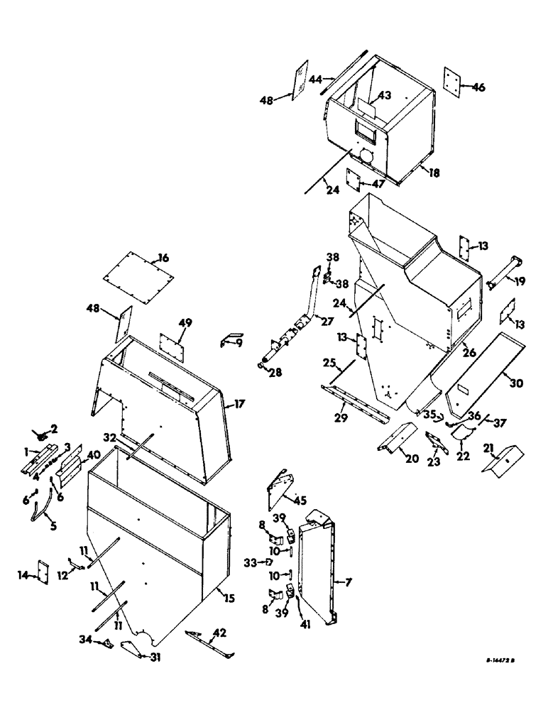
Запчасти Case IH 315 (T-02) - GRAIN HOPPER AND BAGGER, GRAIN TANK Grain Tank

Схема запчастей Case IH 315 - (T-02) - GRAIN HOPPER AND BAGGER, GRAIN TANK Grain Tank
28
22
31
49
8
10
42
48
38
3
13
23
7
6
14
15
36
38
33
13
37
44
30
11
25
11
19
24
24
1
11
20
16
6
18
27
32
13
39
47
35
12
29
34
21
39
17
48
2
45
8
41
5
10
40
43
26
46
FIT
1:1
100%

Артикул

Название

Примечание

Количество

1

152189C91

REINFORCEMENT ASSY, LH grain tank

1шт.

16897R1

CARRIAGE BOLT,Short Nk, 5/16" - 18 x 3/4", Gr 2, Full Thd

BOLT, 5/16 x 3/4 C-Z sq-nk crg

2шт.

120376

NUT,5/16"-18, G5

2шт.

19938R1

PIN,1/8" x 7/8", Coiled

1шт.

80681

LOCK WASHER,5/16"

WASHER, LOCK, 5/16"

2шт.

178374R1

WASHER

17/32 x 1-1/4 x 16 ga C-Z

1шт.

2

152191C91

LEVER ASSY, grain tank lock

1шт.

19938R1

PIN,1/8" x 7/8", Coiled

2шт.

3

152195C1

BRACE, grain tank clamp anchor

1шт.

4

152196C1

BRACE, grain tank clamp hook

1шт.

18696R1

CARRIAGE BOLT,Short Sq Nk, 7/16" - 14 x 1 1/2", Gr 2

BOLT, 7/16 x 1-1/2 C-Z sq-nk crg

1шт.

NLS

NO LONGER SERVICED

NUT, 7/16 C-Z hex

1шт.

120383

LOCK WASHER,Helical Spring, 7/16"

WASHER, LOCK, 7/16"

1шт.

5

153176C1

LINK, grain tank lock

1шт.

87395

COTTER PIN,1/8" OD x 1-1/4" OAL

PIN, SPLIT (COTTER), 1/8" x 1-1/4"

1шт.

21882R1

WASHER, 21/32 x 1-1/2 x 16 ga C-Z

2шт.

6

PO22

SPRING

grain tank lock link

2шт.

7

151950C91

SUPPORT ASSY, LH grain tank rear

1шт.

18763R1

BOLT,Hex, 5/16" - 18 x 1/2", Gr 2

5/16 x 1/2 C-Z hex-hd mach

8шт.

18763R1

BOLT,Hex, 5/16" - 18 x 1/2", Gr 2

5/16 x 1/2 C-Z hex-hd mach

8шт.

17351R1

CARRIAGE BOLT,Short Sq Nk, 3/8" - 16 x 1", Gr 2

BOLT, 3/8 x 1 C-Z sq-nk crg

9шт.

18810R1

BOLT,Hex, 1/2" - 13 x 2 1/4", Gr 2

1/2 x 2-1/4 C-Z hex-hd mach

14шт.

120377

NUT,3/8" - 16, Gr 5

9шт.

271501

SOCKET

NUT, 7/16 C-Z hex

4шт.

120378

NUT,Hex, 1/2" - 13, Gr 5

NUT, 1/2"-13, G5

1шт.

80681

LOCK WASHER,5/16"

WASHER, LOCK, 5/16"

8шт.

120382

LOCK WASHER,Helical Spring, 3/8"

WASHER, LOCK, 3/8"

9шт.

120383

LOCK WASHER,Helical Spring, 7/16"

WASHER, LOCK, 7/16"

4шт.

120384

WASHER,1/2"

LOCK, 1/2"

1шт.

20803R1

WASHER

13/32 x 1 x 11 ga C-Z

7шт.

21883R1

WASHER

17/32 x 1-3/4 x 11 ga C-Z

1шт.

8

151958C91

SUPPORT ASSY, LH grain tank hopper hinge

2шт.

18695R1

CARRIAGE BOLT,Short Sq Nk, 7/16" - 14 x 1 1/4", Gr 2

BOLT, 7/16 x 1-1/4 C-Z sq-nk crg

6шт.

18696R1

CARRIAGE BOLT,Short Sq Nk, 7/16" - 14 x 1 1/2", Gr 2

BOLT, 7/16 x 1-1/2 C-Z sq-nk crg

2шт.

NLS

NO LONGER SERVICED

NUT, 7/16 C-Z hex.

8шт.

120383

LOCK WASHER,Helical Spring, 7/16"

WASHER, LOCK, 7/16"

8шт.

21029R1

WASHER

15/32 x 1 x 11 ga C-Z

8шт.

9

164314C1

BRACE, grain tank stop

1шт.

18708R1

BOLT,Short NK, 1/2"-13 x 1 3/4", G2

1/2 x 1-3/4 C-Z sq-nk crg

1шт.

120238R1

NUT, 1/2 C-Z hex jam

1шт.

120384

WASHER,1/2"

LOCK, 1/2"

1шт.

19696R1

LOCK NUT,1/2"-13, GB

NUT, 1/2 znp nylon insert

1шт.

178374R1

WASHER

17/32 x 1-1/4 x 16 ga C-Z

1шт.

607896R1

SQ HOLE WASHER,17/32" x 1 1/4" x .120", Sq Hole

17/32 sq x 1-1/4 x 11 ga C-Z

1шт.

10

153639C1

PIN, grain tank hinge

2шт.

20340R1

COTTER PIN,1/4" x 1 1/2"

Pin, Split (Cotter), 1/4" x 1 1/2"

2шт.

11

614921R1

ROD, grain tank

3шт.

120377

NUT,3/8" - 16, Gr 5

12шт.

477589R1

WASHER

13/32 x 1-1/2 x 11 ga C-Z

11шт.

12

614920R1

HANDLE, grain tank

1шт.

12653R1

BOLT (SPREADER),Short NK, 1/4"-20 x 3/4", G2

BOLT, CARRIAGE, Short NK, 1/4"-20 x 3/4", G2

2шт.

120375

NUT,Hex, 1/4" - 20, Gr 5

2шт.

492-11025

LOCK WASHER,1/4"

WASHER, LOCK, 1/4"

2шт.

13

153175C1

COVER, RH grain tank

3шт.

18653R1

BOLT,Hex, 1/4" - 20 x 1/2", Gr 2

1/4 x 1/2 C-Z hex-hd mach

18шт.

492-11025

LOCK WASHER,1/4"

WASHER, LOCK, 1/4"

18шт.

14

156115C1

REINFORCEMENT, LH tank cover

1шт.

18653R1

BOLT,Hex, 1/4" - 20 x 1/2", Gr 2

1/4 x 1/2 C-Z hex-hd mach

5шт.

120375

NUT,Hex, 1/4" - 20, Gr 5

1шт.

492-11025

LOCK WASHER,1/4"

WASHER, LOCK, 1/4"

5шт.

15

151975C91

TANK ASSY, LH grain

1шт.

18495R1

BOLT,Hex, 3/8" - 16 x 1 1/4", Gr 2

3/8 x 1-1/4 C-Z sq-nk crg

6шт.

18779R1

BOLT,Hex, 3/8"-16 x 1 1/2", Gr 2

3/8 x 1-1/2 C-Z sq-nk crg

2шт.

18421R1

CARRIAGE BOLT,Short Sq Nk, 7/16" - 14 x 1", Gr 2

BOLT, CARRIAGE, Short NK, 7/16"-14 x 1", G5, Full Thd

4шт.

18763R1

BOLT,Hex, 5/16" - 18 x 1/2", Gr 2

5/16 x 1/2 C-Z hex-hd mach

7шт.

18764R1

HARDWARE,Hex, 5/16"-18 x 3/4", G2

BOLT, 5/16 x 3/4 C-Z hex-hd mach

4шт.

120377

NUT,3/8" - 16, Gr 5

8шт.

271501

SOCKET

NUT, 7/16 C-Z hex

4шт.

938017R1

FLANGE NUT,Flg, USR, 5/16"-18

5/16 C-Z whiz lock

10шт.

477-73108

SERRATED SCREW,Sl Truss Hd, 5/16" - 18 x 1/2"

5/16 x 1/2 C-Z slt-truss hd whiz lock

3шт.

135270

SERRATED SCREW,5/16" - 18 x 3/4"

5/16 x 3/4 C-Z slt-truss hd whiz lock

3шт.

80681

LOCK WASHER,5/16"

WASHER, LOCK, 5/16"

7шт.

120382

LOCK WASHER,Helical Spring, 3/8"

WASHER, LOCK, 3/8"

8шт.

120383

LOCK WASHER,Helical Spring, 7/16"

WASHER, LOCK, 7/16"

4шт.

619855R1

WASHER

11/32 x 3/4 x 16 ga C-Z

7шт.

20803R1

WASHER

13/32 x 1 x 11 ga C-Z

8шт.

893862R1

WASHER

15/32 x 1-1/4 x 11 ga C-Z

2шт.

16

154293C1

COVER, LH tank, For use w/hydrostatic ground drive

1шт.

938016R1

FLANGE NUT,Flg, USR, 1/4"-20

1/4 C-Z whiz lock

3шт.

935874R1

SCREW, 10 x 1/2 C-Z slt-hex-hd tapping

12шт.

937059R1

SCREW,Serr, M10 x 70mm, Cl 10.9

1/4 x 1/2 C-Z slt-truss-hd whiz lock

3шт.

17

151960C92

EXTENSION ASSY, left hand grain tank, belt drive trans

1шт.

17

154288C92

EXTENSION ASSY, left hand grain tank, hydrostatic ground drive

1шт.

938016R1

FLANGE NUT,Flg, USR, 1/4"-20

1/4 C-Z whiz lock

1шт.

938017R1

FLANGE NUT,Flg, USR, 5/16"-18

5/16 C-Z whiz lock

1шт.

935874R1

SCREW, 10 x 1/2 C-Z slt-hex-hd tap

1шт.

937059R1

SCREW,Serr, M10 x 70mm, Cl 10.9

1/4 x 1/2 C-Z slt-truss-hd whiz lock

1шт.

477-73108

SERRATED SCREW,Sl Truss Hd, 5/16" - 18 x 1/2"

5/16 x 1/2 C-Z slt-truss-hd whiz lock

1шт.

135270

SERRATED SCREW,5/16" - 18 x 3/4"

5/16 x 3/4 C-Z slt-truss-hd whiz lock

1шт.

619855R1

WASHER

11/32 x 3/4 x 16 ga C-Z

1шт.

18

151965C92

EXTENSION ASSY, grain tank RH

1шт.

16897R1

CARRIAGE BOLT,Short Nk, 5/16" - 18 x 3/4", Gr 2, Full Thd

BOLT, 5/16 x 3/4 C-Z sq-nk crg

4шт.

120376

NUT,5/16"-18, G5

4шт.

80681

LOCK WASHER,5/16"

WASHER, LOCK, 5/16"

1шт.

938016R1

FLANGE NUT,Flg, USR, 1/4"-20

1/4 C-Z whiz lock

12шт.

938017R1

FLANGE NUT,Flg, USR, 5/16"-18

5/16 C-Z whiz lock

4шт.

937059R1

SCREW,Serr, M10 x 70mm, Cl 10.9

1/4 x 1/2 C-Z slt-truss-hd whiz lock

12шт.

935874R1

SCREW, 10 x 1/2 C-Z slt-hex-hd tap

5шт.

172455

SELF-TAP SCREW,Sl Hex, 5/16" - 18 x 3/4"

SCREW, 5/16 x 3/4 C-Z slt-hex-tap

4шт.

19

152013C91

TUBE ASSY, RH tank unloader jackshaft

1шт.

120377

NUT,3/8" - 16, Gr 5

3шт.

938017R1

FLANGE NUT,Flg, USR, 5/16"-18

5/16 C-Z whiz lock

5шт.

477-73108

SERRATED SCREW,Sl Truss Hd, 5/16" - 18 x 1/2"

5/16 x 1/2 C-Z slt-truss-hd whiz lock

5шт.

120382

LOCK WASHER,Helical Spring, 3/8"

WASHER, LOCK, 3/8"

3шт.

20

152016C1

SECTION, RH tank unloader auger

1шт.

18764R1

HARDWARE,Hex, 5/16"-18 x 3/4", G2

BOLT, 5/16 x 3/4 C-Z hex-hd mach

8шт.

120376

NUT,5/16"-18, G5

8шт.

80681

LOCK WASHER,5/16"

WASHER, LOCK, 5/16"

8шт.

21

152017C11

COVER ASSY, RH tank lower unloader pipe extension, edible bean

1шт.

20716R1

SCREW,Sl Pan Hd, 5/16" - 18 x 1/2"

5/16-18 x 1/2 C-Z slt-pan-hd-mach

2шт.

80681

LOCK WASHER,5/16"

WASHER, LOCK, 5/16"

2шт.

22

154236C1

DOOR, RH grain tank clean out

1шт.

23

153153C1

SUPPORT, RH grain tank lower rear anchor

1шт.

18778R1

SCREW,Hex, 3/8"-16 x 3/4", G2

BOLT, 3/8 x 3/4 C-Z hex-hd mach

2шт.

120382

LOCK WASHER,Helical Spring, 3/8"

WASHER, LOCK, 3/8"

2шт.

142619H

WASHER

13/32 x 3/4 x 11 ga C-Z

2шт.

24

152095C1

ROD, RH grain tank hopper stiffener upper

2шт.

120377

NUT,3/8" - 16, Gr 5

8шт.

477589R1

WASHER

13/32 x 1-1/2 x 11 ga C-Z

8шт.

25

152096C1

ROD, RH grain hopper stiffener lower

1шт.

120377

NUT,3/8" - 16, Gr 5

4шт.

477589R1

WASHER

13/32 x 1-1/2 x 11 ga C-Z

4шт.

26

151995C91

TANK ASSY, RH grain

1шт.

16897R1

CARRIAGE BOLT,Short Nk, 5/16" - 18 x 3/4", Gr 2, Full Thd

BOLT, 5/16 x 3/4 C-Z sq-nk crg

6шт.

18778R1

SCREW,Hex, 3/8"-16 x 3/4", G2

BOLT, 3/8 x 3/4 C-Z hex-hd mach

3шт.

120376

NUT,5/16"-18, G5

9шт.

477-73108

SERRATED SCREW,Sl Truss Hd, 5/16" - 18 x 1/2"

5/16 x 1/2 C-Z slt-truss-hd whiz lock

7шт.

80681

LOCK WASHER,5/16"

WASHER, LOCK, 5/16"

9шт.

120382

LOCK WASHER,Helical Spring, 3/8"

WASHER, LOCK, 3/8"

5шт.

20803R1

WASHER

13/32 x 1 x 11 ga C-Z

3шт.

27

152077C91

PIPE ASSY, RH grain tank front support, Includes ref no 28

1шт.

18494R1

BOLT,Hex, 3/8" - 16 x 1", Gr 2

3/8 x 1 C-Z hex-hd mach

1шт.

18495R1

BOLT,Hex, 3/8" - 16 x 1 1/4", Gr 2

3/8 x 1-1/4 C-Z hex-hd mach

1шт.

18794R1

BOLT,Hex, 7/16" - 14 x 1", Gr 2

7/16 x 1 C-Z hex-hd mach

6шт.

120377

NUT,3/8" - 16, Gr 5

3шт.

NLS

NO LONGER SERVICED

NUT, 7/16 C-Z hex

6шт.

120382

LOCK WASHER,Helical Spring, 3/8"

WASHER, LOCK, 3/8"

3шт.

120383

LOCK WASHER,Helical Spring, 7/16"

WASHER, LOCK, 7/16"

6шт.

28

617136R1

BUSHING, unloader auger control arm

1шт.

29

152631C1

SUPPORT, grain tank side inner front

1шт.

938016R1

FLANGE NUT,Flg, USR, 1/4"-20

1/4 C-Z whiz lock

12шт.

937059R1

SCREW,Serr, M10 x 70mm, Cl 10.9

1/4 x 1/2 C-Z slt-truss-hd whiz lock

12шт.

30

154016C1

SECTION, unloader drive

1шт.

16897R1

CARRIAGE BOLT,Short Nk, 5/16" - 18 x 3/4", Gr 2, Full Thd

BOLT, 5/16 x 3/4 C-Z sq-nk crg

4шт.

120376

NUT,5/16"-18, G5

4шт.

80681

LOCK WASHER,5/16"

WASHER, LOCK, 5/16"

4шт.

31

151977C1

SUPPORT, LH grain tank lower

1шт.

120377

NUT,3/8" - 16, Gr 5

4шт.

477589R1

WASHER

13/32 x 1-1/2 x 16 ga C-Z

4шт.

32

152096C1

ROD, LH grain tank extension, belt drive transmission

1шт.

120377

NUT,3/8" - 16, Gr 5

4шт.

477589R1

WASHER

13/32 x 1-1/2 x 11 ga C-Z

4шт.

33

151982C1

BRACE, upper anchor brace

1шт.

17140R1

CARRIAGE BOLT,Short Nk, 1/2" - 13 x 1 1/4", Gr 2, Full Thd

BOLT, 1/2 x 1-1/4 C-Z sq-nk crg

1шт.

120378

NUT,Hex, 1/2" - 13, Gr 5

NUT, 1/2"-13, G5

1шт.

120384

WASHER,1/2"

LOCK, 1/2"

1шт.

34

151954C1

BRACE, lower anchor

1шт.

17140R1

CARRIAGE BOLT,Short Nk, 1/2" - 13 x 1 1/4", Gr 2, Full Thd

BOLT, 1/2 x 1-1/4 C-Z sq-nk crg

1шт.

120378

NUT,Hex, 1/2" - 13, Gr 5

NUT, 1/2"-13, G5

1шт.

120384

WASHER,1/2"

LOCK, 1/2"

1шт.

35

155900C1

BOLT,1/4" - 20 x 4.24" W x 1.12" L

grain tank RH clean out door

1шт.

20244R1

LOCK NUT,1/4"-20

NUT, 1/4-20 ESNA stop

2шт.

36

155909C1

LATCH

tank RH clean out door

1шт.

648002

KNIFE

1/8" x 3/4"

1шт.

21886R1

HEADED PIN,1/4" x 1"

PIN, 1/4 x 1 C-Z std-hd

1шт.

21242R1

HEADED PIN

PIN, 1/4 x 1-3/4 C-Z std-hd

1шт.

37

586657R1

PIN

ROD, door hinge

1шт.

38

156182C1

BLOCK, front support pipe

2шт.

18810R1

BOLT,Hex, 1/2" - 13 x 2 1/4", Gr 2

1/2 x 2-1/4 C-Z hex-hd mach

4шт.

120378

NUT,Hex, 1/2" - 13, Gr 5

NUT, 1/2"-13, G5

4шт.

120384

WASHER,1/2"

LOCK, 1/2"

4шт.

20601R1

WASHER

17/32 x 1-1/4 x 11 ga C-Z

8шт.

460908R1

WASHER

17/32 x 1-1/2 x 11 ga C-Z

4шт.

39

152510C1

CHANNEL, LH grain tank inner bracket hinge

2шт.

18796R1

BOLT,Hex, 7/16"-14 x 1 1/2", G2

7/16 x 1-1/2 C-Z hex-hd mach

8шт.

271501

SOCKET

NUT, 7/16 C-Z hex

4шт.

120383

LOCK WASHER,Helical Spring, 7/16"

WASHER, LOCK, 7/16"

4шт.

493-21046

LOCK WASHER,Int Tooth, 7/16"

WASHER, 7/16 C-Z int-tooth lock

4шт.

21029R1

WASHER

15/32 x 1 x 11 ga C-Z

8шт.

40

151983C1

SECTION, LH tank front support

1шт.

18421R1

CARRIAGE BOLT,Short Sq Nk, 7/16" - 14 x 1", Gr 2

BOLT, CARRIAGE, Short NK, 7/16"-14 x 1", G5, Full Thd

10шт.

NLS

NO LONGER SERVICED

NUT, 7/16 C-Z hex

10шт.

120383

LOCK WASHER,Helical Spring, 7/16"

WASHER, LOCK, 7/16"

10шт.

893862R1

WASHER

15/32 x 1-1/4 x 11 ga C-Z

10шт.

41

156857C1

BRACE, hinge support

1шт.

17452R1

BOLT,Hex, 1/2"-13 x 1 1/4", G2

1/2 x 1-1/4 C-Z hex-hd mach

2шт.

120378

NUT,Hex, 1/2" - 13, Gr 5

NUT, 1/2"-13, G5

2шт.

120384

WASHER,1/2"

LOCK, 1/2"

2шт.

42

159407C1

SECTION, LH tank filler

1шт.

938017R1

FLANGE NUT,Flg, USR, 5/16"-18

5/16 C-Z whiz lock

10шт.

477-73108

SERRATED SCREW,Sl Truss Hd, 5/16" - 18 x 1/2"

5/16 x 1/2 C-Z slt-truss-hd whiz lock

10шт.

43

563567R1

GLASS, grain tank extension RH window, 9-3/8 x 5-1/2 in., procure locally

1шт.

44

164417C1

ROD, RH grain tank extension

1шт.

120376

NUT,5/16"-18, G5

4шт.

45

164452C91

SUPPORT ASSY, hinge, belt drive

1шт.

45

153339C1

SUPPORT, hinge, hydrostatic ground drive

1шт.

46

163612C1

BAR, RH extension inner cover, raised distributor auger, standard for rice, special for grain

1шт.

47

163613C1

BAR, RH extension outer cover, raised distributor auger, standard for rice, special for grain

1шт.

48

168414C1

GLASS, grain tank window, 15 x 5-1/2 in., procure locally

2шт.

49

163662C2

BAR, LH extension cover, raised distributor auger, standard for rice, special for grain

1шт.

938017R1

FLANGE NUT,Flg, USR, 5/16"-18

5/16 C-Z whiz lock

10шт.

135270

SERRATED SCREW,5/16" - 18 x 3/4"

5/16 x 1/2 C-Z slt-truss-hd whiz lock

10шт.

Выбрано товаров: 202