Запчасти Case IH 315 (R-33) - SEPARATOR, STRAW SPREADER ATTACHMENT Separation

Схема запчастей Case IH 315 - (R-33) - SEPARATOR, STRAW SPREADER ATTACHMENT Separation
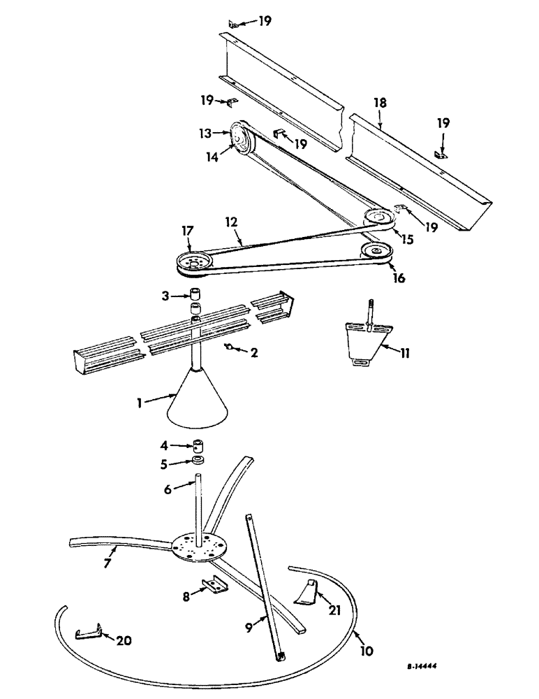
16
1
10
19
13
9
19
2
8
15
7
19
19
5
17
21
6
4
12
20
14
3
19
18
11
FIT
1:1
100%

Артикул

Название

Примечание

Количество

1

167481C91

SUPPORT ASSY, straw spreader, Includes ref nos 3, 4 and 5

1шт.

18508R1

CARRIAGE BOLT,Short Nk, 3/8" - 16 x 3/4", Gr 2, Full Thd

BOLT, 3/8 x 3/4 C-Z sq-nk crg

2шт.

17351R1

CARRIAGE BOLT,Short Sq Nk, 3/8" - 16 x 1", Gr 2

BOLT, 3/8 x 1 C-Z sq-nk crg

4шт.

18684R1

BOLT,Sht Sq Nk, 3/8" - 16 x 1 1/4", Gr 2

3/8 x 1-1/4 C-Z sq-nk crg

2шт.

120377

NUT,3/8" - 16, Gr 5

8шт.

120382

LOCK WASHER,Helical Spring, 3/8"

WASHER, LOCK, 3/8"

8шт.

469668R1

WASHER

13/32 x 3/4 x 16 ga C-Z

3шт.

619856R1

WASHER

13/32 x 1 x 16 ga C-Z

2шт.

2

80717

LUBE NIPPLE,45 Degree, 1/8" NPT x 7/8" lg

FITTING, 1/8-27 PTF 45 deg angle lub

1шт.

3

551068R1

BUSHING,22.28mm ID x 25.43mm OD x 22.23mm L

spreader shaft upper

2шт.

4

589813R1

BUSHING

spreader shaft lower

1шт.

5

565873R91

SEAL

spreader shaft lower oil

1шт.

6

153351C91

ROD ASSY, straw spreader

1шт.

21761R1

WASHER

29/32 x 1-1/2 x 16 ga C-Z

2шт.

7

570387R1

BAT

BLADE, straw spreader

3шт.

8

566475R1

CHANNEL

CLIP, straw spreader blade

3шт.

18765R1

BOLT,Hex, 5/16" - 18 x 1 1/2", Gr 2

5/16 x 1-1/2 C-Z hex-hd mach.

6шт.

120376

NUT,5/16"-18, G5

6шт.

80681

LOCK WASHER,5/16"

WASHER, LOCK, 5/16"

6шт.

9

155577C1

BRACE, guard rear

1шт.

18675R1

BOLT,Short NK, 5/16"-18 x 1 3/4", G2

5/16 x 1-3/4 C-Z sq-nk crg

1шт.

16897R1

CARRIAGE BOLT,Short Nk, 5/16" - 18 x 3/4", Gr 2, Full Thd

BOLT, 5/16 x 3/4 C-Z sq-nk crg

1шт.

120376

NUT,5/16"-18, G5

2шт.

80681

LOCK WASHER,5/16"

WASHER, LOCK, 5/16"

2шт.

668569R1

WASHER

11/32 x 1-1/2 x 11 ga C-Z

1шт.

10

153354C1

PIPE, spreader guard

1шт.

11

153356C91

BRACKET ASSY, straw spreader idler

1шт.

120378

NUT,Hex, 1/2" - 13, Gr 5

NUT, 1/2"-13, G5

1шт.

120384

WASHER,1/2"

LOCK, 1/2"

1шт.

20601R1

WASHER

17/32 x 1-1/4 x 11 ga C-Z

5шт.

178374R1

WASHER

17/32 x 1-1/4 x 11 ga C-Z

5шт.

12

153359C1

V-BELT,0.63" W x 186.87" L

Straw Spreader Drive 0.63" W x 186.87" L

1шт.

13

564696R11

PULLEY

ASSY, spreader drive, 5-7/8 OD, 2-9/32 bore

1шт.

18474R1

BOLT,Hex, 5/16" - 18 x 1", Gr 2

5/16 x 1 C-Z hex-hd mach.

4шт.

120376

NUT,5/16"-18, G5

4шт.

80681

LOCK WASHER,5/16"

WASHER, LOCK, 5/16"

4шт.

14

606664R1

HUB, spreader drive pulley, Serial no 1512 and below

1шт.

14

163457C1

HUB, spreader drive pulley, Serial no 1513 and above

1шт.

617940R1

PIN,5/16" x 1 3/4", Coiled

1шт.

15

566517R91

PULLEY

ASSY, spreader upper idler, 5-7/8 OD, 17/32 brg bore

1шт.

16

559087R92

PULLEY

ASSY, spreader lower idler, 5-5/8 OD, 17/32 brg bore

1шт.

17

21712K

PULLEY ASSY.

PULLEY, spreader driven, 5-3/4 OD, 7/8 bore

1шт.

648002

KNIFE

1/8" x 3/4"

1шт.

21941R1

PIN, 5/16 x 1-7/8 C-Z std-hd

1шт.

18

155939C1

SHIELD, spreader drive

1шт.

16897R1

CARRIAGE BOLT,Short Nk, 5/16" - 18 x 3/4", Gr 2, Full Thd

BOLT, 5/16 x 3/4 C-Z sq-nk crg

12шт.

18674R1

BOLT,Short NK, 5/16"-18 x 1 1/2", G2

5/16 x 1-1/2 C-Z sq-nk crg

3шт.

120376

NUT,5/16"-18, G5

15шт.

80681

LOCK WASHER,5/16"

WASHER, LOCK, 5/16"

15шт.

19

155940C1

SUPPORT, spreader shield

6шт.

20

156203C1

SUPPORT, spreader guard LH

1шт.

18675R1

BOLT,Short NK, 5/16"-18 x 1 3/4", G2

5/16 x 1-3/4 C-Z sq-nk crg

1шт.

120376

NUT,5/16"-18, G5

1шт.

80681

LOCK WASHER,5/16"

WASHER, LOCK, 5/16"

1шт.

21

156204C1

SUPPORT, spreader guard RH

1шт.

18675R1

BOLT,Short NK, 5/16"-18 x 1 3/4", G2

5/16 x 1-3/4 C-Z sq-nk crg

1шт.

120376

NUT,5/16"-18, G5

1шт.

80681

LOCK WASHER,5/16"

WASHER, LOCK, 5/16"

1шт.

Выбрано товаров: 58