Запчасти Case IH 503 (231) - HYDRAULIC REEL DRIVE CHAIN REDUCTION, FLOW DIVIDER (35) - HYDRAULIC SYSTEMS

Схема запчастей Case IH 503 - (231) - HYDRAULIC REEL DRIVE CHAIN REDUCTION, FLOW DIVIDER (35) - HYDRAULIC SYSTEMS
7
13
9
12
6
4
8
10
3
11
1
2
5
FIT
1:1
100%

Артикул

Название

Примечание

Количество

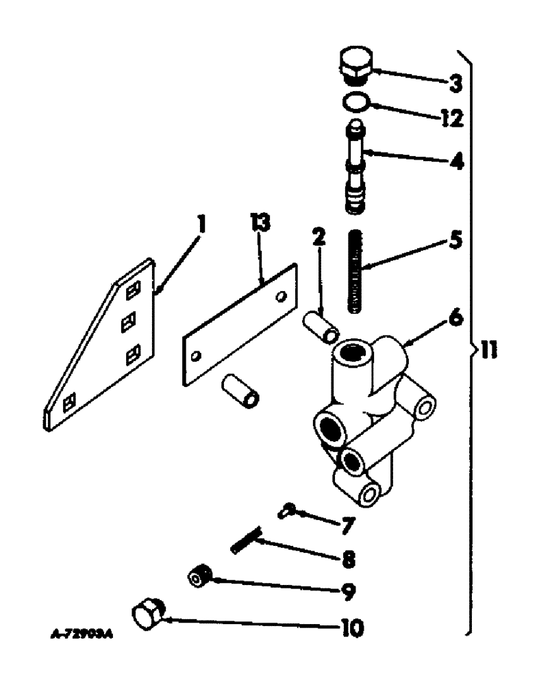
1

653903R1

BRACKET, flow divider, Serial no. 3250 and below

1шт.

5/16 NUT

2шт.

5/16 X 3/4 CAP SCREW

2шт.

5/16 LOCK WASHER

2шт.

2

U13039

SPACER

pipe flow divider

1шт.

3

570433R1

PLUG, piston flow divider

1шт.

4

570432R1

PISTON, flow divider

1шт.

5

570435R1

SPRING, flow divider

1шт.

6

BODY, flow divider, Order flow divider assy, 570830R91, Ref no. 11

1шт.

7

570946R1

VALVE, relief

1шт.

8

570949R1

SPRING, relief valve

1шт.

9

9400949

SCREW, relief valve adjusting, 1/2-20NF x 1/2

1шт.

10

570947R1

CAP, relief valve adjusting cover

1шт.

11

570830R91

FLOW DIVIDER ASSY, Includes ref nos 3 thru 10

1шт.

1/4 NUT

2шт.

1/4 LOCK WASHER

2шт.

1/4 X 3/4 CRG BOLT

2шт.

12

570828R1

O-RING,0.087" Thk x 0.644" ID, -908, Cl 6, 90 Duro

for 1/2 OD tubing

1шт.

13

154987C1

STRAP, steering flow divider pad, Serial no. 3251 and above

1шт.

Выбрано товаров: 19