Запчасти Case IH 503 (121) - STEERING GEAR CASE, ROSS GEAR (41) - STEERING

Схема запчастей Case IH 503 - (121) - STEERING GEAR CASE, ROSS GEAR (41) - STEERING
17
17
7
19
6
8
12
18
15
9
11
3
14
1
5
6
2
4
16
10
13
7
5
20
FIT
1:1
100%

Артикул

Название

Примечание

Количество

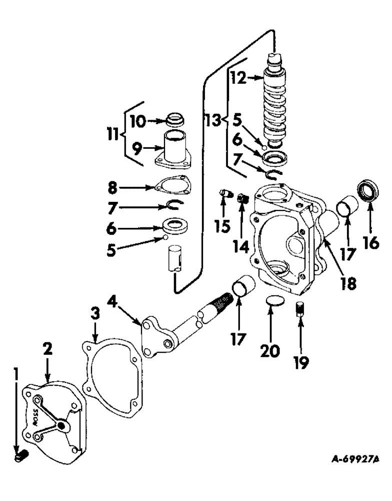
627141R91

CASE ASSY, steering gear, Includes ref nos 1 through 13 and 16 through 20

1шт.

21868V

WASHER

29/32 X 1-1/2 X 16 GA WASHER

4шт.

1

50443H

ADJUSTMENT SCREW

adjusting

1шт.

68016H

NUT

lock

1шт.

2

568317R91

COVER W/NUT AND SCREW ASSY, Includes ref no. 1

1шт.

3

568318R1

GASKET, side cover

1шт.

4

LEVER W/STUD, shaft, Order 627141R91 gear case assy

1шт.

219253

3/4-16NF JAM NUT

1шт.

3/4 LOCK WASHER

1шт.

5

11115V

BALL

5/16 dia

22шт.

6

90607H

CUP, ball

2шт.

7

568322R1

RING, retaining

2шт.

8

90614H

SHIM, .002 in.

1шт.

8

90615H

SHIM, .003 in.

1шт.

8

90916H

SHIM, .010 in.

1шт.

9

COVER, upper housing, Order 634432R91 cover assy, Ref no. 11

1шт.

10

560237R91

OIL SEAL

1шт.

11

634432R91

COVER W/SEAL ASSY, upper housing

1шт.

5/16 X 3/4 CAP SCREW

3шт.

5/16 X 1 CAP SCREW

4шт.

37564HA

WASHER

21/64 X 9/16 WASHER

7шт.

12

CAM AND SHAFT, Order 634433R91 cam and shaft assy, Ref no. 13

1шт.

13

634433R91

CAM AND SHAFT ASSY, Includes ref nos 5, 6, 7, and 12

1шт.

14

112877

ADAPTER,1/4" NPT Male x 1/8" NPT Fem

BUSHING, steering gear case oil breather reducer

1шт.

15

110891H

BREATHER,1/8"-27 NPT, Short, w/washer

steering gear case

1шт.

16

634431R91

OIL SEAL

1шт.

17

112877

ADAPTER,1/4" NPT Male x 1/8" NPT Fem

BUSHING

1шт.

18

634430R91

HOUSING, steering gear, Includes ref nos 17, 19, and 20

1шт.

19

9617020

PLUG,1/4" - 18 x 0.48"

1/4 Hex Socket

2шт.

20

172558

PLUG,Exp, 1 1/4"

1/4 dia

1шт.

Выбрано товаров: 30