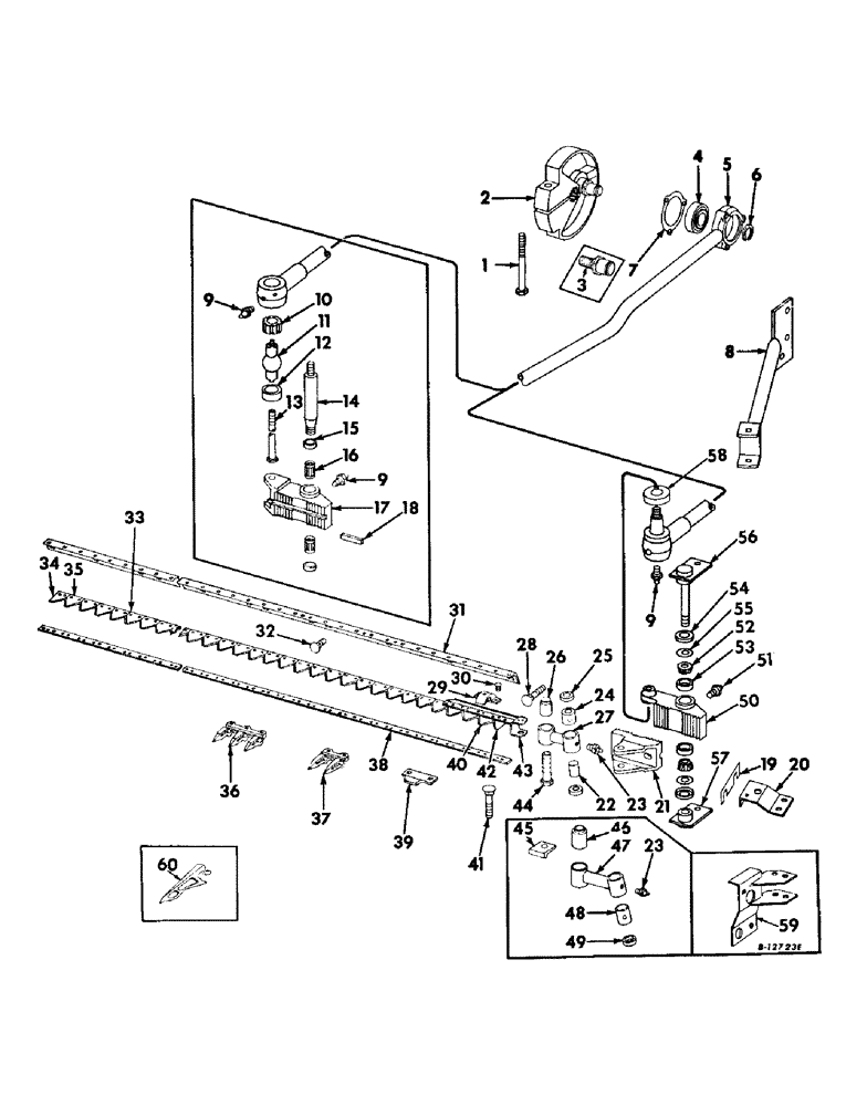
Запчасти Case IH 503 (031) - KNIFE AND KNIFE DRIVE, GRAIN LIFTER ATTACHMENT (58) - ATTACHMENTS/HEADERS

Схема запчастей Case IH 503 - (031) - KNIFE AND KNIFE DRIVE, GRAIN LIFTER ATTACHMENT (58) - ATTACHMENTS/HEADERS
58
33
17
2
45
49
27
4
28
22
43
12
53
53
34
29
1
25
13
39
42
60
8
21
23
40
30
38
47
9
48
35
50
31
14
15
19
24
10
26
5
41
32
54
20
56
9
6
37
16
11
52
23
18
3
44
9
59
55
36
46
57
FIT
1:1
100%

Артикул

Название

Примечание

Количество

1

631191R1

BOLT,Hex, 5/8" - 11 x 5", Gr 8

knife Pitman crank, 5/8 x 5

1шт.

629358R1

NUT

5/8 NUT

1шт.

115553

LOCK WASHER,Int Tooth, 5/8"

WASHER, LOCK, Int Tooth, 5/8"

1шт.

2

589036R1

WHEEL

CRANK, knife Pitman, Serial no., Serial Range: 501-1470

1шт.

2

936641R1

CRANK

knife Pitman, Serial no. 1471 and above

1шт.

3

583050R1

TRUNNION

STUD, knife crank

1шт.

20798R1

WASHER

1-1/32 x 2 x 16 ga

1шт.

4

150397C91

BALL BEARING,1.378" ID x 2.8346" OD x 0.9843"

ball

1шт.

5

936578R91

ROD

PITMAN, w/housing, knife, Serial no. 2430 and below

1шт.

5/16 JAM NUT

1шт.

106837

SET SCREW,Sq Hd, 5/16"-18 x 3/4"

5/16 X 3/4 SQ-HD DOG-PT SET SCREW

1шт.

5

939295R91

PITMAN

ASSY, knife

1шт.

1/8 X 1-1/2 COTTER PIN

1шт.

12258R1

WASHER

25/32 X 1-1/4 X 11 GA WASHER, Serial no. 2431 and above

1шт.

6

26540D

RING, SNAP

SNAP RING, knife Pitman stud bearing

1шт.

7

572139R1

RETAINER

knife Pitman bearing

1шт.

1/4 NUT

3шт.

1/4 X 1-1/4 CAP SCREW

3шт.

1/4 LOCK WASHER

3шт.

8

571452R91

BRACE W/BRACKET, knife bellcrank pivot, Serial no. 2430 and below

1шт.

8

159708C91

SUPPORT ASSY, knife bellcrank pivot brace, Serial no. 2431 and above

1шт.

1/2 X 1-1/2 CRG BOLT W/NUT

2шт.

1/2 LOCK WASHER

2шт.

9

16964R91

FITTING

1/4 90 deg. elbow lubrication, Serial no. 2430 and below

2шт.

9

332040

LUBE NIPPLE,90 Degree, 1/8" NPT x .84" lg

FITTING, 1/8 90 deg. elbow lubrication, Serial no. 2431 and above

1шт.

10

572980R1

SEAT

BALL SEAT, knife drive upper, Serial no. 2430 and below

1шт.

11

572979R1

JOINT TURNING

BALL, knife bellcrank, Serial no. 2430 and below

1шт.

12

572981R1

SEAT

BALL SEAT, knife drive lower, Serial no. 2430 and below

1шт.

13

573034R1

BOLT, knife drive ball, 1/2-20UNF x 4, Serial no. 2430 and below

1шт.

1/2-20UNF NUT

1шт.

1/2 LOCK WASHER

1шт.

14

572223R1

TRUNNION

STUD, knife drive bellcrank, Serial no. 2430 and below

1шт.

5/8 NUT

1шт.

5/8 JAM NUT

1шт.

3/4-16UNF SLT-HEX-HD NUT

1шт.

1/8 X 1-1/2 COTTER PIN

1шт.

551660R1

WASHER

1-5/32 X 2 X 16 GA WASHER

3шт.

552091R1

WASHER

1-5/32 X 2 X 22 GA WASHER

2шт.

575810R1

WASHER

21/32 X 1-1/2 X 11 GA WASHER

1шт.

615168R1

WASHER

25/32 X 1-1/2 X 11 GA WASHER

1шт.

936626R1

WASHER

knife drive bolt stud

1шт.

15

564808R91

WIPER

OIL SEAL, knife drive bellcrank, Serial no. 2430 and below

2шт.

16

142929H

NEEDLE BEARING,Needle, 28.56mm ID x 34.94mm OD x 25.4mm W

BEARING, needle, Serial no. 2430 and below

2шт.

17

633648R11

ANGLE

BELLCRANK W/BEARING ASSY, knife drive rear half, Includes ref no. 16, Serial no. 2430 and below

1шт.

18

Q56

KEY, square, 1/2 x 2, Serial no. 2430 and below 1/2" Sq x 2", Par

1шт.

19

587860R1

SHIM, platform lower brace outer and knife bellcrank pivot upper platform

3шт.

20

571446R1

PLATE, knife bellcrank pivot upper, Serial no. 2430 and below

1шт.

20

939287R1

PLATE, knife bellcrank pivot upper, Serial no. 2431 and above, Not 14-ft and 16-ft rice, Serial no. 3251 and above

1шт.

21

633647R1

LEVER

BELLCRANK, knife drive, front half

1шт.

5/8 NUT

2шт.

5/8 X 2-3/4 CAP SCREW

1шт.

5/8 X 4 CAP SCREW

1шт.

5/8 LOCK WASHER

2шт.

551177R1

WASHER

21/32 X 1-1/4 X 16 GA WASHER

2шт.

22

565627R1

BUSHING

SLEEVE, knife bellcrank LH

1шт.

23

219-8

LUBE NIPPLE,1/4" - 28 NPTF

FITTING, 1/4 straight lub

1шт.

24

565628R1

BUSHING,25.43mm ID x 31.75mm OD x 28.65mm L

LH

1шт.

25

697494R91

OIL SEAL

OIL SEAL, knife bellcrank link LH hub

2шт.

26

560388R91

COMPOSITE RING

BUSHING, 12-ft, 13-ft, 14-ft, 15-ft, 16-ft

1шт.

26

654455R91

BUSHING

18-ft, 20-ft

1шт.

27

583796R11

DRAG LINK

LINK W/BUSHING ASSY, knife bellcrank, Includes ref nos 24 and 26, 12-ft, 13-ft, 14-ft, 15-ft, 16-ft

1шт.

27

654450R11

ARM

LINK W/BUSHING ASSY, knife bellcrank, Includes ref nos 24 and 26, 18-ft, 20-ft

1шт.

28

495967R1

CARRIAGE BOLT,Short NK, 3/8"-16 x 1", G5, Full Thd

BOLT, cutter bar support, 3/8 x 1 crg bolt, 14 used 12-ft, 16 used 13-ft and 14-ft, 18 used 15-ft and 16-ft, 22 used 18-ft, 25 used 20-ft

1шт.

3/8 NUT

1шт.

3/8 LOCK WASHER

1шт.

29

634977R1

GUIDE

knife

1шт.

30

634979R1

CARRIAGE BOLT,Sht Sq Nk, 3/8" - 16 x 1 1/2"

BOLT, knife guide, 3/8 x 1-1/2 crg

2шт.

3/8 C-Z nut

2шт.

3/8 C-Z LOCK WASHER

2шт.

31

583815R1

BAR, cutter 12-ft

1шт.

31

654769R1

BAR, cutter 13-ft

1шт.

31

583789R1

BAR, cutter 14-ft

1шт.

31

583831R1

BAR, cutter 15-ft

1шт.

31

573060R1

BAR, cutter, LH 16-ft

1шт.

31

573059R1

BAR, cutter, RH 16-ft

1шт.

31

583080R1

BAR, cutter, LH 18-ft

1шт.

31

583081R1

BAR, cutter, RH 18-ft

1шт.

31

631271R1

BAR, cutter, LH 20-ft

1шт.

31

631272R1

BAR, cutter, RH 20-ft

1шт.

32

550796R1

CARRIAGE BOLT,3/8" - 16 x 1 1/4", Grade 5

BOLT, platform cutter bar

1шт.

3/8 NUT

1шт.

3/8 LOCK WASHER

1шт.

33

634796R91

KNIFE

W/BACK, head and section, Includes ref nos 34, 35, 40, 42, and 43, 12-ft

1шт.

33

634802R91

KNIFE W/BACK, head and section, Includes ref nos 34, 35, 40, 42 and 43, Chrome plated, 12-ft

1шт.

33

654821R91

KNIFE

W/BACK, head and section, Includes ref nos 34, 35, 40, 42 and 43, 13-ft

1шт.

33

654822R91

KNIFE W/BACK, head and section, Includes ref nos 34, 35, 40, 42 and 43, Chrome plated, 13-ft

1шт.

33

634797R91

KNIFE ASSY

KNIFE W/BACK, head and section, Includes ref nos 34, 35, 40, 42 and 43, 14-ft

1шт.

33

634803R91

KNIFE

W/BACK, head and section, Includes ref nos 34, 35, 40, 42 and 43, Chrome plated, 14-ft

1шт.

33

156121C91

KNIFE

W/BACK, head and section, Includes ref nos 34, 35, 40, 42 and 43, 15-ft

1шт.

33

156122C91

KNIFE

W/BACK, head and section, Includes ref nos. 34, 35, 40, 42 and 43, Chrome plated, 15-ft

1шт.

33

634798R91

KNIFE

W/BACK, head and section, Includes ref nos 34, 35, 40, 42 and 43, 16-ft

1шт.

33

634804R91

KNIFE

W/BACK, head and section, Includes ref nos 34, 35, 40, 42 and 43, Chrome plated, 16-ft

1шт.

33

634799R92

KNIFE

W/BACK, head and section, Includes ref nos 34, 35, 40, 42 and 43, 18-ft

1шт.

33

634805R91

KNIFE

W/BACK, head and section, Includes ref nos 34, 35, 40, 42 and 43, Chrome plated, 18-ft

1шт.

33

634800R92

KNIFE

W/BACK, head and section, Includes ref nos 34, 35, 40, 42 and 43, 20-ft

1шт.

33

634774R91

KNIFE W/BACK, head and section, Includes ref nos 34, 35, 40, 42 and 43, Chrome plated, 20-ft

1шт.

34

634791R1

KNIFE SECTION

SECTION, knife half RH, serrated

1шт.

34

634792R1

KNIFE SECTION

SECTION, knife half RH, serrated, chrome plated

1шт.

NO. 6 X 5/8 SMALL OVAL-HD RIVET

2шт.

35

634793R1

KNIFE SECTION

SECTION, knife, serrated

1шт.

35

634794R1

KNIFE SECTION

SECTION, knife, serrated, chrome plated

1шт.

1/4 X 1 X 74 DEG CSK-HD RIVET, 4 used on knife sections to knife head to knife back

1шт.

NO. 6 X 5/8 SMALL OV-HD RIVET, Used as required on knife sections to knife back

1шт.

36

633240R1

GUARD

knife triple, 1 used 12-ft, 15-ft, 18-ft, 20-ft, 3 used 13-ft, 14-ft, 16-ft

1шт.

37

633098R1

GUARD

knife double, 21 used 13-ft, 23 used 12-ft, 14-ft, 28 used 16-ft, 35 used 18-ft, 39 used 20-ft, 29 used 15-ft

1шт.

38

BACK, knife, Non-service

1шт.

39

552082R1

GUIDE

CLIP, knife holddown, 11 used 12-ft, 13-ft, 12 used 14-ft, 15 used 15-ft, 16-ft, 17 used 18-ft, 19 used 20-ft

1шт.

40

634787R1

KNIFE SECTION

SECTION, knife, serrated

3шт.

40

634788R1

KNIFE SECTION

SECTION, knife, serrated, chrome plated

3шт.

1/4 X 1 X 74 DEG CSK-HD RIVET

2шт.

41

550796R1

CARRIAGE BOLT,3/8" - 16 x 1 1/4", Grade 5

BOLT, knife hold-down clip, 18 used 10-ft, 22 used 12-ft and 13-ft, 24 used 14-ft, 30 used 16-ft, 34 used 18-ft, 38 used 20-ft

1шт.

3/8 NUT

1шт.

3/8 LOCK WASHER

1шт.

42

634789R1

KNIFE SECTION

SECTION, knife half LH, serrated

1шт.

42

634790R1

KNIFE SECTION

SECTION, knife half LH, serrated, chrome plated

1шт.

1/4 X 1 X 74 DEG. CSK-HD RIVET

2шт.

43

161432C1

HEAD (CYLINDER)

HEAD W/LEG, knife, 12-ft, 13-ft, 14-ft, 15-ft, 16-ft

1шт.

43

654451R91

HEAD

W/LEG, knife, 18-ft, 20-ft

1шт.

44

568316R1

BOLT (SPREADER),Hex, 3/4" - 10 x 3"

BOLT, knife bellcrank link, 3/4 x 3, 2 used 12-ft, 13-ft, 14-ft, 16-ft, 1 used LH 18-ft and 20-ft

1шт.

44

654456R1

BOLT (SPREADER),Hex, 3/4" - 10 x 3 1/4"

BOLT, knife bellcrank link, 1 used RH, 1 used RH 18-ft and 20-ft

1шт.

3/4 NUT

2шт.

3/4 LOCK WASHER

2шт.

45

563840R1

SPACER, cutter bar, Raised knife from lower position to upper position, special, 13 used 12-ft and 13-ft, 14 used 14-ft, 16 used 16-ft, 20 used 18-ft

1шт.

550796R1

CARRIAGE BOLT,3/8" - 16 x 1 1/4", Grade 5

3/8 X 1-1/4 CRG BOLT W/NUT

1шт.

3/8 NUT

1шт.

3/8 LOCK WASHER

1шт.

46

560388R1

BUSHING, knife bellcrank link, rubber, Raised knife from lower position to upper position, special, 12-ft, 13-ft, 14-ft, 16-ft, 18-ft platform serial no. 1012 and below

1шт.

46

654455R91

BUSHING

knife bellcrank link, rubber, Raised knife from lower position to upper position, special, 18-ft platform serial no. 1013 and above

1шт.

47

574220R11

LINK W/BUSHING ASSY, knife bellcrank, Includes ref nos 46 and 48, Raised knife from lower position to upper position, special, 12-ft, 13-ft, 14-ft, 16-ft, 18-ft platform serial no. 1012 and below

1шт.

47

654699R11

LINK W/BUSHING ASSY, knife bellcrank, Includes ref nos 46 and 48, Raised knife from lower position to upper position, special, 18-ft platform serial no. 1013 and above

1шт.

48

565628R1

BUSHING,25.43mm ID x 31.75mm OD x 28.65mm L

knife link LH end, Raised knife from lower position to upper position, special

1шт.

49

697494R91

OIL SEAL

OIL SEAL, knife bellcrank link, Raised knife from lower position to upper position, special

2шт.

50

939296R1

ARM ASSY.

BELLCRANK, knife drive rear half, Serial no. 2431 and above

1шт.

51

16964R91

FITTING

1/4 90 deg elbow lubrication, Serial no. 2431 and above

1шт.

52

518120R91

ROLLER BEARING,0.75" ID x 1.933" OD x 0.71"

knife drive rear half bellcrank cone, Serial no. 2431 and above

2шт.

53

M32951

BEARING CUP,0.75" ID x 1.938" OD x 0.78125"

BEARING, knife drive rear half bellcrank cup, Serial no. 2431 and above

2шт.

54

939737R1

WASHER

CLOUSER, knife drive rear half bellcrank bearing, Serial no. 2431 and above

1шт.

55

939736R1

WASHER

FLINGER, knife drive rear half bellcrank bearing, Serial no. 2431 and above

2шт.

56

939291R91

BOLT (SPREADER)

BOLT ASSY, bellcrank, Serial no. 2431 and above

1шт.

427640

SLOTTED NUT,3/4"-16, G5

NUT, 3/4 c-z slt-hex

1шт.

103387

COTTER PIN,1/8" x 1 1/2"

Pin, Split (Cotter), 1/8" x 1 1/2"

1шт.

575813R1

WASHER

25/32 x 1-1/4 x 11 ga

1шт.

57

939288R91

HUB

ASSY, knife bellcrank shaft, Serial no. 2431 and above

1шт.

58

151926C1

SEAL

SEAL, knife Pitman socket dust, Serial no. 2431 and above

1шт.

59

150367C91

BRACKET ASSY, knife bellcrank pivot upper, 14-ft and 16-ft rice platforms, Serial no. 3251 and above

1шт.

60

163417C91

GRAIN LIFTER

LIFTER, grain, special

1шт.

Выбрано товаров: 0