Запчасти Case IH 503 (075) - SPIKE TOOTH CYLINDER ATTACHMENT, SERIAL NO 4765 AND BELOW (66) - THRESHING

Схема запчастей Case IH 503 - (075) - SPIKE TOOTH CYLINDER ATTACHMENT, SERIAL NO 4765 AND BELOW (66) - THRESHING
29
11
32
10
10
8
33
31
13
22
21
12
24
3
7
7
19
30
20
6
18
34
14
2
9
26
17
28
8
1
27
9
5
25
4
15
16
23
FIT
1:1
100%

Артикул

Название

Примечание

Количество

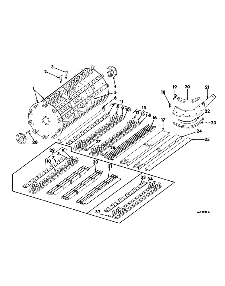
1

155270C91

CYLINDER, less shaft, Includes ref. nos. 2, 3 and 5

1шт.

2

M3073

TOOTH

cylinder middle

1шт.

9/16 NUT

1шт.

9/16 LOCK WASHER

1шт.

3

M4498

TOOTH

cylinder

1шт.

9/16 NUT

1шт.

9/16 lock washer

1шт.

4

155114C1

HUB, cylinder

2шт.

3/8 X 1-1/4 B-HD RIVET

12шт.

5

567891R1

HEAD, cylinder center, 3 used

1шт.

3/8 X 1-5/8 CT-SK RIVET

30шт.

6

582756R91

SPREADER W/PLATE, concave adjusting arm

1шт.

634122R1

BOLT,5/8"-11 x 2", G8, Full Thd

5/8 X 2 NO. 3 PLOW BOLT

2шт.

5/8 NUT

2шт.

5/8 LOCK WASHER

2шт.

21/32 X 1 X 16 GA WASHER

2шт.

7

632091R1

HINGE, concave front extension

1шт.

8

M6073

TOOTH, concave front, short

2шт.

9/16 NUT

1шт.

9/16 LOCK WASHER

1шт.

9

M4498

TOOTH

concave front, long, 41 used

1шт.

9/16 NUT

1шт.

9/16 LOCK WASHER

1шт.

10

936454R91

CONCAVE, front

1шт.

9/16 NUT

1шт.

9/16 LOCK WASHER

1шт.

11

NON-SERVICE

1шт.

12

M6073

TOOTH, concave rear, short, grain

2шт.

9/16 NUT

1шт.

9/16 LOCK WASHER

1шт.

13

M4498

TOOTH

concave rear, long, grain, 41 used

1шт.

9/16 NUT

1шт.

9/16 LOCK WASHER

1шт.

936476R1

SQ HOLE WASHER

concave tooth

1шт.

14

936454R91

CONCAVE, rear, grain

1шт.

15

NON-SERVICE

1шт.

16

582758R91

GRATE W/BAR, concave, grain

2шт.

17

588845R91

GRATE W/STIFFENER, concave, grain

2шт.

18

568139R1

ANGLE

DEFLECTOR, concave LH

4шт.

18

568140R1

ANGLE

DEFLECTOR, concave RH

4шт.

19

567908R1

BAR

CLIP, concave locking

2шт.

20

568135R1

SUPPORT

RETAINER, upper LH

1шт.

20

568136R1

SUPPORT

RETAINER, upper RH

1шт.

5/16 JAM NUT

2шт.

5/16 X 7/8 CAP SCREW

2шт.

5/16 LOCK WASHER

2шт.

11/32 X 3/4 X 16 GA WASHER

2шт.

21

567901R11

SUPPORT W/STOP, concave LH

1шт.

21

567902R11

SUPPORT W/STOP, concave RH

1шт.

3/8 X 1 NO. 3 PLOW BOLT W/NUT

20шт.

634122R1

BOLT,5/8"-11 x 2", G8, Full Thd

5/8 X 2 NO. 3 PLOW BOLT W/NUT

2шт.

633661R1

CARRIAGE BOLT,#3, 5/8" - 11 x 3"

5/8 X 3 NO. 3 PLOW BOLT

2шт.

3/8 LOCK WASHER

20шт.

5/8 LOCK WASHER

2шт.

22

587764R1

SHIM

concave adjusting

8шт.

23

568137R1

RETAINER, concave lower LH

1шт.

23

568138R1

RETAINER, concave lower RH

1шт.

24

588847R91

GRATE W/STIFFENER, rear, grain

1шт.

25

582762R1

EXTENSION, concave rear, grain

1шт.

3/8 X 3/4 MACH BOLT W/NUT

4шт.

3/8 LOCK WASHER

4шт.

26

NOT USED

1шт.

27

588849R1

SPACER, concave

3шт.

28

Q3406

KEY,3/8" Sq x 5 1/4"

3/8 x 3/8 x 5-1/4 straight

2шт.

29

NON-SERVICE

1шт.

30

582770R91

CONCAVE W/RAIL, bar grate front, rice

2шт.

31

582772R91

CONCAVE W/RAIL, bar grate rear, rice

1шт.

32

NOT USED

1шт.

33

NOT USED

1шт.

34

NOT USED

1шт.

Выбрано товаров: 0