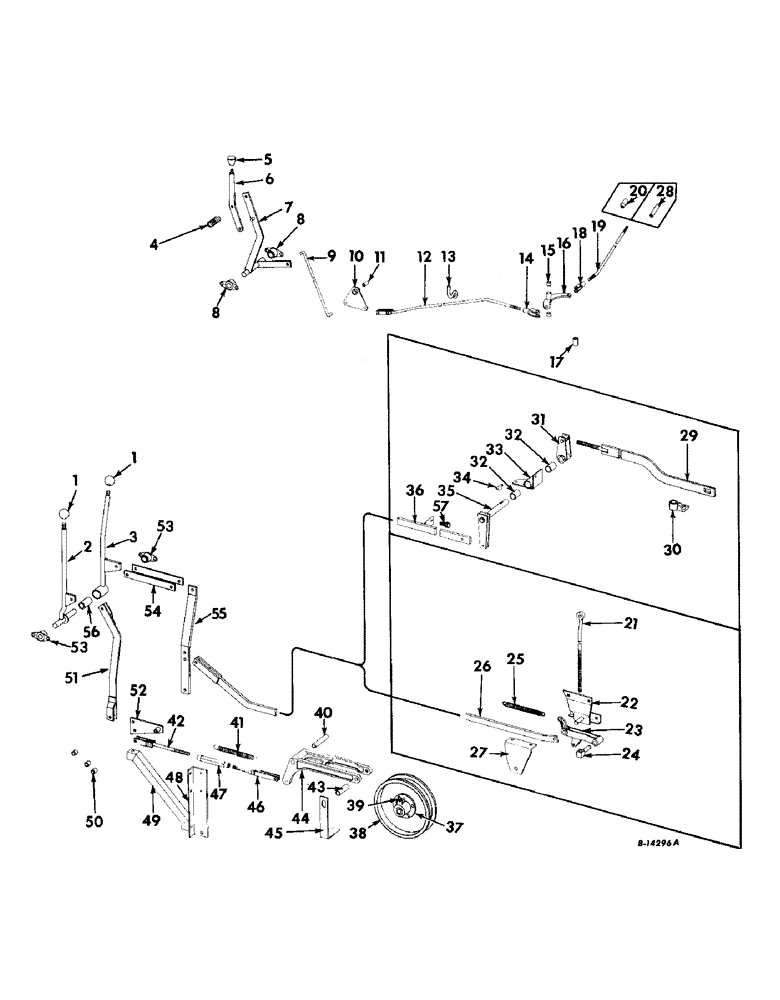
Запчасти Case IH 503 (146) - SEPARATOR DRIVE CLUTCH AND THROTTLE, CONTROL SERIAL NO 2431 AND ABOVE (72) - SEPARATION

Схема запчастей Case IH 503 - (146) - SEPARATOR DRIVE CLUTCH AND THROTTLE, CONTROL SERIAL NO 2431 AND ABOVE (72) - SEPARATION
43
51
17
28
9
16
46
25
20
3
53
1
40
7
39
36
42
31
26
54
10
30
56
19
47
33
55
2
15
45
6
35
32
29
57
49
21
14
24
18
32
37
23
41
1
27
5
4
52
34
13
53
11
8
50
12
22
48
44
8
38
FIT
1:1
100%

Артикул

Название

Примечание

Количество

1

163574C1

KNOB

feeder and separator drive clutch levers

2шт.

2

938839R91

LEVER ASSY, feeder drive clutch

1шт.

3

938843R91

LEVER ASSY, separator drive clutch

1шт.

4

NOT USED

1шт.

5

611976R1

KNOB, throttle lever

1шт.

6

938835R1

LEVER, throttle

1шт.

7

938836R91

LEVER ASSY, throttle

1шт.

8

938814R91

BEARING

ASSY, throttle control

2шт.

14994R1

CARRIAGE BOLT,Sq Nk, 5/16" - 18 x 3/4", Gr 2

BOLT, CARRIAGE, , w/Nut Short NK, 5/16"-18 x 3/4", G2

4шт.

103320

LOCK WASHER,5/16"

WASHER, LOCK, 5/16"

4шт.

9

938816R1

ROD, vertical

1шт.

103385

COTTER PIN,1/8" x 1"

PIN, SPLIT (COTTER), 1/8" x 1"

2шт.

10

627498R91

BELLCRANK ASSY, throttle

1шт.

11

628758R1

SPACER, throttle bellcrank

1шт.

17446R1

BOLT,3/8" - 16 x 1 1/4", Gr 2

3/8 X 1-1/4 MACH BOLT W/NUT

1шт.

103321

LOCK WASHER,3/8"

WASHER, LOCK, 3/8"

1шт.

12

628753R91

ROD ASSY, throttle rear

1шт.

103373

COTTER PIN,3/32" x 3/4"

Pin, Split (Cotter), 3/32" x 3/4"

1шт.

103496

CLEVIS PIN,3/8" x 1.060"

3/8 X 2-1/2 ROD END PIN

1шт.

60530H

CLEVIS PIN,3/8" x 1"

3/8 X 1 ROD END PIN

1шт.

13

634461R1

GUIDE, throttle rod

1шт.

14

104038

ADJUSTABLE CLEVIS,3/8"-24 x 2 1/2"

CLEVIS, 3/8

1шт.

3/32 X 3/4 COTTER PIN

1шт.

103496

CLEVIS PIN,3/8" x 1.060"

3/8 X 1-3/32 ROD END PIN

1шт.

15

568921R1

BUSHING,15.9mm ID x 19.02mm OD x 22.23mm L

1шт.

16

150156C91

LEVER ASSY, rear pivot

1шт.

17496R1

BOLT,Hex, 3/8" - 16 x 1 3/4"

3/8 X 1-3/4 MACH BOLT W/NUT

1шт.

103321

LOCK WASHER,3/8"

WASHER, LOCK, 3/8"

1шт.

Q1505

WASHER

13/32 X 1 X 16 GA WASHER

1шт.

17

156064C1

SPACER

rear pivot lever

1шт.

18

104037

CLEVIS

5/16

1шт.

103373

COTTER PIN,3/32" x 3/4"

Pin, Split (Cotter), 3/32" x 3/4"

1шт.

NLS

NO LONGER SERVICED

5/16 X 31/32 ROD END PIN

1шт.

Q397

WASHER

17/32 X 3/4 X 16 GA WASHER

1шт.

19

628226R1

ROD, governor control, Not diesel

1шт.

19

588051R1

ROD, governor control, Diesel

1шт.

114492

JAM NUT,Jam, 1/4"-28, G5

1/4 hex jam

1шт.

114493

JAM NUT,Jam, 5/16"-24, G5

1шт.

20

304164R91

JOINT

BALL JOINT, governor control rod, Diesel engine

1шт.

25-114

NUT,1/4"-28, G5

1/4 hex

1шт.

103319

LOCK WASHER,1/4"

WASHER, LOCK, 1/4"

1шт.

21

NOT USED

1шт.

22

NOT USED

1шт.

23

NOT USED

1шт.

24

NOT USED

1шт.

25

NOT USED

1шт.

26

NOT USED

1шт.

27

NOT USED

1шт.

28

305186R1

COUPLING, governor control rod, Gasoline and LP gas engines

1шт.

29

629897R91

BAR

ASSY, separator drive clutch rear

1шт.

102639

NUT,5/8"-11, G5

2шт.

30

629905R91

ARM

ASSY, separator clutch pivot, Serial no 4765 and below

1шт.

432-1624

COTTER PIN,1/4" x 1 1/2"

Pin, Split (Cotter), 1/4" x 1 1/2"

1шт.

576483R1

LOCK PIN,5/16" x 1 1/2", Slotted

Pin, 5/16" x 1 1/2", Slotted

1шт.

30

155644C1

LEVER

separator clutch pivot, Serial no 4766 and above

1шт.

102635

NUT,3/8"-16, G5

1шт.

432-1624

COTTER PIN,1/4" x 1 1/2"

Pin, Split (Cotter), 1/4" x 1 1/2"

1шт.

576483R1

LOCK PIN,5/16" x 1 1/2", Slotted

Pin, 5/16" x 1 1/2", Slotted

1шт.

179845

BOLT,Hex, 3/8" - 16 x 1 3/4", Gr 5

SCREW, 3/8 x 1-3/4 hex-hd cap

1шт.

103321

LOCK WASHER,3/8"

WASHER, LOCK, 3/8"

1шт.

31

631204R91

ARM

ASSY, separator clutch control pivot upper

1шт.

32

559317R1

BUSHING,25.55mm ID x 28.6mm OD x 38.1mm L

2шт.

33

631207R91

PIVOT ASSY, separator clutch control, Includes ref no. 32

1шт.

17426R1

BOLT,Hex, 3/8" - 16 x 1", Gr 2

3/8 X 1 MACH BOLT W/NUT

3шт.

103321

LOCK WASHER,3/8"

WASHER, LOCK, 3/8"

3шт.

34

NLS

NO LONGER SERVICED

1/4 x 1 Woodruff

1шт.

35

631203R91

SHAFT ASSY, separator clutch control pivot

1шт.

432-1624

COTTER PIN,1/4" x 1 1/2"

Pin, Split (Cotter), 1/4" x 1 1/2"

1шт.

18608R1

LOCK PIN,7.92mm OD x 25.4mm L, Coiled

Pin, 5/16" x 1", Slotted

1шт.

Q3481

WASHER

1-1/32 X 1-1/2 X 16 GA WASHER

8шт.

36

938822R91

BAR ASSY, separator drive clutch front

1шт.

103373

COTTER PIN,3/32" x 3/4"

Pin, Split (Cotter), 3/32" x 3/4"

1шт.

129307H

3/8 X 7/8 ROD END PIN

1шт.

Q1597

WASHER

13/32 X 3/4 X 16 GA WASHER

1шт.

37

632591R11

HUB

ASSY, feeder drive clutch pulley, Consists of

1шт.

632592R1

BUSHING

RACE

1шт.

ST1302

BEARING

1шт.

M23538

WASHER

1шт.

17426R1

BOLT,Hex, 3/8" - 16 x 1", Gr 2

3/8 X 1 MACH BOLT W/NUT

3шт.

103321

LOCK WASHER,3/8"

WASHER, LOCK, 3/8"

3шт.

38

568941R11

PULLEY

ASSY, feeder drive clutch

1шт.

39

109461

LUBE NIPPLE,1/8"-27 x .66 lg

NIPPLE, LUBE, 1/8"-27 x .66 lg

1шт.

40

627477R1

SPACER

feeder drive clutch arm

1шт.

41

55934D

SPRING

feeder drive clutch return arm

1шт.

42

627467R91

ROD ASSY, feeder drive clutch upper

1шт.

103373

COTTER PIN,3/32" x 3/4"

Pin, Split (Cotter), 3/32" x 3/4"

1шт.

103496

CLEVIS PIN,3/8" x 1.060"

3/8 X 1-3/32 ROD END PIN

1шт.

43

627479R1

BUSHING

feeder drive idler pulley

1шт.

44

627476R1

ARM, feeder drive clutch

1шт.

17768R1

BOLT,Hex, 1/2" - 13 x 4 1/2", Gr 2

1/2 X 4-1/2 MACH BOLT

1шт.

NLS

NO LONGER SERVICED

5/8 X 4 CAP SCREW

1шт.

103323

LOCK WASHER,1/2"

WASHER, LOCK, 1/2"

1шт.

O3325

5/8 LOCK WASHER

1шт.

575810R1

WASHER

21/32 X 1-1/2 X 11 GA WASHER

1шт.

10620P

WASHER

21/32 X 1-1/2 X 16 GA WASHER

1шт.

45

627478R1

RETAINER, feeder drive clutch belt

1шт.

46

628756R91

ROD ASSY, feeder drive clutch lower

1шт.

114505

JAM NUT,Jam, 1/2"-13, G5

1шт.

103373

COTTER PIN,3/32" x 3/4"

Pin, Split (Cotter), 3/32" x 3/4"

1шт.

103496

CLEVIS PIN,3/8" x 1.060"

3/8 X 1-3/32 ROD END PIN

1шт.

115551

LOCK WASHER,Int Tooth, 1/2"

WASHER, LOCK, Int Tooth, 1/2"

1шт.

47

628698R1

TURNBUCKLE

feeder drive clutch rod

1шт.

48

627471R1

SUPPORT, feeder drive clutch pivot LH

1шт.

49

634460R1

BRACE, feeder drive clutch LH support

1шт.

17412R1

BOLT,Hex, 3/8" - 16 x 3/4", Gr 2

3/8 X 3/4 MACH BOLT W/NUT

1шт.

103321

LOCK WASHER,3/8"

WASHER, LOCK, 3/8"

1шт.

510579R1

WASHER

13/32 X 1-1/4 X 16 GA WASHER

1шт.

50

NOT USED

1шт.

51

938819R91

SUPPORT

STRAP ASSY, feeder drive clutch

1шт.

103373

COTTER PIN,3/32" x 3/4"

Pin, Split (Cotter), 3/32" x 3/4"

1шт.

129307H

3/8 X 1 ROD END PIN

1шт.

52

938826R91

PLATE ASSY, feeder drive clutch

1шт.

103384

COTTER PIN,1/8" x 3/4"

Pin, Split (Cotter), 1/8" x 3/4"

1шт.

Q1331

HEADED PIN,3/8" x 2"

3/8 X 2 DLD PIN

1шт.

53

938814R91

BEARING

ASSY, feeder drive clutch lever

2шт.

14994R1

CARRIAGE BOLT,Sq Nk, 5/16" - 18 x 3/4", Gr 2

BOLT, CARRIAGE, , w/Nut Short NK, 5/16"-18 x 3/4", G2

4шт.

103320

LOCK WASHER,5/16"

WASHER, LOCK, 5/16"

4шт.

54

938817R1

STRAP, separator drive clutch lower connector

2шт.

103373

COTTER PIN,3/32" x 3/4"

Pin, Split (Cotter), 3/32" x 3/4"

2шт.

129307H

3/8 X 1 ROD END PIN

2шт.

55

938818R1

STRAP, separator drive clutch lever

1шт.

103373

COTTER PIN,3/32" x 3/4"

Pin, Split (Cotter), 3/32" x 3/4"

1шт.

129307H

3/8 X 1 ROD END PIN

1шт.

56

938847R91

BEARING, needle

1шт.

57

564638R1

BOLT, separator clutch control stop

1шт.

3/8 C-Z HEX. NUT

2шт.

Выбрано товаров: 126