Запчасти Case IH 503 (114) - OPERATORS SEAT, SERIAL NO 2431 AND ABOVE (90) - PLATFORM, CAB, BODYWORK AND DECALS

Схема запчастей Case IH 503 - (114) - OPERATORS SEAT, SERIAL NO 2431 AND ABOVE (90) - PLATFORM, CAB, BODYWORK AND DECALS
9
3
9
17
28
20
24
12
25
16
21
7
4
2
27
23
22
18
6
14
26
11
1
15
19
5
29
13
8
10
10
FIT
1:1
100%

Артикул

Название

Примечание

Количество

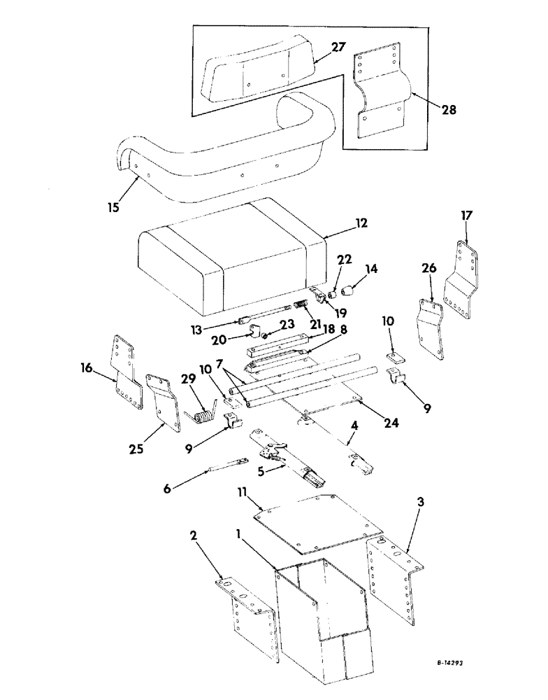
1

666830R92

SUPPORT ASSY, seat

1шт.

18778R1

SCREW,Hex, 3/8"-16 x 3/4", G2

3/8 X 3/4 C-Z MACH BOLT W/NUT

1шт.

18494R1

BOLT,Hex, 3/8" - 16 x 1", Gr 2

3/8 X 1 C-Z MACH BOLT W/NUT

3шт.

120382

LOCK WASHER,Helical Spring, 3/8"

WASHER, LOCK, 3/8"

4шт.

2

939266R1

BRACKET, seat adjustment LH

1шт.

18778R1

SCREW,Hex, 3/8"-16 x 3/4", G2

3/8 X 3/4 C-Z MACH BOLT W/NUT

2шт.

120382

LOCK WASHER,Helical Spring, 3/8"

WASHER, LOCK, 3/8"

2шт.

3

939267R1

BRACKET, seat adjustment RH

1шт.

18778R1

SCREW,Hex, 3/8"-16 x 3/4", G2

3/8 X 3/4 C-Z MACH BOLT W/NUT

2шт.

120382

LOCK WASHER,Helical Spring, 3/8"

WASHER, LOCK, 3/8"

2шт.

4

631731R91

TRACK CHAIN

SLIDE ASSY, seat lower cushion

1шт.

18673R1

CARRIAGE BOLT,Short Sq Nk, 5/16" - 18 x 1/2", Gr 2

5/16 X 1/2 C-Z CRG BOLT W/NUT

2шт.

120376

NUT,5/16"-18, G5

5/16 C-Z LOCK WASHER

4шт.

5

631732R91

TRACK CHAIN

SLIDE W/LATCH ASSY, seat lower cushion

1шт.

18673R1

CARRIAGE BOLT,Short Sq Nk, 5/16" - 18 x 1/2", Gr 2

5/16 X 1/2 C-Z CRG BOLT W/NUT

2шт.

120376

NUT,5/16"-18, G5

5/16 C-Z LOCK WASHER

4шт.

6

631733R1

HANDLE, seat adjustment

1шт.

32-1212

COTTER PIN,3/16" x 3/4"

PIN, SPLIT (COTTER), 3/16" x 3/4"

2шт.

7

632706R1

SHAFT, seat support cross

1шт.

18763R1

BOLT,Hex, 5/16" - 18 x 1/2", Gr 2

5/16 X 1/2 C-Z MACH BOLT W/NUT

2шт.

180125

SCREW,Hex, 3/8" - 16 x 1 3/8", Gr 5

3/8 X 1-3/8 C-Z CAP SCREW

2шт.

80681

LOCK WASHER,5/16"

WASHER, LOCK, 5/16"

2шт.

120382

LOCK WASHER,Helical Spring, 3/8"

WASHER, LOCK, 3/8"

2шт.

8

939226R1

STOP, seat lower

1шт.

120376

NUT,5/16"-18, G5

2шт.

133837

5/16 X 1-1/4 C-Z SLT-FL-HD MACH SCREW

2шт.

80681

LOCK WASHER,5/16"

WASHER, LOCK, 5/16"

2шт.

9

632703R1

CLAMP

PIVOT, seat

1шт.

18474R1

BOLT,Hex, 5/16" - 18 x 1", Gr 2

5/16 X 1 C-Z MACH BOLT

2шт.

80681

LOCK WASHER,5/16"

WASHER, LOCK, 5/16"

2шт.

10

632704R1

SPACER, seat pivot

2шт.

11

939223R1

BASE, seat lower cushion

1шт.

18778R1

SCREW,Hex, 3/8"-16 x 3/4", G2

3/8 X 3/4 C-Z MACH BOLT W/NUT

4шт.

120382

LOCK WASHER,Helical Spring, 3/8"

WASHER, LOCK, 3/8"

4шт.

12

631730R91

CUSHION ASSY, seat lower

1шт.

13

939224R1

ROD, seat latch control

1шт.

103385

COTTER PIN,1/8" x 1"

PIN, SPLIT (COTTER), 1/8" x 1"

1шт.

619855R1

WASHER

13/32 X 3/4 X 16 GA WASHER OPERATORS SEAT, See note

1шт.

14

611976R1

KNOB, seat latch control rod

1шт.

15

387174R92

CUSHION ASSY.

CUSHION ASSY, seat lower back

1шт.

16

387172R1

SUPPORT

seat lower back cushion LH

1шт.

124829

JAM NUT,Hex, 3/8" - 16, Gr 5

2шт.

160771

3/8 X 5/8 C-Z CR-REC-PAN-HD MACH SCREW

2шт.

160776

SCREW,Cross Pan Hd, 3/8" - 16 x 3/4"

3/8 X 3/4 C-Z CR-REC-PAN-HD MACH SCREW

2шт.

138542

LOCK WASHER,Int Tooth, 3/8"

WASHER, LOCK, Int Tooth, 3/8"

4шт.

17

387173R1

SUPPORT

seat lower back cushion RH

1шт.

124829

JAM NUT,Hex, 3/8" - 16, Gr 5

2шт.

160771

3/8 C 5/8 C-Z CR-REC-PAN-HD MACH SCREW

2шт.

160776

SCREW,Cross Pan Hd, 3/8" - 16 x 3/4"

3/8 X 3/4 C-Z CR-REC-PAN-HD MACH SCREW

2шт.

138542

LOCK WASHER,Int Tooth, 3/8"

WASHER, LOCK, Int Tooth, 3/8"

4шт.

18

939226R1

STOP, seat upper

1шт.

133841

5/16 X 1-1/4 C-Z SLT-FL-HD MACH SCREW

2шт.

19

939227R1

ANGLE, seat control rod

1шт.

145193

BATTERY

NO. 10 X 1/2 C-Z SLT PAN-HD SCREW

2шт.

20

939230R91

LATCH ASSY, seat control

1шт.

103385

COTTER PIN,1/8" x 1"

PIN, SPLIT (COTTER), 1/8" x 1"

1шт.

18659R1

BOLT,Hex, 1/4" - 20 x 2", Gr 2

1/4 X 2 C-Z MACH BOLT

1шт.

120375

NUT,Hex, 1/4" - 20, Gr 5

2шт.

120386

WASHER

5/16 X 3/4 X 16 GA C-Z WASHER

4шт.

21

140DS

SPRING, seat control rod

1шт.

22

86224H

SPACER,1/4" Pipe x 3/8"

Seat release control stop 1/4" Pipe x 3/8"

1шт.

23

568395R1

SPACER,5/8" Tube x 5/8"

seat latch stop

1шт.

24

939233R91

BASE ASSY, seat upper

1шт.

25

939228R91

SUPPORT ASSY, seat lower back cushion LH

1шт.

26

939248R1

SUPPORT, seat lower back cushion RH

1шт.

27

387177R91

CUSHION

ASSY, seat upper back, special

1шт.

28

387178R1

SUPPORT

seat upper back cushion, special

1шт.

160688

SCREW,Cross Pan Hd, 5/16" - 18 x 3/4"

2шт.

29

627221R1

SPRING, seat

1шт.

Выбрано товаров: 69