Запчасти Case IH 503 (392) - D-301 ENGINE 3-13/16 X 4.390, ELECTRIC FUEL PUMP (10) - ENGINE

Схема запчастей Case IH 503 - (392) - D-301 ENGINE 3-13/16 X 4.390, ELECTRIC FUEL PUMP (10) - ENGINE
9
8
4
3
6
10
1
7
5
2
FIT
1:1
100%

Артикул

Название

Примечание

Количество

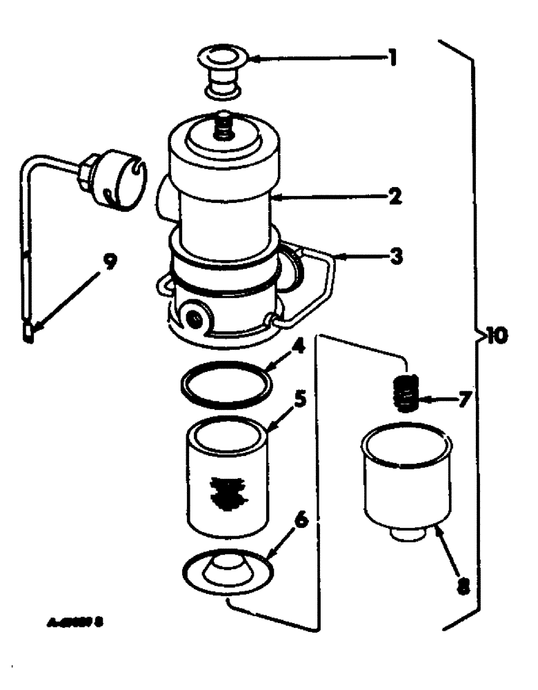
1

313602R1

COVER, rubber pulse chamber

1шт.

2

PUMP ASSY, Order pump, 306274R91

1шт.

124818

JAM NUT,Hex, 1/4" - 20, Gr 5

1шт.

280112

BOLT,Hex, 1/4" - 20 x 1-1/2", Gr 5

1шт.

3

313603R91

BAIL ASSY, pump

1шт.

4

313604R1

GASKET

fuel pump

1шт.

5

313606R1

FILTER CARTRIDGE

FILTER, fuel bowl

1шт.

6

313607R1

BASE

fuel bowl

1шт.

7

313608R1

SPRING, fuel filter base

1шт.

8

313605R1

BOWL, fuel filter pump

1шт.

9

306396R1

CONNECTOR, terminal

1шт.

10

306274R91

PUMP

ASSY, electric, 12-volt

1шт.

9635082

NUT,5/16" - 18, Gr 5

5/16 hex

2шт.

179814

SPACER

2шт.

103320

LOCK WASHER,5/16"

WASHER, LOCK, 5/16"

2шт.

Выбрано товаров: 0