Запчасти Case IH 503 (393) - D-301 ENGINE 3-13/16 X 4.390, WATER TRAP (10) - ENGINE

Схема запчастей Case IH 503 - (393) - D-301 ENGINE 3-13/16 X 4.390, WATER TRAP (10) - ENGINE
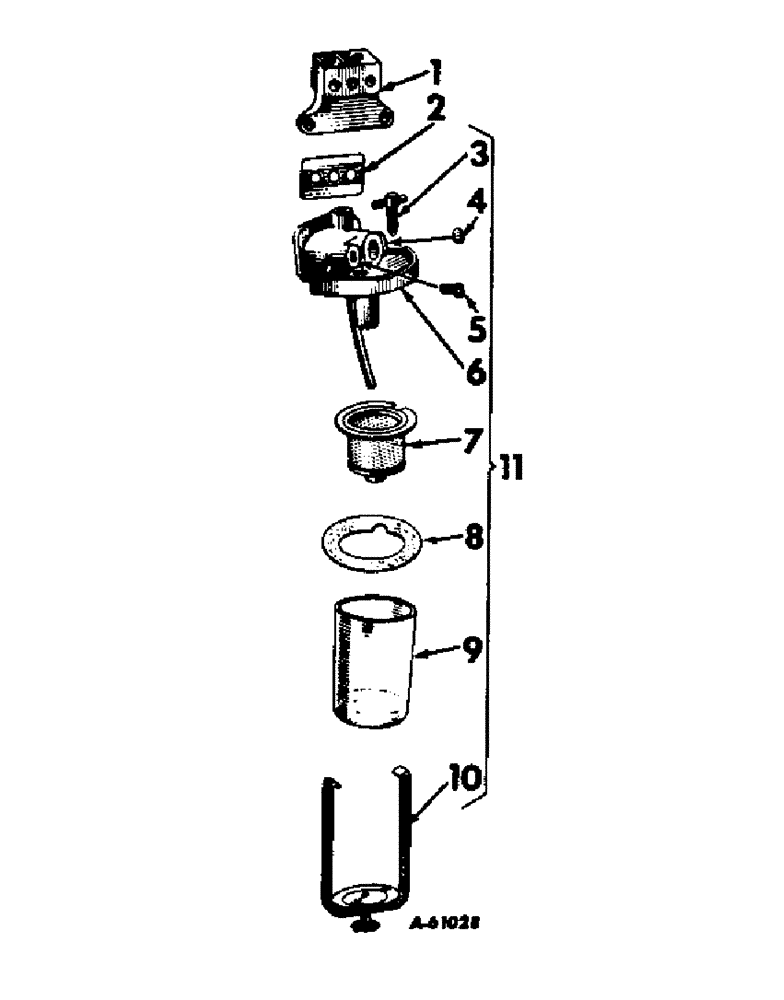
1
6
8
3
2
11
5
4
7
10
9
FIT
1:1
100%

Артикул

Название

Примечание

Количество

1

9311D

BRACKET, water trap

1шт.

179839

BOLT,Hex, 3/8" - 16 x 1", Gr 5

2шт.

102635

NUT,3/8"-16, G5

2шт.

103321

LOCK WASHER,3/8"

WASHER, LOCK, 3/8"

2шт.

2

51527DC

GASKET

water trap

1шт.

3

279173R1

CAPSCREW,3/8" x 1 5/32"

SCREW, water trap drain

1шт.

4

24805D

PLUG

3/8 brs expansion, type no. 1

1шт.

5

60871DA

SCREW, water trap vent

1шт.

6

251380R91

TOP

W/DRAIN pipe and plug, 24805D, water trap

1шт.

179893

BOLT,Hex, 1/2" - 13 x 3", Gr 5

1/2 X 3 HEX-HD CAP SCREW

1шт.

103323

LOCK WASHER,1/2"

WASHER, LOCK, 1/2"

1шт.

7

251348R91

SCREEN

water trap

1шт.

8

260708R2

GASKET

water trap bowl

1шт.

9

60877D

BOWL

GLASS, water trap

1шт.

10

60878DX

BALL

BAIL W/THUMB SCREW, water trap

1шт.

11

251355R91

TRAP

ASSY, water, Composed of

1шт.

60878DX

BALL

BAIL

1шт.

60877D

BOWL

1шт.

260708R2

GASKET

1шт.

251348R91

SCREEN

1шт.

60871DA

SCREW

1шт.

279173R1

CAPSCREW,3/8" x 1 5/32"

SCREW

1шт.

251380R91

TOP

1шт.

Выбрано товаров: 23