Запчасти Case IH 503 (403) - D-301 ENGINE 3-13/16 X 4.390, FAN BLADE AND BELTS, D-301 501 TO 5679 (10) - ENGINE

Схема запчастей Case IH 503 - (403) - D-301 ENGINE 3-13/16 X 4.390, FAN BLADE AND BELTS, D-301 501 TO 5679 (10) - ENGINE
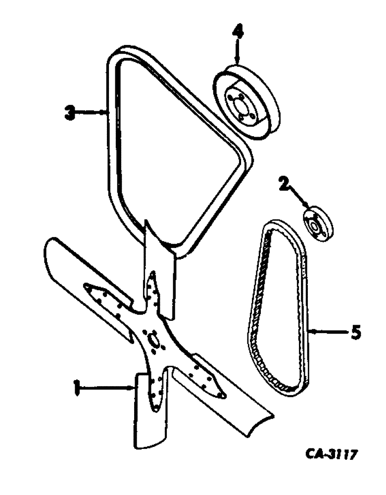
4
1
5
3
2
FIT
1:1
100%

Артикул

Название

Примечание

Количество

1

383934R91

BLADE ASSY, fan, 6 blade

1шт.

179809

BOLT,Hex, 1/4" - 20 x 3", Gr 5

4шт.

103319

LOCK WASHER,1/4"

WASHER, LOCK, 1/4"

4шт.

2

316476R1

SPACER, fan

1шт.

3

394013R1

V-BELT,0.50" W x 53.00" L

Water pump and generator 0.50" W x 53.00" L

1шт.

4

368502R1

PULLEY

water pump

1шт.

181309

BOLT,Hex, 1/4" - 28 x 1/2", Gr 5

1/4NF X 1/2 CAP SCREW

4шт.

103319

LOCK WASHER,1/4"

WASHER, LOCK, 1/4"

4шт.

5

379629R1

V-BELT,0.50" W x 28.50" L

Fan 0.50" W x 28.50" L

1шт.

Выбрано товаров: 9