Запчасти Case IH 615 (05-02) - STEERING, STEERING COLUMN, WHEEL AND STEERING, CYLINDER ROD END (04) - STEERING

Схема запчастей Case IH 615 - (05-02) - STEERING, STEERING COLUMN, WHEEL AND STEERING, CYLINDER ROD END (04) - STEERING
2
11
7
6
8
3
5
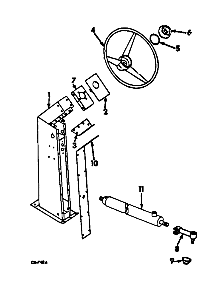
1
9
4
10
FIT
1:1
100%

Артикул

Название

Примечание

Количество

1

938865R91

COLUMN ASSY, steering

1шт.

18763R1

BOLT,Hex, 5/16" - 18 x 1/2", Gr 2

5/16 x 1/2 C-Z hex-hd mach

4шт.

16897R1

CARRIAGE BOLT,Short Nk, 5/16" - 18 x 3/4", Gr 2, Full Thd

BOLT, 5/16 x 3/4 C-Z sq-nk crg

6шт.

18508R1

CARRIAGE BOLT,Short Nk, 3/8" - 16 x 3/4", Gr 2, Full Thd

BOLT, 3/8 x 3/4 C-Z sq-nk crg

2шт.

17351R1

CARRIAGE BOLT,Short Sq Nk, 3/8" - 16 x 1", Gr 2

BOLT, 3/8 x 1 C-Z sq-nk crg

3шт.

25067R1

BOLT, 3/8 x 4-3/4 C-Z sq-nk crg

1шт.

120376

NUT,5/16"-18, G5

10шт.

120377

NUT,3/8" - 16, Gr 5

6шт.

80681

LOCK WASHER,5/16"

WASHER, LOCK, 5/16"

10шт.

120382

LOCK WASHER,Helical Spring, 3/8"

WASHER, LOCK, 3/8"

6шт.

619856R1

WASHER

13/32 x 1 x 16 ga C-Z

1шт.

2

633074R91

COVER ASSY STEERING COLUMN TOP

1шт.

24242R1

SCREW

no. 10 x 1/2 slt-pan-hd

1шт.

3

633492R1

SIDE, steering column removable LH

1шт.

3

633493R1

SIDE, steering column removable RH

1шт.

18653R1

BOLT,Hex, 1/4" - 20 x 1/2", Gr 2

1/4 x 1/2 C-Z hex-hd mach

8шт.

492-11025

LOCK WASHER,1/4"

WASHER, LOCK, 1/4"

8шт.

4

385156R1

WHEEL (STEERING)

WHEEL STEERING

1шт.

4

385156R1GV

STEERING WHEEL

Value, Steering Wheel

1шт.

5

295204R1

O-RING,0.103" Thk x 2.8" ID, -149, Cl 5, 75 Duro

2-13/16 x 3 x 3/32

1шт.

6

366566R1

CAP

monogrammed steering wheel, serial no. 8000 and below

1шт.

6

68837C1

CAP

ASSY, steering wheel, serial no. 8001 and above

1шт.

7

633073R11

BRACKET ASSY, steering hand pump

1шт.

8

159807C91

END

ASSY, steering cyl rod

2шт.

425-1310

SLOTTED NUT,5/8"-18, G5

NUT, 5/8-18 znd slt hex.

1шт.

124944

JAM NUT,Hex, 5/8" - 18, Gr 5

1шт.

137204

COTTER PIN,1/8" x 1 1/2"

PIN, SPLIT (COTTER), 1/8" x 1 1/2"

1шт.

220501R1

WASHER, 1-9/32 x 1-3/4 x 16 ga C-Z

4шт.

9

382562R1

SEAL

steering cyl rod end

2шт.

10

172111C1

PANEL, steering column, gasoline engine

1шт.

10

172112C1

PANEL, steering column, diesel engine, serial number 8000 and below

1шт.

564791R1

SPRING NUT

1/4 speed

12шт.

264-1478

SELF-TAP SCREW,Slotted Pan Hd, 1/4" x 1/2"

SCREW, 1/4 x 1/2 C-Z slt-pan-hd, tapping type D

12шт.

88574

BOLT,Hex, 5/16" - 18 x 1/2", Gr 5, Full Thd

2шт.

80681

LOCK WASHER,5/16"

WASHER, LOCK, 5/16"

2шт.

11

CYLINDER ASSY, steering, refer to group 10 under steering cylinder for unit listing

1шт.

Выбрано товаров: 36