Запчасти Case IH 615 (08-28) - ELECTRICAL, BATTERY AND SUPPORT, GASOLINE ENGINE (06) - ELECTRICAL

Схема запчастей Case IH 615 - (08-28) - ELECTRICAL, BATTERY AND SUPPORT, GASOLINE ENGINE (06) - ELECTRICAL
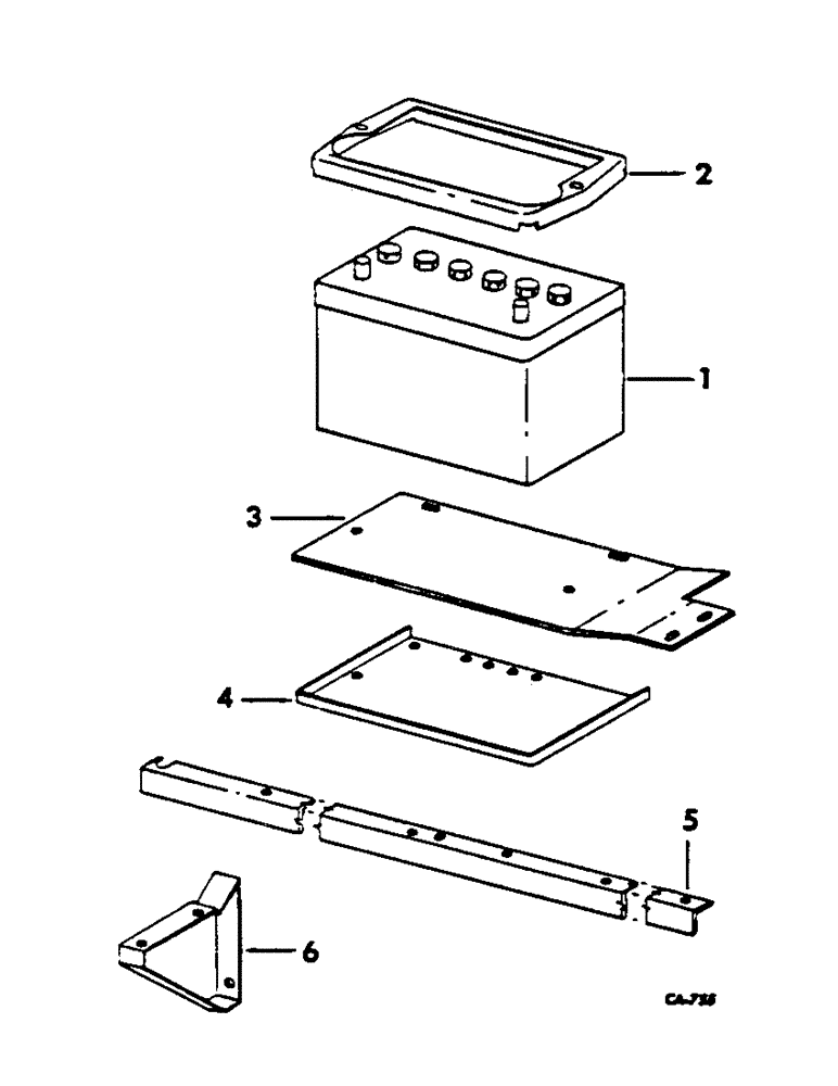
4
5
1
6
2
3
FIT
1:1
100%

Артикул

Название

Примечание

Количество

1

395587R1

BATTERY, 12-volt Prestolite 24H-A8Z, important note battery not supplied from factory but furnished by district or dealer where combine is purchases

1шт.

2

72924R1

CLAMP

battery hold down

1шт.

21389R1

BOLT,Hex, 5/16" - 18 x 9", Gr 5

5/16 x 9 hex-hd

1шт.

22394R1

BOLT,Hex, 5/16"-18 x 9 1/2", G2

5/16 x 9-1/2 znd hex-hd mach

1шт.

935736R1

NUT, WING

NUT, 5/16 wing

2шт.

619855R1

WASHER

11/32 x 3/4 x 16 ga C-Z

4шт.

3

172113C1

SUPPORT, battery, not air conditioner, serial number 12000 and below

1шт.

17351R1

CARRIAGE BOLT,Short Sq Nk, 3/8" - 16 x 1", Gr 2

BOLT, 3/8 x 1 znd sq-nk crg

3шт.

18494R1

BOLT,Hex, 3/8" - 16 x 1", Gr 2

3/8 x 1 znd hex-hd mach

1шт.

120377

NUT,3/8" - 16, Gr 5

4шт.

120382

LOCK WASHER,Helical Spring, 3/8"

WASHER, LOCK, 3/8"

4шт.

619856

WASHER, 13/32 x 1 x 16 ga C-Z

2шт.

4

155866C1

CARRIER, battery, w/air conditioner

1шт.

18494R1

BOLT,Hex, 3/8" - 16 x 1", Gr 2

3/8 x 1 znd hex-hd mach

2шт.

120377

NUT,3/8" - 16, Gr 5

2шт.

120382

LOCK WASHER,Helical Spring, 3/8"

WASHER, LOCK, 3/8"

2шт.

5

628593R1

SUPPORT, battery, w/air conditioner

1шт.

18779R1

BOLT,Hex, 3/8"-16 x 1 1/2", Gr 2

3/8 x 1-1/2 znd hex-hd mach

2шт.

120377

NUT,3/8" - 16, Gr 5

2шт.

120382

LOCK WASHER,Helical Spring, 3/8"

WASHER, LOCK, 3/8"

2шт.

614452R1

WASHER

13/32 x 1-1/4 x 11 ga C-Z

10шт.

6

629625R1

BRACKET, battery support, w air conditioner

1шт.

18494R1

BOLT,Hex, 3/8" - 16 x 1", Gr 2

3/8 x 1 znd hex-hd mach

2шт.

120377

NUT,3/8" - 16, Gr 5

2шт.

111655

SCREW, 1/4 x 3/4 C-Z hex-hd tap

2шт.

120382

LOCK WASHER,Helical Spring, 3/8"

WASHER, LOCK, 3/8"

2шт.

Выбрано товаров: 26