Запчасти Case IH 615 (08-29) - ELECTRICAL, BATTERY AND SUPPORT, DIESEL ENGINE, SERIAL NO. 8000 AND BELOW (06) - ELECTRICAL

Схема запчастей Case IH 615 - (08-29) - ELECTRICAL, BATTERY AND SUPPORT, DIESEL ENGINE, SERIAL NO. 8000 AND BELOW (06) - ELECTRICAL
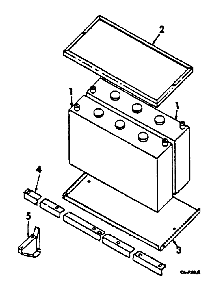
1
5
1
4
2
3
FIT
1:1
100%

Артикул

Название

Примечание

Количество

1

392244R91

BATTERY, 6-volt Prestolite 1303X, important note, battery not supplied from factory but furnished by district or dealer where combine is purchased

2шт.

2

161616C1

FRAME, battery hold-down

1шт.

22394R1

BOLT,Hex, 5/16"-18 x 9 1/2", G2

5/16 x 9-1/2 znd hex-hd mach

2шт.

935736R1

NUT, WING

NUT, 5/16 wing

2шт.

619855R1

WASHER

11/32 x 3/4 x 16 ga C-Z

4шт.

3

172114C1

CARRIER, battery tray

1шт.

18778R1

SCREW,Hex, 3/8"-16 x 3/4", G2

BOLT, 3/8 x 3/4 znd hex-hd mach

7шт.

120377

NUT,3/8" - 16, Gr 5

7шт.

120382

LOCK WASHER,Helical Spring, 3/8"

WASHER, LOCK, 3/8"

7шт.

4

628593R1

CHANNEL, battery support

1шт.

18794R1

BOLT,Hex, 7/16" - 14 x 1", Gr 2

7/16 x 1 znd hex-hd mach

1шт.

271501

SOCKET

NUT, 7/16 C-Z hex

1шт.

120383

LOCK WASHER,Helical Spring, 7/16"

WASHER, LOCK, 7/16"

1шт.

5

629625R1

BRACKET, battery support

1шт.

18494R1

BOLT,Hex, 3/8" - 16 x 1", Gr 2

3/8-16 x 1 znd hex-hd mach

2шт.

120377

NUT,3/8" - 16, Gr 5

2шт.

111655

SCREW, 1/4-14 x 3/4 C-Z hex-hd tapping

2шт.

120382

LOCK WASHER,Helical Spring, 3/8"

WASHER, LOCK, 3/8"

2шт.

Выбрано товаров: 18