Запчасти Case IH 615 (10-16) - HYDRAULICS, HYDROSTATIC MOTOR, SERIAL NUMBER 12000 AND BELOW (07) - HYDRAULICS

Схема запчастей Case IH 615 - (10-16) - HYDRAULICS, HYDROSTATIC MOTOR, SERIAL NUMBER 12000 AND BELOW (07) - HYDRAULICS
34
40
22
13
11
51
24
45
43
18
50
41
8
40
1
2
59
36
17
55
21
36
39
15
40
4
6
35
53
30
5
46
48
42
46
37
61
47
19
16
31
27
29
14
10
3
44
7
9
60
23
28
49
38
47
42
62
54
33
10
57
26
42
12
58
41
52
20
63
32
41
3
56
25
43
43
FIT
1:1
100%

Артикул

Название

Примечание

Количество

67808C91

REMAN-INJECTION PUMP

MOTOR ASSY, hydrostatic, renewed, serial no. 3290 and below, less ref no. 63

1шт.

67809C91

REMAN-ENG OIL PUMP

MOTOR ASSY, hydrostatic, renewed, less ref no. 63, serial no. 3291 and above

1шт.

180179

BOLT,Hex, 1/2" - 13 x 1 3/4", Gr 5

SCREW, 1/2 x 1-3/4 hex-hd cap

4шт.

120384

WASHER,1/2"

LOCK, 1/2"

4шт.

283856R1

WASHER

17/32 x 1 x 7 ga

4шт.

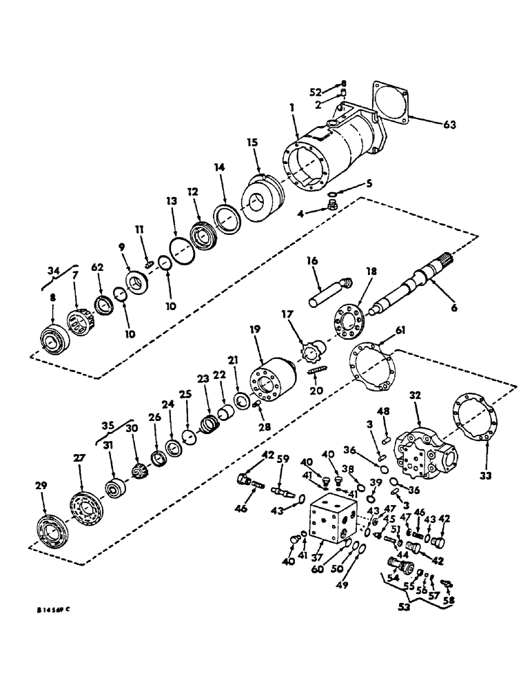
1

394148R1

HOUSING, hydrostatic motor

1шт.

2

394825R1

DOWEL

PIN, 5/16 x 5/8 dowel

1шт.

3

21061R1

DOWEL,3/8" x 1/2"

PIN, 3/8 x 1/2 dowel

2шт.

4

9410360

PLUG

7/8-14 C-Z str-thd o-ring boss

1шт.

5

364885R1

O-RING,0.097" Thk x 0.755" ID, -910, Cl 6, 90 Duro

3/4 x 15/16 x 3/32

1шт.

6

394149R1

SHAFT, hyd motor drive, serial no. 5328 and below

1шт.

6

404798R1

SHAFT

hyd motor drive, serial no. 5329 and above

1шт.

7

BEARING ASSY, drive shaft front cone, not serviced separately order bearing assy, 394150R91

1шт.

8

BEARING, drive shaft front cup, not serviced separately order bearing assy, 394150R91

1шт.

9

SEAL, housing, not serviced separately order package assy, 403072R91

1шт.

10

26078R1

O-RING,-129, Cl 7, 1.549" ID x .103" Thk

1-9/16 x 1-3/4 x 3/32

2шт.

11

393882R1

SPRING

drive shaft face seal

6шт.

12

393881R91

RETAINER

ASSY, drive shaft

1шт.

13

707220R1

O-RING,0.139" Thk x 2.984" ID, -234, Cl 5, 75 Duro

3 x 3-1/4 x 1/8

1шт.

14

393883R1

SNAP RING,3.346", Int, #334

Ring, Snap, , drive shaft face 3.346", Int, #334

1шт.

15

394152R1

PLATE

SWASHPLATE, hyd motor

1шт.

16

539256R1

PISTON ASSY

cylinder block

9шт.

17

394154R1

GUIDE

cyl block piston

1шт.

18

394155R1

RETAINER

cyl block piston

1шт.

19

71219C1

BLOCK ASSY.

BLOCK ASSY, piston cylinder

1шт.

20

71220C1

SPRING

slipper retainer

9шт.

21

394158R1

SEAT

piston cyl block spring

1шт.

22

394159R1

GUIDE

BUSHING, drive shaft rear

1шт.

23

532302R2

SPRING

cylinder block, serial no. 5328 and below

1шт.

23

394194R1

SPRING

cylinder block, serial no. 5329 and above

1шт.

24

394161R1

RETAINER

drive shaft rear

1шт.

25

21015R1

SNAP RING,#212, 2.217, Int, Spiral

RING, drive shaft rear

1шт.

26

394162R1

RING

cyl block brg plate

1шт.

27

404201R1

PLATE

cyl block brg

1шт.

28

394164R1

PIN

cylinder block brg plate

1шт.

29

530768R1

LARGE PLATE

PLATE, cylinder block valve

1шт.

30

BEARING ASSY, drive shaft rear pilot cone, not serviced separately order bearing assy, 394166R91

1шт.

31

BEARING ASSY, drive shaft rear pilot cup, not serviced separately order bearing assy, 394166R91

1шт.

32

530729R1

CAP, motor end

1шт.

179847

BOLT,Hex, 3/8" - 16 x 2", Gr 5

3шт.

280161

BOLT,Hex, 3/8" - 16 x 3", Gr 5

5шт.

394881R1

WASHER

13/32 x 11/16 x .106

8шт.

33

394170R1

GASKET

motor rear end cover

1шт.

34

394150R91

BEARING, ROLLER

BEARING ASSY, drive shaft front

1шт.

35

394166R91

BEARING ASSY,0.75" ID x 2.125" OD x 0.878, 0.625"

BEARING ASSY, drive shaft rear pilot

1шт.

36

393886R1

WASHER

WASHER, manifold valve

2шт.

37

529426R1

HOUSING

ASSY, manifold, includes ref no. 59

1шт.

186271

SCREW,Hex, 5/16" - 18 x 3 3/4", Gr 5

BOLT, Hex, 5/16"-18 x 3 3/4", G5

6шт.

394880R1

WASHER

11/32 x 19/32 x .083

6шт.

38

610547C1

O-RING,0.07" Thk x 0.864" ID, -20, Cl 7, 75 Duro

7/8 x 1 x 1/16

1шт.

39

383219R1

O-RING,0.924" ID x 0.103" Width

15/16 x 1-1/8 x 3/32

2шт.

40

9410356

PLUG

7/16-20 str thd o-ring boss

3шт.

41

369751R1

O-RING,0.072" Thk x 0.351" ID, -904, Cl 6, 90 Duro

4-1, 90 Duro, .351" ID x .072" Thk

3шт.

42

394173R1

PLUG

manifold shuttle valve

3шт.

43

364885R1

O-RING,0.097" Thk x 0.755" ID, -910, Cl 6, 90 Duro

3/4 x 15/16 x 3/32

3шт.

44

531174R1

SPRING

manifold relief valve

1шт.

45

531175R1

PISTON

manifold relief valve

1шт.

46

394176R1

SPRING

manifold shuttle valve

2шт.

47

394177R1

WASHER

manifold shuttle valve

2шт.

48

394825R1

DOWEL

PIN, 5/16 x 5/8 dowel

1шт.

49

297459R1

O-RING,0.116" Thk x 1.048" ID, -914, Cl 6, 90 Duro

1-3/64 x 1-7/32 x 7/64

2шт.

50

20947R1

O-RING,0.103" Thk x 0.799" ID, -117, Cl 6, 90 Duro

13/16 x 1 x 3/32

2шт.

51

394279R91

KIT

PACKAGE, relief valve shim

1шт.

52

444687

PLUG,Hex Soc, 1/8"-27

Auto, Pipe Hex Soc, 1/8"-27

1шт.

53

402626R93

VALVE PRESSURE RELIE

VALVE ASSY, high pressure relief

2шт.

54

BODY, not serviced separately order valve assy, 402626R93

1шт.

55

402629R1

BUSHING

ball guide

1шт.

56

17008R1

BALL,1/4" Dia

Chrome-Steel 1/4" Dia

1шт.

57

369751R1

O-RING,0.072" Thk x 0.351" ID, -904, Cl 6, 90 Duro

4-1, 90 Duro, .351" ID x .072" Thk, 1/4 OD tube

1шт.

58

402630R2

CONNECTOR, ELEC

CONNECTOR, 37 deg flared tube special

1шт.

59

SPOOL, valve, not serviced separately order housing, 529426R1

1шт.

60

393887R1

BACK-UP RING

RING, relief valve back-up

4шт.

61

404197R1

SHIM

shaft rear bearing, .010

1шт.

62

SEAL, shaft, not serviced separately order package assy, 403072R92

1шт.

63

166506C1

GASKET,0.81mm Thk

hydrostatic motor

1шт.

393884R91

KIT

PACKAGE, manifold valve housing seal, composed of (1) ring 610547C1 (2) o-ring 383219C1 (2) washer 393886R1

1шт.

393885R91

GASKET KIT

PACKAGE, relief valve seal, composed of (2) o-ring 20947R1, (2) o-ring 297459R1, (4) ring 393887R1

1шт.

403072R92

O-RING KIT

o-ring and seal, composed of (1) seal (NSS), (1) seal (NSS), (2) o-ring 26078R1, (1) o-ring 707220R1, (6) spring 393882R1

1шт.

394171R91

VALVE

ASSY, manifold, consists of ref nos. 37, 40 through 46 and 51

1шт.

Выбрано товаров: 79