Запчасти Case IH 615 (07-26) - DRIVE TRAIN, PROPULSION CONTROL, HYDROSTATIC DRIVE, SERIAL NUMBER 12000 AND BELOW Drive Train

Схема запчастей Case IH 615 - (07-26) - DRIVE TRAIN, PROPULSION CONTROL, HYDROSTATIC DRIVE, SERIAL NUMBER 12000 AND BELOW Drive Train
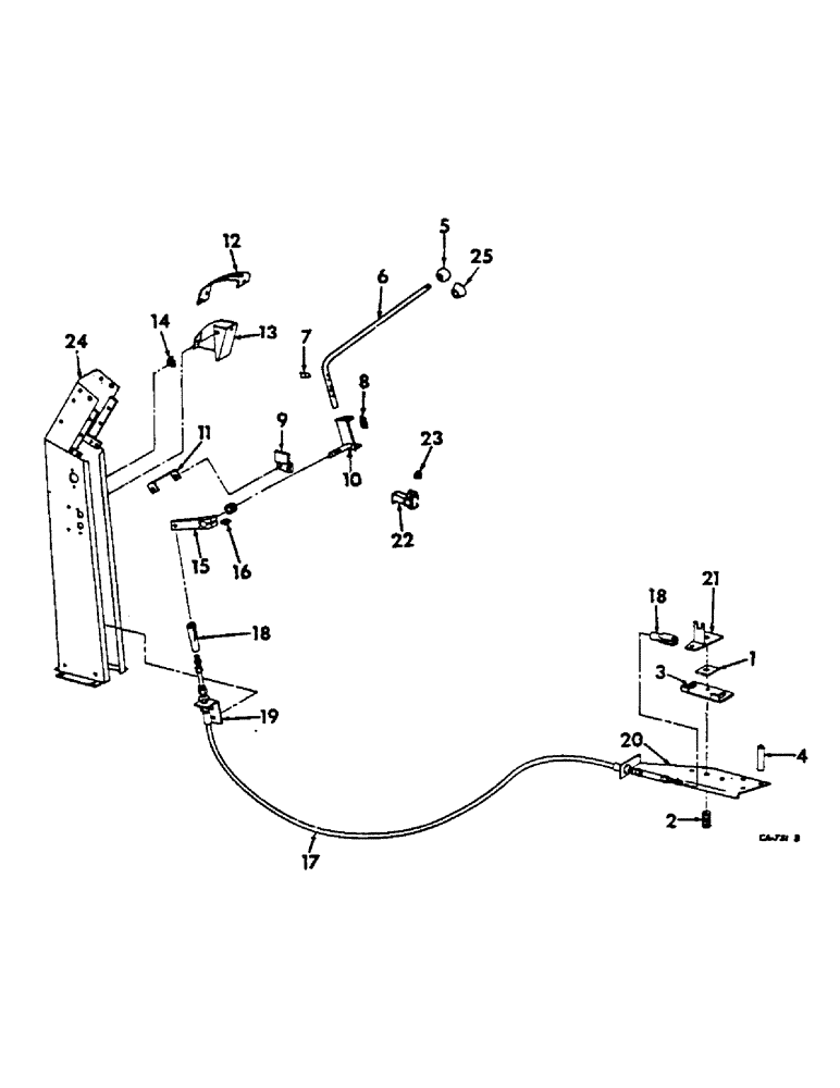
14
18
16
1
15
6
8
22
7
5
3
10
4
11
18
9
23
21
20
19
2
25
12
13
24
17
FIT
1:1
100%

Артикул

Название

Примечание

Количество

1

150627C1

FRICTION WASHER

pump control arm friction

1шт.

2

28395H

SPRING

pump control arm

1шт.

3

171890C1

PLATE

pump control arm stop

1шт.

18795R1

BOLT,Hex, 7/16"-14 x 1 1/4", G2

7/16 x 1-1/4 znd hex-hd mach

2шт.

NLS

NO LONGER SERVICED

NUT, 7/16 znd hex.

2шт.

607891R1

WASHER

15/32 x 1 x 16 ga C-Z

2шт.

4

573174R1

SPACER,5/8" Tube x 3"

pump control arm support plate

3шт.

5

163574C1

KNOB

ground speed control lever, serial no. 8000 and below

1шт.

6

155026C3

LEVER, ground speed control

1шт.

87395

COTTER PIN,1/8" OD x 1-1/4" OAL

PIN, SPLIT (COTTER), 1/8" x 1-1/4"

1шт.

21796R1

WASHER

21/32 x 1 x 16 ga C-Z

1шт.

7

152215C1

STRIP, ground speed indicator

1шт.

134530

NUT,Hex, #6 - 32

1шт.

436668

SCREW, no. 6 x 7/8 C-Z pan hd

1шт.

492-11006

LOCK WASHER,#6

Lock, #6

1шт.

8

151924C1

SPRING

ground speed control lever

1шт.

18656R1

BOLT,Hex, 1/4" - 20 x 1 1/4", Gr 2

1/4 x 1-1/4 znd hex-hd mach

1шт.

120375

NUT,Hex, 1/4" - 20, Gr 5

1шт.

492-11025

LOCK WASHER,1/4"

WASHER, LOCK, 1/4"

1шт.

21784R1

WASHER

17/64 x 1/2 x 16 ga C-Z

1шт.

9

171891C1

BRACKET, ground speed neutral stop

1шт.

18655R1

BOLT,Hex, 1/4"-20 x 1", G2

1/4 x 1 znd hex-hd mach

2шт.

120375

NUT,Hex, 1/4" - 20, Gr 5

2шт.

492-11025

LOCK WASHER,1/4"

WASHER, LOCK, 1/4"

2шт.

10

171893C1

BRACKET

ASSY, ground speed lever

1шт.

87395

COTTER PIN,1/8" OD x 1-1/4" OAL

PIN, SPLIT (COTTER), 1/8" x 1-1/4"

1шт.

21796R1

WASHER

21/32 x 1 x 16 ga C-Z

2шт.

11

151925C1

CLEVIS, steering cover tie

1шт.

18655R1

BOLT,Hex, 1/4"-20 x 1", G2

1/4 x 1 znd hex-hd mach

1шт.

120375

NUT,Hex, 1/4" - 20, Gr 5

1шт.

492-11025

LOCK WASHER,1/4"

WASHER, LOCK, 1/4"

1шт.

12

151970C2

INDICATOR, ground speed

1шт.

938016R1

FLANGE NUT,Flg, USR, 1/4"-20

1/4 C-Z whiz lock

3шт.

453049

SCREW,Slotted Pan Hd, 1/4"-20 x 3/4"

1/4 x 3/4 C-Z pan hd slt mach

3шт.

13

151908C2

COVER, ground speed control lever

1шт.

18653R1

BOLT,Hex, 1/4" - 20 x 1/2", Gr 2

1/4 x 1/2 znd hex-hd mach

1шт.

120375

NUT,Hex, 1/4" - 20, Gr 5

1шт.

432327

HOLE PLUG BUTTON,1"

PLUG, 1 in. button

1шт.

432439

PLUG, 15/32 button

1шт.

492-11025

LOCK WASHER,1/4"

WASHER, LOCK, 1/4"

1шт.

14

935612R1

BRACKET, ground speed control lever cover

1шт.

18653R1

BOLT,Hex, 1/4" - 20 x 1/2", Gr 2

1/4 x 1/2 znd hex-hd mach

1шт.

120375

NUT,Hex, 1/4" - 20, Gr 5

1шт.

492-11025

LOCK WASHER,1/4"

WASHER, LOCK, 1/4"

1шт.

15

151915C91

ARM ASSY, ground speed control lever

1шт.

16

28459KA

WASHER

ground speed control lever arm

1шт.

180122

BOLT,Hex, 3/8" - 16 x 1", Gr 5

3/8 x 1 znd hex-hd cap

1шт.

120382

LOCK WASHER,Helical Spring, 3/8"

WASHER, LOCK, 3/8"

1шт.

17

151909C91

CABLE PULLING GRIP

CABLE ASSY, ground speed control

1шт.

425-145

JAM NUT,Jam, 5/16"-18, G5

5/16 znd hex. jam

2шт.

18

144242

CLEVIS

5/16-24 C-Z adjusting rod end

2шт.

121224

SUPPORT

3/32" x 1"

2шт.

120690

PIN

5/16 x 31/32 C-Z rod end

2шт.

19

151914C1

ANGLE, cable anchor front

1шт.

18508R1

CARRIAGE BOLT,Short Nk, 3/8" - 16 x 3/4", Gr 2, Full Thd

BOLT, 3/8 x 3/4 znd sq-nk crg

2шт.

120377

NUT,3/8" - 16, Gr 5

2шт.

120382

LOCK WASHER,Helical Spring, 3/8"

WASHER, LOCK, 3/8"

2шт.

20

151911C91

BRACKET ASSY, pump control

1шт.

191163

BOLT,Hex, 3/8" - 16 x 4", Gr 5

SCREW, 3/8 x 4 znd hex-hd cap

3шт.

120382

LOCK WASHER,Helical Spring, 3/8"

WASHER, LOCK, 3/8"

3шт.

21

151911C91

ARM ASSY, pump control actuating

1шт.

18802R1

SCREW,Hex, 7/16"-14 x 3", G8

BOLT, 7/16 x 3 znd hex-hd mach

1шт.

271501

SOCKET

NUT, 7/16 znd hex.

2шт.

607891R1

WASHER

15/32 x 1 x 16 ga C-Z C-Z

1шт.

22

155025C1

PAWL, ground speed control lever

1шт.

23

28459KA

WASHER

ground speed control lever pawl

1шт.

18779R1

BOLT,Hex, 3/8"-16 x 1 1/2", Gr 2

3/8 x 1-1/2 znd hex-hd mach

1шт.

120377

NUT,3/8" - 16, Gr 5

1шт.

120382

LOCK WASHER,Helical Spring, 3/8"

WASHER, LOCK, 3/8"

1шт.

24

COLUMN ASSY, steering, refer to group 5 under steering column, wheel and steering cylinder rod end for unit listing

1шт.

25

178599C1

KNOB, ground speed control lever, serial no. 8001 and above

1шт.

Выбрано товаров: 71