Запчасти Case IH 615 (12-09) - POWER, AIR CLEANER AND CONNECTIONS, CARBURETED ENGINE COMBINES Power

Схема запчастей Case IH 615 - (12-09) - POWER, AIR CLEANER AND CONNECTIONS, CARBURETED ENGINE COMBINES Power
14
15
3
11
6
17
1
7
15
8
5
12
16
9
2
13
4
10
FIT
1:1
100%

Артикул

Название

Примечание

Количество

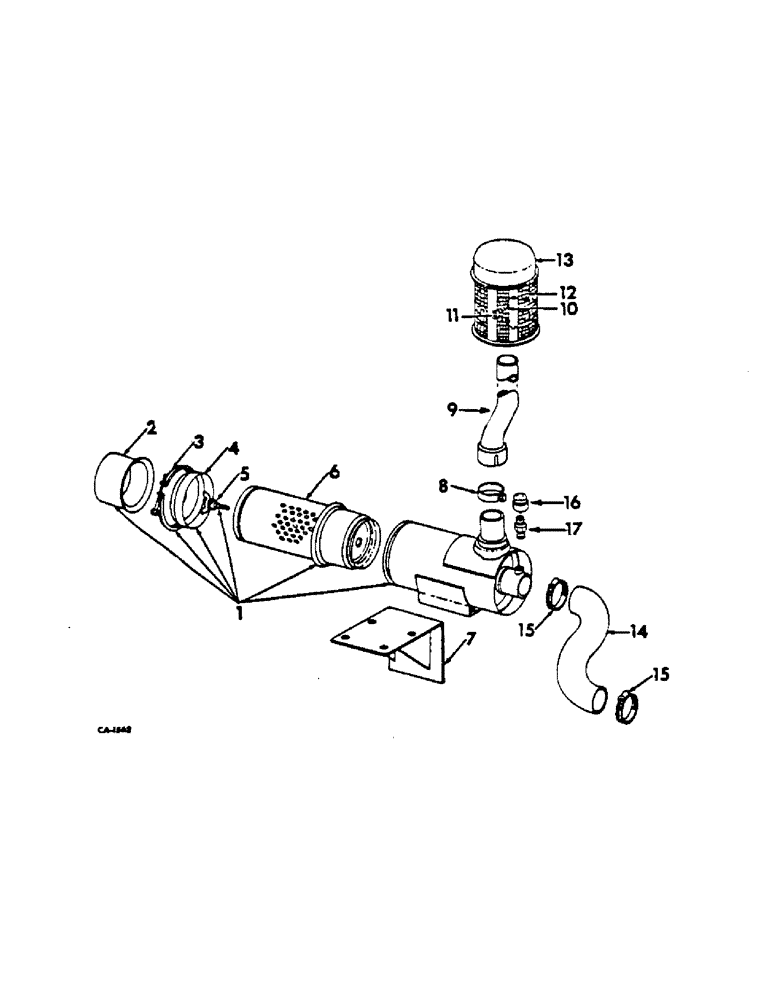
1

397173R91

CLEANER ASSY, dry type air

1шт.

180077

BOLT,Hex, 5/16" - 18 x 3/4", Gr 5

SCREW, 5/16-18 x 3/4 znd hex-hd cap

4шт.

80681

LOCK WASHER,5/16"

WASHER, LOCK, 5/16"

3шт.

178532

LOCK WASHER,Ext-Int Tooth, 5/16"

WASHER, 5/16 znd int-ext tooth lock

1шт.

2

389267R91

BOWL

CUP ASSY

1шт.

3

381339R91

CLAMP

ASSY

1шт.

4

381345R1

BAFFLE

1шт.

5

389264R91

BOLT (SPREADER),Wing, 3/8" - 16, W/ Wshr, Gasket

BOLT ASSY

1шт.

6

384812R93

AIR CLEANER

ELEMENT ASSY

1шт.

7

387982R11

BRACKET ASSY, air cleaner

1шт.

180122

BOLT,Hex, 3/8" - 16 x 1", Gr 5

3/8-16 x 1 znd hex-hd cap

2шт.

120382

LOCK WASHER,Helical Spring, 3/8"

WASHER, LOCK, 3/8"

2шт.

120394

WASHER,3/8", SAE

WASHER, 13/32 x 13/16 x 16 ga C-Z

2шт.

8

379368R91

COLLAR CLAMP

CLAMP, pre-screener pipe

1шт.

9

533826R1

PIPE, pre-screener

1шт.

10

353639R1

VALVE SPRING

SPRING, screen lock tension

2шт.

11

353758R1

CLIP

screen lock spring

1шт.

12

355146R91

SCREEN

W/CLIP, 353758R1 and two springs 353639R1, pre-screener

1шт.

13

354983R91

CLEANER

PRE-SCREENER W/QUICK REMOVAL SCREEN, includes ref. nos. 10, 11 & 12

1шт.

14

534919R1

HOSE, air cleaner outlet

1шт.

15

397256R1

HOSE CLAMP,#44, 2.31/3.25 Type F Worm, W/liner

CLAMP, air cleaner outlet hose

2шт.

16

877601C1

SPARE PART

INDICATOR, air restriction

1шт.

17

547008R1

ADAPTER ASSY, filter

1шт.

Выбрано товаров: 23