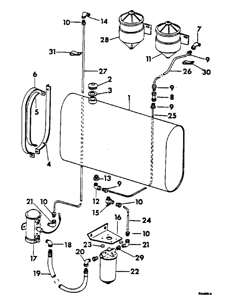
Запчасти Case IH 615 (12-16) - POWER, FUEL TANK, LINES AND PUMP, DIESEL ENGINE, SERIAL NO. 8000 AND BELOW Power

Схема запчастей Case IH 615 - (12-16) - POWER, FUEL TANK, LINES AND PUMP, DIESEL ENGINE, SERIAL NO. 8000 AND BELOW Power
7
8
21
30
9
6
13
10
16
31
5
1
24
23
29
10
10
17
11
9
22
10
2
9
18
27
20
4
12
14
28
21
15
19
25
26
3
9
FIT
1:1
100%

Артикул

Название

Примечание

Количество

1

155587C91

TANK ASSY, fuel, includes ref nos 2 and 3

1шт.

2

23995DC

FILLER CAP

CAP, filler, includes ref no 3

1шт.

3

23997DC

GASKET, filler cap

1шт.

4

564529R1

SUPPORT, fuel tank

2шт.

18778R1

SCREW,Hex, 3/8"-16 x 3/4", G2

BOLT, 3/8 x 3/4 znd hex-hd mach

4шт.

174608C1

BOLT,Hex, 3/8" x 1 1/2"

special mach

2шт.

5

LINING, fuel tank, order cotton webbing from bulk stock 1 x 56 in. 2 ply

1шт.

6

569462R2

STRAP, fuel tank sprt

2шт.

18778R1

SCREW,Hex, 3/8"-16 x 3/4", G2

BOLT, 3/8 x 3/4 znd hex-hd mach

2шт.

120377

NUT,3/8" - 16, Gr 5

2шт.

120382

LOCK WASHER,Helical Spring, 3/8"

WASHER, LOCK, 3/8"

2шт.

7

24847H

ELBOW,90 Degree x 1/8" NPT x 1/2"-20

fuel upper return line

1шт.

8

50050D

UNION, fuel return line

1шт.

9

222-503

TUBE NUT,1/2"-20

NUT, fuel return line

4шт.

10

222-504

TUBE NUT,9/16"-20

NUT, fuel line

4шт.

11

FILTER ASSY, final fuel, refer to eng-5 parts catalog section A for unit listing

1шт.

12

36391DX

ELBOW

fuel return lower

1шт.

13

NLS

NO LONGER SERVICED

REDUCER, 3/8 x 1/4 plain

1шт.

14

37323D

ELBOW,90 Degree x 1/4" NPT x 9/16"-20

fuel line upper

1шт.

15

307881R91

COCK

VALVE ASSY, fuel shut-off

1шт.

16

172108C1

SUPPORT, fuel filter

1шт.

120375

NUT,Hex, 1/4" - 20, Gr 5

2шт.

413-410

BOLT,Hex, 1/4" - 20 x 5/8", Gr 5

SCREW, 1/4 x 5/8 znd hex-hd cap

2шт.

492-11025

LOCK WASHER,1/4"

WASHER, LOCK, 1/4"

2шт.

17

170352C1

PUMP

ASSY, elect fuel

1шт.

120375

NUT,Hex, 1/4" - 20, Gr 5

2шт.

413-410

BOLT,Hex, 1/4" - 20 x 5/8", Gr 5

SCREW, 1/4 x 5/8 znd hex-hd cap

2шт.

492-11025

LOCK WASHER,1/4"

WASHER, LOCK, 1/4"

2шт.

18

118755

ELBOW

90 deg flared tube

1шт.

19

277041R91

PIPE CLAMP

HOSE ASSY, filter to fuel pump

1шт.

20

105423

ELBOW,90 Degree, 1/4" NPT Street

1/4 x 90 deg street

1шт.

21

37323D

ELBOW,90 Degree x 1/4" NPT x 9/16"-20

fuel pump and filter

2шт.

22

FILTER ASSY, fuel, refer to fuel filter for unit listing

1шт.

23

M22657

SPACER, 3/8 x 3/4 std pipe

4шт.

18656R1

BOLT,Hex, 1/4" - 20 x 1 1/4", Gr 2

1/4 x 1-1/4 znd hex-hd mach

4шт.

492-11025

LOCK WASHER,1/4"

WASHER, LOCK, 1/4"

4шт.

24

TUBE, fuel tank to filter, use 13 in. of 3/8 in. OD copper tubing from 50 ft roll marked 995063R1 and two nuts 37165D

1шт.

25

TUBE, fuel return lower, use 55 in. of 5/16 in. OD copper tubing from 50-ft roll marked 995062R1 and two 29899D nuts

1шт.

26

TUBE, fuel return upper, use 37 in. of 5/16 OD copper tubing from 50-ft roll marked 995062R1 and two 29899D nuts

1шт.

27

TUBE, fuel pump to final fuel filter, use 74 in. OD copper tubing from 50 ft roll marked 995063R1 and two nuts 37165D

1шт.

28

FILTER ASSY, primary fuel, refer to eng-5 parts catalog section A for unit listing

1шт.

29

217-42

REDUCER,3/8" - 18 NPT x 1/4" - 18 NPT

ADAPTER, reducing pipe

2шт.

30

633125R2

CLAMP

CLIP, return return upper line

1шт.

30

589980R2

CLIP

return fuel line

2шт.

31

587501R2

CLAMP

CLIP, fuel pump to primary filter line

2шт.

Выбрано товаров: 45