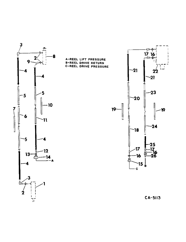
Запчасти Case IH 715 (10-09) - HYDRAULICS, HYDRAULIC DIAGRAM, REEL DRIVE AND REEL LIFT, HEADER PARTS (07) - HYDRAULICS

Схема запчастей Case IH 715 - (10-09) - HYDRAULICS, HYDRAULIC DIAGRAM, REEL DRIVE AND REEL LIFT, HEADER PARTS (07) - HYDRAULICS
21
4
14
3
17
26
20
23
13
3
4
4
18
17
24
10
5
2
7
22
19
4
11
2
5
5
15
16
17
16
6
1
16
8
12
9
25
19
21
FIT
1:1
100%

Артикул

Название

Примечание

Количество

1

CYLINDER ASSY, slave, refer to this group under slave cylinder

1шт.

2

364839R1

O-RING,0.078" Thk x 0.468" ID, -906, Cl 6, 90 Duro

6-1, 90 Duro, .468" ID x .078" Thk, 3/8 OD tube

3шт.

3

9410973

ELBOW,90 Degree, 3/8"-24, 37 Degree x 3/8"-24, O-Ring

9/16-18 37 deg flared 90 deg

2шт.

4

336081R1

HOSE

ASSY, reel lift

4шт.

5

178812C1

HYD TUBE

TUBE ASSY, outer end

3шт.

6

178811C1

HYD TUBE

TUBE ASSY, master to slave cyl center

1шт.

7

172015C1

TUBE

ASSY, spacer, 36 in., 1 for 13 ft header w/cutting equip

1шт.

7

197530C1

TUBE,0.375" OD

ASSY, spacer, 39 in., 2 for 16.5 ft header

1шт.

7

178818C1

TUBE

ASSY, spacer, 45 in., 2 for 16.5 ft header

1шт.

7

178819C1

TUBE

ASSY, spacer, 60 in., 1 for 15 ft header, 1 for 20 ft. header

1шт.

8

CYLINDER ASSY, master, refer to this group under master cylinder

1шт.

9

9411104

ELBOW,45 Degree, 9/16"-18, 37 Degree x 9/16"-18, O-Ring

45 deg 9/16-18 37 deg flared

1шт.

10

178817C1

TUBE,0.375" OD, 18" Length

ASSY, spacer 18 in., 1 for 13 ft header w/cutting equipment

1шт.

10

162377C91

TUBE,30" Length

ASSY, spacer, 30 in., 1 for 15 ft header

1шт.

10

197530C1

TUBE,0.375" OD

ASSY, spacer, 39 in., 1 for 16.5 ft header

1шт.

10

178818C1

TUBE

ASSY, spacer, 45 in., 1 for 17.5 ft header

1шт.

10

178819C1

TUBE

ASSY, spacer, 60 in., 1 for 20 ft header

1шт.

11

178813C1

HYD TUBE,.375" OD, 35, 1.25" Length

TUBE ASSY, pressure to master cylinder center

1шт.

12

9410202

HYD CONNECTOR,9/16"-18, 37 Degree x 9/16"-18, O-Ring

CONNECTOR, 9/16 37 deg flared

1шт.

13

364839R1

O-RING,0.078" Thk x 0.468" ID, -906, Cl 6, 90 Duro

6-1, 90 Duro, .468" ID x .078" Thk, 3/8 OD tube

1шт.

14

187563C91

COUPLING ASSY, self sealing female

1шт.

15

395150R91

COUPLING, QUICK, FEM

COUPLING ASSY, self sealing female

1шт.

16

364885R1

O-RING,0.097" Thk x 0.755" ID, -910, Cl 6, 90 Duro

5/8 OD tube

4шт.

17

481352R1

HYD CONNECTOR,3/4"-16, 37 Degree x 7/8"-14, O-Ring

CONNECTOR, 3/4-16 x 7/8-14 37 deg

4шт.

18

178853C1

HYD TUBE

TUBE, inner pressure

1шт.

19

935666R11

PIPE

TUBE, spacer, 12 in., for 15 ft header

2шт.

19

172062C1

TUBE

spacer, 21 in., for 16.5 ft header

2шт.

19

178856C1

TUBE

spacer, 27 in., for 17.5 ft header

2шт.

19

178857C1

TUBE

spacer, 42 in., for 20 ft header

2шт.

20

178854C1

HYD TUBE

TUBE, outer pressure

1шт.

21

587582R91

HOSE ASSY.

HOSE ASSY, motor, 29 in.

2шт.

22

MOTOR ASSY, hydraulic reel drive, refer to this group under hydraulic reel drive motor

1шт.

23

178852C1

HYD TUBE

TUBE, outer return

1шт.

24

178851C1

HYD TUBE

TUBE, inner return

1шт.

25

675987R91

HOSE

ASSY, reel drive

1шт.

26

395149R1

QUICK MALE COUPLING

COUPLING ASSY, self sealing male

1шт.

Выбрано товаров: 36