Запчасти Case IH 715 (10-11) - HYDRAULICS, HYDRAULIC DIAGRAM, ACCUMULATOR AND AUTOMATIC HEADER CONTROL (07) - HYDRAULICS

Схема запчастей Case IH 715 - (10-11) - HYDRAULICS, HYDRAULIC DIAGRAM, ACCUMULATOR AND AUTOMATIC HEADER CONTROL (07) - HYDRAULICS
8
20
14
13
15
8
2
18
6
1
4
7
13
13
13
16
10
5
14
14
13
12
17
3
2
21
9
8
11
19
3
FIT
1:1
100%

Артикул

Название

Примечание

Количество

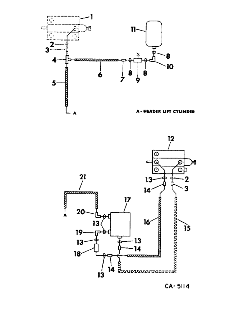
1

VALVE ASSY, header lift, refer to this group under header lift and steering system

1шт.

2

O-RING, 1/2 in., refer to this group under header lift and steering system

1шт.

3

CONNECTOR, 3/4-16 x 7/8-14 37 deg, refer to this group under header lift and steering system

1шт.

4

9410334

TEE,37 Degree, 7/8"-14 x 7/8"-14, Fem Sw Run

90 deg 7/8-14 37 deg flared

1шт.

5

196696C1

HOSE

header lift

1шт.

6

155225C91

HOSE ASSY.

HOSE ASSY, accumulator

1шт.

7

9410204

HYD CONNECTOR,7/8"-14, 37 Degree x 7/8"-14, O-Ring

CONNECTOR, 7/8 -14 37 deg flared

1шт.

8

364885R1

O-RING,0.097" Thk x 0.755" ID, -910, Cl 6, 90 Duro

5/8 OD tube

3шт.

9

195989C1

LOCK VALVE

VALVE ASSY, accumulator shut-off

1шт.

10

196973C1

ELBOW

90 deg 7/8-14

1шт.

11

ACCUMULATOR ASSY, refer to this group under accumulator and bracker

1шт.

12

VALVE ASSY, header lift control, refer to this group under header lift valve, for automatic header control

1шт.

13

570828R1

O-RING,0.087" Thk x 0.644" ID, -908, Cl 6, 90 Duro

1/2 OD tube

6шт.

14

384539R1

HYD CONNECTOR,7/8"-14, 37 Degree x 3/4"-16, O-Ring

CONNECTOR, 3/4-16 x 7/8-14 37 deg

1шт.

15

HOSE ASSY, header lift cylinder, refer to this group under header lift and steering system

1шт.

16

196696C1

HOSE

ASSY, header flow control return pressure

1шт.

17

VALVE ASSY, header auto flow control, refer to this group under header automatic flow control valve

1шт.

18

174276C1

FITTING

COUPLING, flow control to header lift return

1шт.

19

174212C1

ELBOW, 3/4-16

1шт.

20

9410977

ELBOW,90 Degree, 3/4"-16, 37 Degree x 3/4"-16, O-Ring

3/4-16 37 deg

1шт.

21

187640C1

HOSE

ASSY, header lift cylinder

1шт.

Выбрано товаров: 21