Запчасти Case IH 815 (N-17) - PARTS, ACCESSORIES AND ATTACHMENTS, OPERATORS CAB HEATER SERIAL NO. 3452 AND ABOVE Accessories & Attachments

Схема запчастей Case IH 815 - (N-17) - PARTS, ACCESSORIES AND ATTACHMENTS, OPERATORS CAB HEATER SERIAL NO. 3452 AND ABOVE Accessories & Attachments
12
5
14
22
17
9
20
4
8
4
4
15
21
10
7
4
5
2
4
20
18
17
17
13
19
1
4
19
11
17
3
3
16
6
FIT
1:1
100%

Артикул

Название

Примечание

Количество

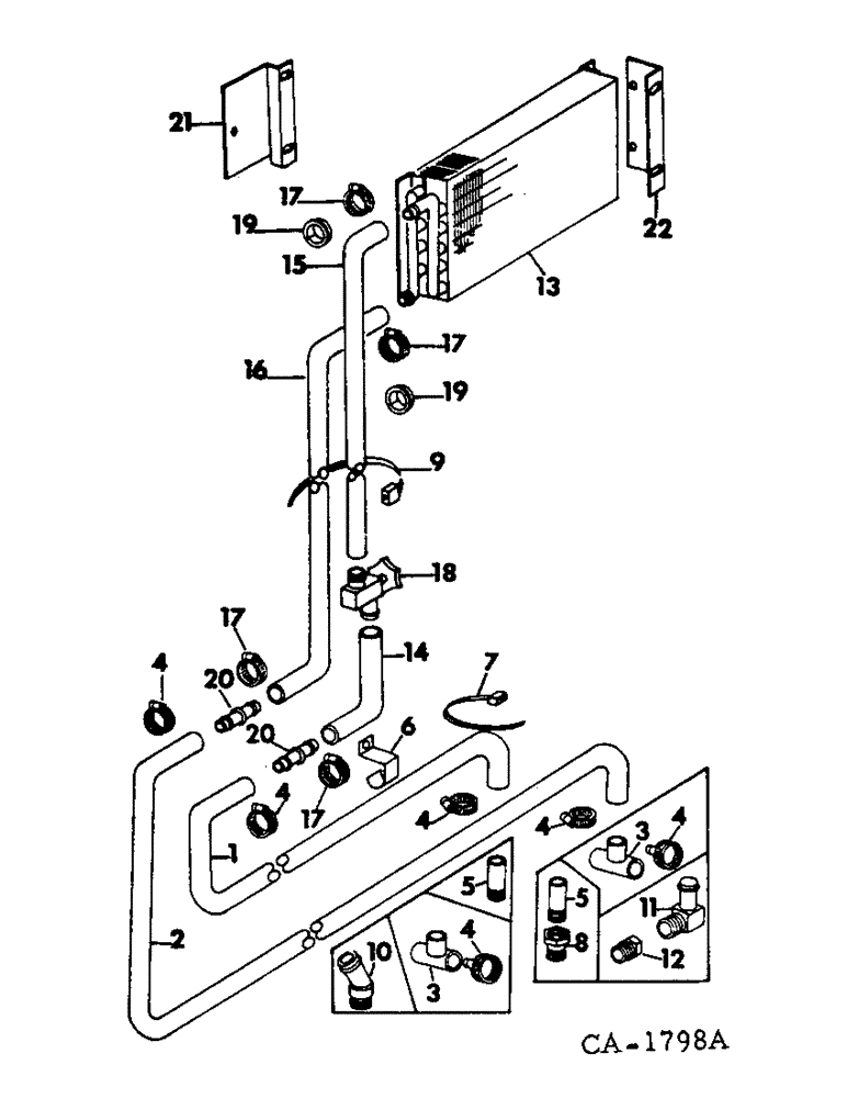
1

HOSE, heater, use 144 inches of 5/8 ID hose from 50 ft roll marked 995108R2

1шт.

2

HOSE, heater, use 175 inches of 5/8 OD hose from 50 ft roll marked 995108R2

1шт.

3

167600R1

TEE, heater hose, 1 used V-8 gasoline, 2 used V-8 LP gas engine

1шт.

4

274085R91

HOSE CLAMP,#10, 0.56/1.06 Type F Worm

CLAMP, 1-1/16 hose, 4 used diesel, 6 used V-8 LP gas engine

1шт.

5

574631R1

FITTING

heater hose, 2 used D-407 diesel, 1 used all V-8 engines

1шт.

6

394271R1

CLIP

heater hose dual

2шт.

7

386170C1

CABLE TIE,.30" x 27 1/2"

STRAP, heater hose, D-407 diesel & all V-8 engines

1шт.

8

175778H1

ADAPTER

1/2-3/8 brass reducer pipe, D-407 diesel

1шт.

9

702093C1

CABLE TIE

STRAP, heater hose lock, D-414 diesel

4шт.

10

864449R1

ELBOW

FITTING, 1/2 to 5/8 hose, D-414 diesel

1шт.

11

864458R1

ELBOW

FITTING, 5/8 to 1/2 pipe 90 degree, D-414 diesel

1шт.

12

221-93

REDUCER,Hex, 3/4" x 1/2" NPT

3/4 inch to 1/2 inch zinc, D-414 diesel

1шт.

13

173914C1

CORE, heater

1шт.

164539

GEAR

SCREW, no. 14 x 3/8 pan-hd tap

4шт.

160515

SCREW,Cross Pan Hd, 1/4" - 20 x 1/2"

3шт.

14

HOSE, heater lower, use 15 inches of 5/8 ID hose from 50 ft roll marked 995108R2

1шт.

15

HOSE, heater upper, use 97 inches of 5/8 ID hose from 50 ft roll marked 995108R2

1шт.

16

HOSE, heater outer, use 114 inches of 5/8 ID hose from 50 ft roll marked 995108R2

1шт.

17

995218R1

CLAMP

hose

6шт.

18

173908C1

VALVE

water shut-off

1шт.

120361

NUT,Hex Mach Screw, #10 - 24

1шт.

173122

WASHER

no. 10 C-Z int-ext lock

1шт.

19

173896C1

GROMMET, 29/32 ID

2шт.

20

173898C1

FITTING

TUBE, lower heater hose adapter

2шт.

21

175579C1

BRACKET, heater mounting LH, for cab w/left side air intake

1шт.

186491

SCREW,Hex Hd, 1/4"-20 x 1/2", w/LW

1/4 x 1/2 hex-hd mach

2шт.

22

175580C1

BRACKET, heater mounting RH, for cab w/left side air intake

1шт.

186491

SCREW,Hex Hd, 1/4"-20 x 1/2", w/LW

1/4 x 1/2 hex-hd mach

2шт.

Выбрано товаров: 28