Запчасти Case IH 815 (H-04) - CONTROLS, WHEEL BRAKE CYLINDER AND PARKING BRAKE Controls

Схема запчастей Case IH 815 - (H-04) - CONTROLS, WHEEL BRAKE CYLINDER AND PARKING BRAKE Controls
22
6
2
19
12
10
16
27
11
26
27
24
11
4
7
11
11
19
14
25
5
10
7
12
29
3
17
18
15
28
13
30
15
21
9
8
29
20
1
23
3
14
FIT
1:1
100%

Артикул

Название

Примечание

Количество

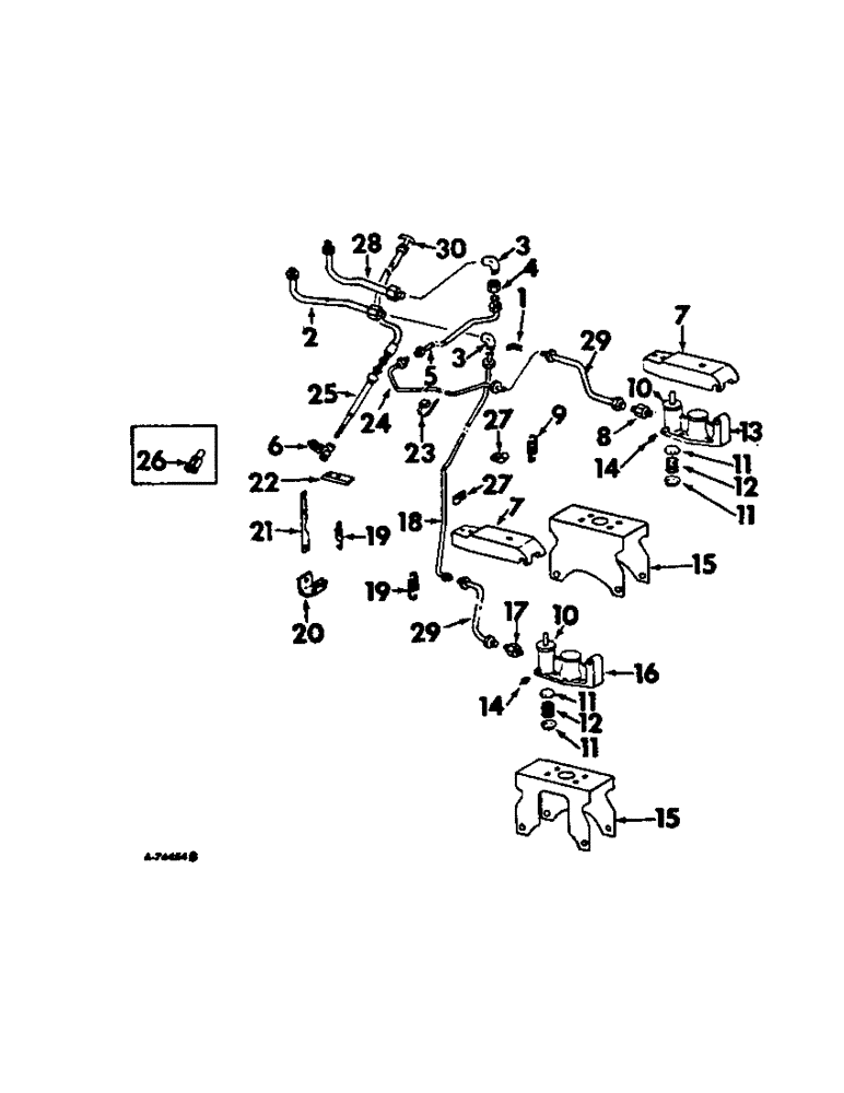
1

168266C1

ANGLE, brake tube clip upper

1шт.

2

TUBE ASSY, left upper brake cylinder to fitting, use 8 in. of 1/4 in. OD steel tubing from 25 ft roll marked 990094C1, one 9403525 nut, one 9403447 sleeve and one 142432 nut

1шт.

3

168298C1

ELBOW, 7/16-20 C-Z 37 deg flared tube 1/4 bulkhead union

2шт.

4

9403291

BHD LOCK NUT,Blkhd, 7/16"-20

NUT, 7/16-20 flared tube 37 deg C-Z

2шт.

5

TUBE ASSY, right brake, use 80 in. of 1/4 in. OD steel tubing from 25 ft roll marked 990094C1, two 9403525 nuts and two 9403447 sleeves

1шт.

6

165288C91

JOINT

BALL JOINT, 1/4-28 NF

1шт.

7

165283C1

LEVER

wheel brake cylinder

2шт.

441373

PIN, 1/2 x 2-1/4 staight 1/2" x 2 1/4"

2шт.

8

118748

CONNECTOR, ELEC

CONNECTOR, 1/8-27 NPT inverted flare plain

1шт.

9

667480R1

SPRING

brake compression

2шт.

10

662620R1

COVER

BOOT, wheel brake cylinder

4шт.

11

51906H

CUP

wheel brake cylinder piston rubber

4шт.

12

662612R1

SPRING

wheel brake cup

2шт.

13

662614R11

BRAKE ASSY.

CYLINDER ASSY, right wheel brake, includes ref nos. 10, 11, 12 and kit assy 665989R91

1шт.

18475R1

BOLT,Hex, 5/16" - 18 x 1 1/4", Gr 2

5/16 x 1-1/4 C-Z hex-hd mach

1шт.

120376

NUT,5/16"-18, G5

4шт.

80681

LOCK WASHER,5/16"

WASHER, LOCK, 5/16"

4шт.

21496R1

WASHER

11/32 x 3/4 x 1 ga C-Z

4шт.

14

660901R1

VALVE

wheel brake cylinder bleeder

2шт.

15

665986R2

BRACKET, wheel brake cylinder

2шт.

271501

SOCKET

NUT, 7/16 C-Z hex

1шт.

189310

SUPPORT,Hex, 7/16" x 4 1/4"

SCREW, 7/16 x 4-1/4 hex-hd cap

4шт.

893862R1

WASHER

15/32 x 1-1/4 x 11 ga C-Z

4шт.

16

663920R11

CYLINDER

ASSY, left wheel brake, includes ref nos. 10, 11, 12 and kit assy 665989R91

1шт.

18475R1

BOLT,Hex, 5/16" - 18 x 1 1/4", Gr 2

5/16 x 1-1/4 C-Z hex-hd mach

4шт.

120376

NUT,5/16"-18, G5

4шт.

80681

LOCK WASHER,5/16"

WASHER, LOCK, 5/16"

4шт.

21496R1

WASHER

11/32 x 3/4 x 1 ga C-Z

4шт.

17

118748

CONNECTOR, ELEC

CONNECTOR, 1/8-27 NPT inverted flare plain

1шт.

18

TUBE ASSY, left brake, use 65 in. of 1/4 in. OD steel tubing from 25 ft roll marked 990094C1, two 9403525 nuts and two 9403447 sleeves

1шт.

19

271199R1

SPRING

parking brake ratchet

1шт.

20

165251C91

SUPPORT ASSY, parking brake ratchet

1шт.

137159

COTTER PIN

3/32" x 5/8"

1шт.

21881R1

CLEVIS PIN

PIN, 3/8 x 1 C-Z rod end

1шт.

21

165234C1

SECTOR, parking brake ratchet

1шт.

22

165221C1

BAR, parking brake ratchet

1шт.

18474R1

BOLT,Hex, 5/16" - 18 x 1", Gr 2

5/16 x 1 C-Z hex-hd mach

2шт.

120376

NUT,5/16"-18, G5

2шт.

80681

LOCK WASHER,5/16"

WASHER, LOCK, 5/16"

2шт.

22

702093C1

CABLE TIE

CLAMP, lower right brake

2шт.

24

TUBE ASSY, brake center cross-over, use 35 in. of 1/4 in. OD steel tubing from 25 ft roll marked 990094C1, one 9403525 nut, one 9403447 sleeve and one 157279C1 spud

1шт.

25

166148C91

CABLE ASSY, parking brake

1шт.

NLS

NO LONGER SERVICED

CLEVIS, no. 10-32 C-Z adjustable rod end, serial no. 1530 and below, 1 used standard, 2 used w/axle entension

1шт.

107762

WASHER,3/32" x 5/8"

PIN, SPLIT, (COTTER), 3/32" x 5/8"

1шт.

20286

DIPSTICK

PIN, 3/16 x 1-3/32 C-Z rod end

1шт.

27

587501R2

CLAMP

CLIP, left and right brake tube

2шт.

18764R1

HARDWARE,Hex, 5/16"-18 x 3/4", G2

BOLT, 5/16 x 3/4 C-Z hex-hd mach

2шт.

120376

NUT,5/16"-18, G5

2шт.

80681

LOCK WASHER,5/16"

WASHER, LOCK, 5/16"

2шт.

28

TUBE ASSY, right upper brake cylinder to fitting, use 8 in. of 1/4 in. OD steel tubing from 25 ft roll marked 990094C1, one 9403525 nut, one 9403447 sleeve and one 142432 nut

1шт.

29

TUBE ASSY, brake outer, use 6 inches of 1/4 OD steel tubing from 25 ft roll marked 990094C1, one nut 142432 and one spud 157279C1

1шт.

30

170273C1

HANDLE

brake control cable

1шт.

665989R91

PISTON

KIT ASSY, wheel brake cylinder repair

1шт.

Выбрано товаров: 0