Запчасти Case IH 815 (H-06) - CONTROLS, CONCAVE CONTROL Controls

Схема запчастей Case IH 815 - (H-06) - CONTROLS, CONCAVE CONTROL Controls
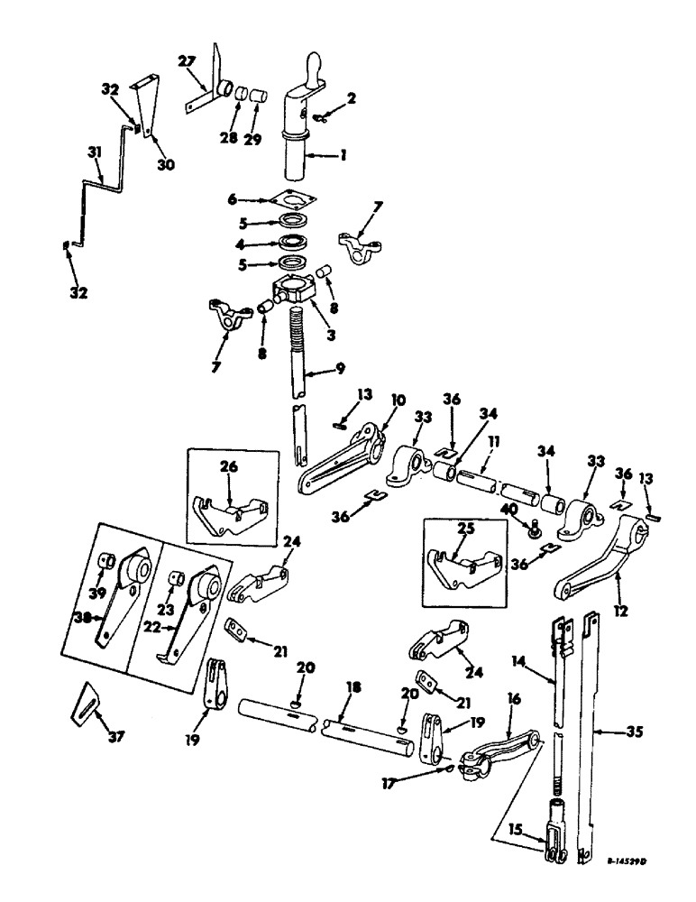
17
13
21
37
13
19
2
29
19
15
30
34
7
14
18
3
24
1
24
8
20
33
36
26
39
35
32
38
20
25
27
4
12
36
7
36
5
9
11
6
21
28
31
23
34
16
8
22
33
5
10
32
40
36
FIT
1:1
100%

Артикул

Название

Примечание

Количество

1

157749C2

CRANK, concave control

1шт.

143992

PLUG,Slotted, 1/4" NPT

1/4-18 C-Z slt hdls pipe

1шт.

21718R1

WASHER

1-17/32 x 2-1/4 x 11 ga C-Z

1шт.

2

109461

LUBE NIPPLE,1/8"-27 x .66 lg

NIPPLE, LUBE, , NPT 1/8"-27 x .66 lg

1шт.

3

157747C1

PIVOT, concave control crank

1шт.

4

371226R91

THRUST BEARING

concave control crank pivot thrust, serial no. 1972 and below

1шт.

5

627095R1

RACE, concave control crank pivot brg thrust, serial no. 1972 and below

2шт.

6

157748C1

BAR, concave control crank pivot cover

1шт.

18657R1

BOLT,Hex, 1/4"-20 x 1-1/2", G2

1/4 x 1-1/2 C-Z hex-hd mach

4шт.

120375

NUT,Hex, 1/4" - 20, Gr 5

4шт.

492-11025

LOCK WASHER,1/4"

WASHER, LOCK, 1/4"

4шт.

21870R1

WASHER

17/64 x 3/4 x 16 ga C-Z

4шт.

7

157746C11

BLOCK ASSY, concave control crank, includes ref no. 8

2шт.

18494R1

BOLT,Hex, 3/8" - 16 x 1", Gr 2

3/8 x 1 C-Z hex-hd mach

4шт.

120377

NUT,3/8" - 16, Gr 5

4шт.

120382

LOCK WASHER,Helical Spring, 3/8"

WASHER, LOCK, 3/8"

4шт.

8

382638R2

BUSHING,19.07mm ID x 22.24mm OD x 19.05mm L

concave control crank pivot block

2шт.

9

161640C1

ROD, concave adjustment

1шт.

121222

COTTER PIN,3/32" x 3/4"

PIN, SPLIT (COTTER), 3/32" x 3/4"

1шт.

138084

SPLIT PIN/SAFETY PIN

PIN, 3/8 x 1-3/32 rod end C-Z

1шт.

10

164587C1

LEVER, concave inner

1шт.

20100R1

BOLT,Hex, 1/2" - 13 x 2 3/4", Gr 8

1/2 x 2-3/4 C-Z hex-hd mach

1шт.

21330R1

NUT,1/2"-13, G8

1/2 C-Z hex

1шт.

366864C1

LOCK WASHER,1/2"

1/2"

1шт.

11

164585C2

SHAFT, concave lever

1шт.

608700R1

WASHER

1-9/32 x 2 x 16 ga C-Z

1шт.

12

164586C1

LEVER, concave outer, serial no. 1249 and below

1шт.

12

168985C1

LEVER, concave outer, serial no. 1250 and above

1шт.

20100R1

BOLT,Hex, 1/2" - 13 x 2 3/4", Gr 8

1/2 x 2-3/4 C-Z hex-hd mach

1шт.

21330R1

NUT,1/2"-13, G8

1/2 C-Z hex

1шт.

366864C1

LOCK WASHER,1/2"

1/2"

1шт.

13

151257C1

KEY, 5/16 x 1-3/4 straight

2шт.

14

161645C91

YOKE ASSY, concave control lower, serial no. 3783 and below

1шт.

121222

COTTER PIN,3/32" x 3/4"

PIN, SPLIT (COTTER), 3/32" x 3/4"

1шт.

20614R1

CLEVIS PIN,9.53mm OD x 34.14mm L

PIN, 3/8 x 1-11/32 rod end C-Z

1шт.

15

144247

CLEVIS, 3/4 adj rod end heavy, serial no. 3783 and below

1шт.

137218

COTTER PIN,5/32" x 1 1/4"

PIN, SPLIT (COTTER), 5/32" x 1 1/4"

1шт.

138145

CLEVIS PIN,3/4" x 1.910"

PIN, 3/4 x 2-3/64 rod end C-Z

1шт.

467750R1

WASHER

25/32 x 1-1/2 x 11 ga C-Z

1шт.

16

161647C2

ARM, concave control outer lower

1шт.

454948

BOLT,Hex, 7/16" - 14 x 2 1/2", Gr 8

3/8 x 2-1/2 C-Z hex-hd cap

1шт.

9418646

NUT,7/16"-14, G8

3/8 C-Z hex

1шт.

366863C1

LOCK WASHER

WASHER, 3/8 C-Z rib lock

1шт.

17

88907

WOODRUFF KEY,#B, 5/16" x 1", HT

5/16 x 1 Woodruff

1шт.

18

157788C2

SHAFT

concave control arm pivot

1шт.

19

157569C3

ARM

concave control front

2шт.

124824

NUT,Hex, 5/16" - 18

5/16 C-Z hex-jam

2шт.

178758

SET SCREW,Sq Hd, 5/16" - 18 x 3/4", Cup Pt

SCREW, 5/16 x 3/4 C-Z sq-hd cup-pt set

2шт.

20

124554

O-RING

5/16 x 1 Woodruff

2шт.

21

157871C2

BAR

concave control front arm supt

2шт.

137185

COTTER PIN,1/8" x 1"

PIN, SPLIT (COTTER), 1/8" x 1"

4шт.

138086

CLEVIS PIN,1/2" x 1.360"

PIN, 1/2 x 1-27/64 rod end C-Z

4шт.

22

157731C91

ARM ASSY, concave control leveling, includes ref no. 1972 and below

1шт.

17452R1

BOLT,Hex, 1/2"-13 x 1 1/4", G2

1/2 x 1-1/4 C-Z hex-hd mach

1шт.

19059R1

PLOW BOLT,#3, 1/2" - 13 x 1 1/4", Gr 2

BOLT, 1/2 x 1-1/4 C-Z no. 3 plow

1шт.

120378

NUT,Hex, 1/2" - 13, Gr 5

NUT, 1/2"-13, G5

2шт.

120384

WASHER,1/2"

LOCK, 1/2"

2шт.

23

157560C1

BUSHING

concave control leveling arm hub, serial no. 1972 and below

1шт.

24

158004C2

LEVER

concave front support, not Windrow special

2шт.

25

157931C1

LEVER, concave front support left, for Windrow special

1шт.

26

157932C1

LEVER, concave front support right, for Windrow special

1шт.

27

164737C91

INDICATOR ASSY, concave, includes ref no. 28

1шт.

28

568921R1

BUSHING,15.9mm ID x 19.02mm OD x 22.23mm L

concave indicator hub

1шт.

29

156064C1

SPACER

BUSHING, concave indicator

1шт.

30

164735C1

SUPPORT, concave indicator

1шт.

16897R1

CARRIAGE BOLT,Short Nk, 5/16" - 18 x 3/4", Gr 2, Full Thd

BOLT, 5/16 x 3/4 C-Z sq-nk crg

2шт.

18779R1

BOLT,Hex, 3/8"-16 x 1 1/2", Gr 2

3/8 x 1-1/2 C-Z hex-hd mach

1шт.

120376

NUT,5/16"-18, G5

2шт.

120377

NUT,3/8" - 16, Gr 5

1шт.

80681

LOCK WASHER,5/16"

WASHER, LOCK, 5/16"

2шт.

120382

LOCK WASHER,Helical Spring, 3/8"

WASHER, LOCK, 3/8"

1шт.

178372R1

WASHER

13/32 x 1-1/4 x 16 ga C-Z

2шт.

31

164736C1

ROD, concave indicator

1шт.

32

617268R1

NUT, concave indicator rod spring

2шт.

33

167822C11

BLOCK ASSY, concave lever shaft, includes ref no. 34

2шт.

18684R1

BOLT,Sht Sq Nk, 3/8" - 16 x 1 1/4", Gr 2

3/8 x 1-1/4 C-Z hex-hd mach

4шт.

120377

NUT,3/8" - 16, Gr 5

4шт.

120382

LOCK WASHER,Helical Spring, 3/8"

WASHER, LOCK, 3/8"

4шт.

34

584447R1

BUSHING, concave lever shift block

2шт.

35

172409C3

LINK, concave control lever, serial no. 3784 and above

1шт.

121222

COTTER PIN,3/32" x 3/4"

PIN, SPLIT (COTTER), 3/32" x 3/4"

1шт.

217973

COTTER PIN,1/4" x 1 1/4"

Pin, Split (Cotter), 1/4" x 1-1/4"

1шт.

20614R1

CLEVIS PIN,9.53mm OD x 34.14mm L

PIN, 3/8 x 1-11/32 C-Z rod end

1шт.

22097R1

PIN, 3/4 x 1-1/4 C-Z std-hd dld

1шт.

467750R1

WASHER

25/32 x 1-1/2 x 11 ga C-Z

1шт.

36

589713R1

SHIM

concave lever shaft block

4шт.

37

174816C1

STOP, concave

1шт.

38

170421C1

ARM ASSY, concave control leveling, includes ref no. 39, serial no. 1973 and above

1шт.

18707R1

CARRIAGE BOLT,Short Sq Nk, 1/2" - 13 x 1", Gr 2

BOLT, 1/2 x 1 znd sq-nk crg

1шт.

18496R1

BOLT,Hex, 1/2"-13 x 1 1/2", G2

1/2 x 1-1/2 C-Z hex-hd mach

1шт.

120378

NUT,Hex, 1/2" - 13, Gr 5

NUT, 1/2"-13, G5

2шт.

120384

WASHER,1/2"

LOCK, 1/2"

2шт.

20601R1

WASHER

17/32 x 1-1/4 x 11 ga C-Z

2шт.

39

457172R1

BUSHING, concave control leveling arm hub, serial no. 1973 and above

1шт.

40

175806C1

BOLT ASSY, concave control stop, spike tooth cylinder

1шт.

120377

NUT,3/8" - 16, Gr 5

2шт.

Выбрано товаров: 96