Запчасти Case IH 815 (R-58) - SEPARATOR, STRAW SPREADER AND DRIVE Separation

Схема запчастей Case IH 815 - (R-58) - SEPARATOR, STRAW SPREADER AND DRIVE Separation
22
15
5
10
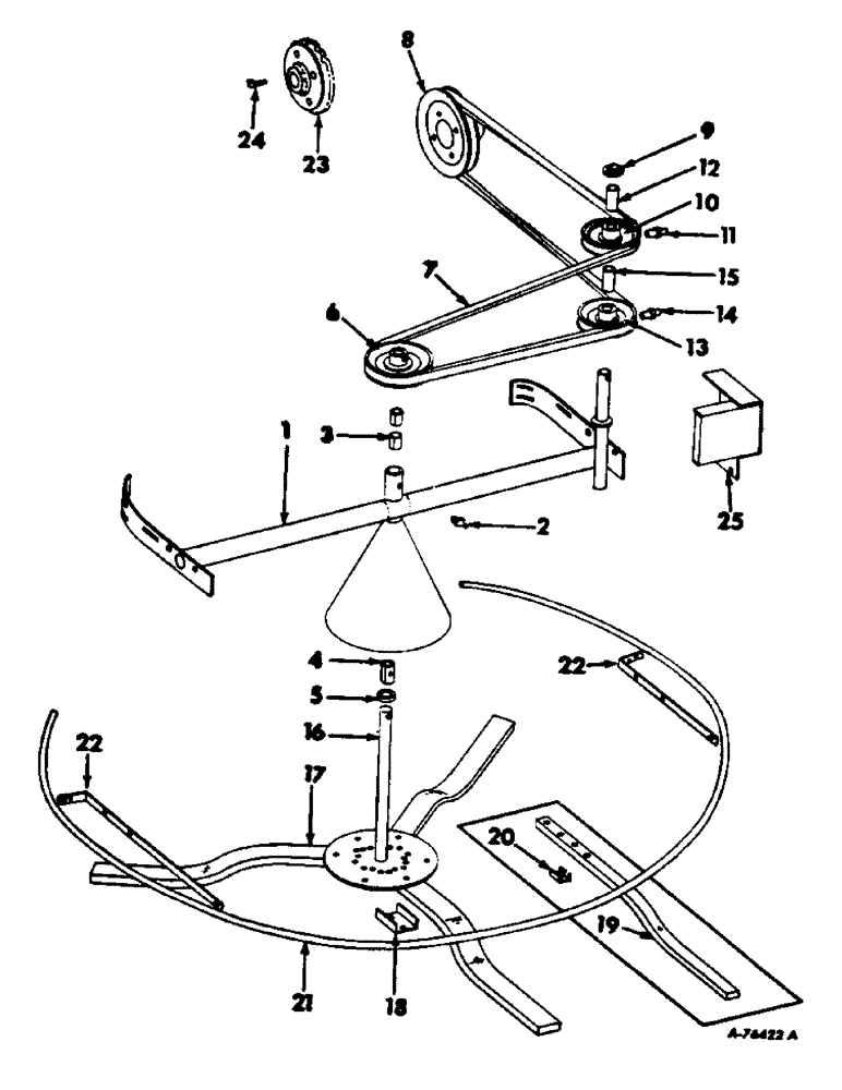
1
8
23
22
16
14
20
4
11
12
6
7
24
18
9
2
13
19
17
21
3
25
FIT
1:1
100%

Артикул

Название

Примечание

Количество

1

169005C1

SUPPORT ASSY, straw spreader, serial no. 3783 and below

1шт.

1

172096C91

SUPPORT ASSY, straw spreader, includes ref nos. 3 and 4, serial no. 3784 and above

1шт.

18475R1

BOLT,Hex, 5/16" - 18 x 1 1/4", Gr 2

5/16 x 1-1/4 hex-hd mach

2шт.

17351R1

CARRIAGE BOLT,Short Sq Nk, 3/8" - 16 x 1", Gr 2

BOLT, 3/8 x 1 C-Z sq-nk crg

6шт.

120377

NUT,3/8" - 16, Gr 5

6шт.

120382

LOCK WASHER,Helical Spring, 3/8"

WASHER, LOCK, 3/8"

6шт.

21496R1

WASHER

11/32 x 3/4 x 11 ga C-Z

2шт.

469668R1

WASHER

13/32 x 3/4 x 16 ga C-Z

6шт.

22480R1

WASHER

39/32 x 1-1/2 x 22 ga

2шт.

21761R1

WASHER

29/32 x 1-1/2 x 16 ga

4шт.

21714R1

WASHER

29/32 x 1-1/2 x 11 ga

3шт.

2

109461

LUBE NIPPLE,1/8"-27 x .66 lg

NIPPLE, LUBE, 1/8"-27 x .66 lg

1шт.

3

551068R1

BUSHING,22.28mm ID x 25.43mm OD x 22.23mm L

straw spreader shaft upper

2шт.

4

589813R1

BUSHING

straw spreader shaft lower

1шт.

5

615499C91

OIL SEAL

ASSY, straw spreader shaft oil

1шт.

6

21712K

PULLEY ASSY.

PULLEY ASSY, straw spreader driven 5-3/4 in. OD

1шт.

648002

KNIFE

1/8" x 3/4"

1шт.

21941R1

PIN, 5/16 x 1-7/8 C-Z std hd

1шт.

7

161820C1

V-BELT,0.63" W x 201.49" L

Straw Spreader Drive, Serial No. 3783 and Below 0.63" W x 201.49" L

1шт.

7

161821C1

V-BELT,0.63" W x 210.71" L

Straw Spreader Drive, Serial No. 3784 and Above 0.63" W x 210.71" L

1шт.

8

158987C11

PULLEY

ASSY, straw spreader drive 6.56 in. OD

1шт.

18471R1

BOLT, 5/16 x 1 C-Z hex-hd mach

4шт.

120376

NUT,5/16"-18, G5

4шт.

80681

LOCK WASHER,5/16"

WASHER, LOCK, 5/16"

4шт.

9

20362K

COLLAR

straw spreader shaft

1шт.

187988

COTTER PIN,3/16" x 1 1/4"

PIN, SPLIT (COTTER), 3/16" x 1 1/4"

1шт.

10

17876K

PULLEY ASSY.

PULLEY W/BSHG, stw sprdr drv belt idler 5-1/8 in. OD, includes ref no. 12

1шт.

11

557159R91

LUBE NIPPLE,1/4" x .78" lg, Drive

FITTING, 1/4 drive type str lub

1шт.

12

18523K

BUSHING

str sprdr drv belt idler pulley

1шт.

13

48252K

PULLEY ASSY.

PULLEY W/BSHG, strw sprdr drv belt tightener 4-3/4 in. OD, includes ref no. 15

1шт.

14

557159R91

LUBE NIPPLE,1/4" x .78" lg, Drive

FITTING, 1/4 drive type str lub

1шт.

15

18523K

BUSHING

strw sprdr drv belt tghtnr pul

1шт.

16

568191R91

ROD

SHAFT ASSY, straw spreader

1шт.

22480R1

WASHER

29/32 x 1-1/2 x 22 ga C-Z

3шт.

21761R1

WASHER

29/32 x 1-1/2 x 16 ga

7шт.

17

172994C1

BAT

straw spreader heavy

3шт.

18

566475R1

CHANNEL

CLIP, straw spreader bat

3шт.

18765R1

BOLT,Hex, 5/16" - 18 x 1 1/2", Gr 2

5/16 x 1-1/2 C-Z hex-hd mach

6шт.

120376

NUT,5/16"-18, G5

6шт.

80681

LOCK WASHER,5/16"

WASHER, LOCK, 5/16"

6шт.

19

172993C1

BAT

straw spreader light

3шт.

20

565871R1

CHANNEL

CLIP, straw spreader bat

6шт.

18765R1

BOLT,Hex, 5/16" - 18 x 1 1/2", Gr 2

5/16 x 1-1/2 C-Z hex-hd mach

6шт.

120376

NUT,5/16"-18, G5

6шт.

80681

LOCK WASHER,5/16"

WASHER, LOCK, 5/16"

6шт.

21

628633R1

GUARD, straw spreader

1шт.

22

158977C1

SUPPORT, straw spreader guard

2шт.

17351R1

CARRIAGE BOLT,Short Sq Nk, 3/8" - 16 x 1", Gr 2

BOLT, 3/8 x 1 C-Z sq-nk crg

4шт.

18495R1

BOLT,Hex, 3/8" - 16 x 1 1/4", Gr 2

3/8 x 1-1/4 C-Z hex-hd mach

2шт.

120377

NUT,3/8" - 16, Gr 5

6шт.

120382

LOCK WASHER,Helical Spring, 3/8"

WASHER, LOCK, 3/8"

6шт.

477589R1

WASHER

13/32 x 1-1/2 x 11 ga C-Z

2шт.

23

166988C1

HUB & SPROCKET, straw spreader drive pulley 19T

1шт.

24

Q81

KEY,Gib, 3/8" Sq x 1 3/4"

3/8 x 1-3/4 gib

1шт.

25

171733C1

SHIELD ASSY, straw spreader drive

1шт.

Выбрано товаров: 55