Запчасти Case IH 815 (13-14) - SUPERSTRUCTURE, OPERATORS CAB, HEATER (05) - SUPERSTRUCTURE

Схема запчастей Case IH 815 - (13-14) - SUPERSTRUCTURE, OPERATORS CAB, HEATER (05) - SUPERSTRUCTURE
5
22
4
20
10
12
17
17
1
17
17
2
19
6
7
3
4
21
14
3
5
19
4
13
18
16
23
6
24
15
20
4
4
8
25
11
4
FIT
1:1
100%

Артикул

Название

Примечание

Количество

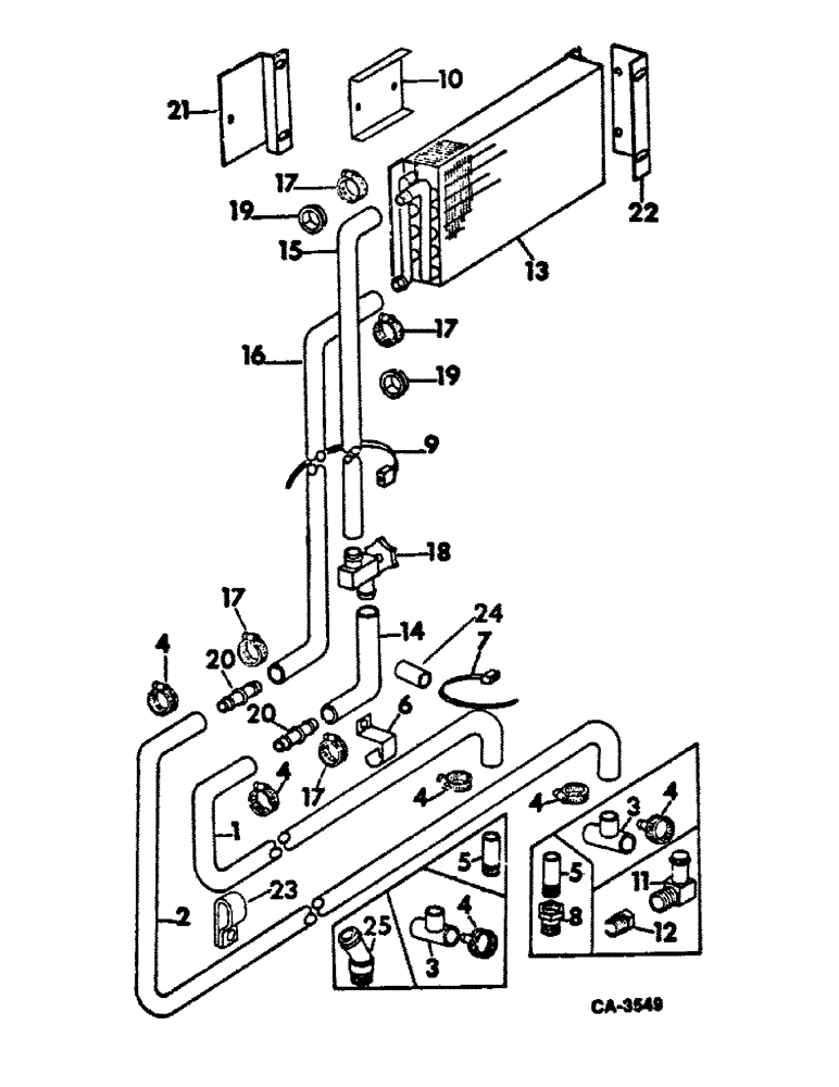
1

HOSE, heater, gasoline engine, use 140 in. of 5/8 ID heater hose from 50 ft roll marked 364359C1

1шт.

1

HOSE, heater, diesel engine, use 175 in. of 5/8 ID heater hose from 50-ft roll marked 117724C1

1шт.

2

HOSE, heater, use 120 in. of 5/8 ID heater hose from 50 roll marked 117724C1

1шт.

3

167600R1

TEE, heater hose, gasoline engine

1шт.

4

274085R91

HOSE CLAMP,#10, 0.56/1.06 Type F Worm

CLAMP, 1-1/16 hose, 6 used gasoline engine, 4 used diesel engine

1шт.

5

574631R1

FITTING

heater hose, 2 used diesel engine, 1 used gasoline engine

1шт.

6

394271R1

CLIP

heater hose dual

4шт.

7

386170C1

CABLE TIE,.30" x 27 1/2"

STRAP, heater hose

1шт.

8

175778H1

ADAPTER

1/2-3/8 brs reducer pipe, diesel engine

1шт.

9

702093C1

CABLE TIE

STRAP, heater hose lock, diesel engine

2шт.

10

179166C1

SUPPORT, heater and air cond. hose

1шт.

202107C1

BOLT,Hex Serr Flg, 5/16" - 18 x 3/4"

5/16 x 3/4 hex-hd flange lock

4шт.

938017R1

FLANGE NUT,Flg, USR, 5/16"-18

5/16 flange lock

4шт.

11

864458R1

ELBOW

FITTING, 5/8 hose to 1/2 pipe 90 deg

1шт.

11

864456R1

NIPPLE, LUBE

FITTING, 5/8 hose to 3/8 pipe 90 deg, diesel engine

1шт.

12

221-93

REDUCER,Hex, 3/4" x 1/2" NPT

3/4 in. to 1/2 in, diesel engine

1шт.

13

173914C1

CORE, heater

1шт.

14

HOSE, heater lower, use 15 in. from 50-ft roll marked 995108R2

1шт.

15

HOSE, heater upper, use 97 in. from 50-ft roll marked 995108R2

1шт.

16

HOSE, heater outer, use 114 in. from 50-ft roll marked 995018R2

1шт.

17

995218R1

CLAMP

hose

6шт.

18

173908C1

VALVE

water shut-off

1шт.

19

173896C1

GROMMET

2шт.

20

173898C1

FITTING

TUBE, lower heater adapter

2шт.

21

175579C1

BRACKET, heater mounting LH

1шт.

186491

SCREW,Hex Hd, 1/4"-20 x 1/2", w/LW

w/ext-tooth lock washer 1/4 x 1/2 hex-hd mach

1шт.

22

175580C1

BRACKET, heater mounting RH

1шт.

186491

SCREW,Hex Hd, 1/4"-20 x 1/2", w/LW

w/ext-tooth lock washer 1/4 x 1/2 hex-hd mach

1шт.

23

154695C1

CLAMP

CLIP, heater hose

1шт.

24

511576R1

SPACER, front hose clip

1шт.

18770R1

BOLT,Hex, 5/16"-18 x 2 3/4", G2

5/16 x 2-3/4 hex-hd mach

1шт.

120376

NUT,5/16"-18, G5

1шт.

80681

LOCK WASHER,5/16"

WASHER, LOCK, 5/16"

1шт.

25

864449R1

ELBOW

FITTING, 1/2 to 5/8 hose, gasoline engine

1шт.

Выбрано товаров: 34