Запчасти Case IH 815 (13-20) - SUPERSTRUCTURE, OPERATORS SEAT (05) - SUPERSTRUCTURE

Схема запчастей Case IH 815 - (13-20) - SUPERSTRUCTURE, OPERATORS SEAT (05) - SUPERSTRUCTURE
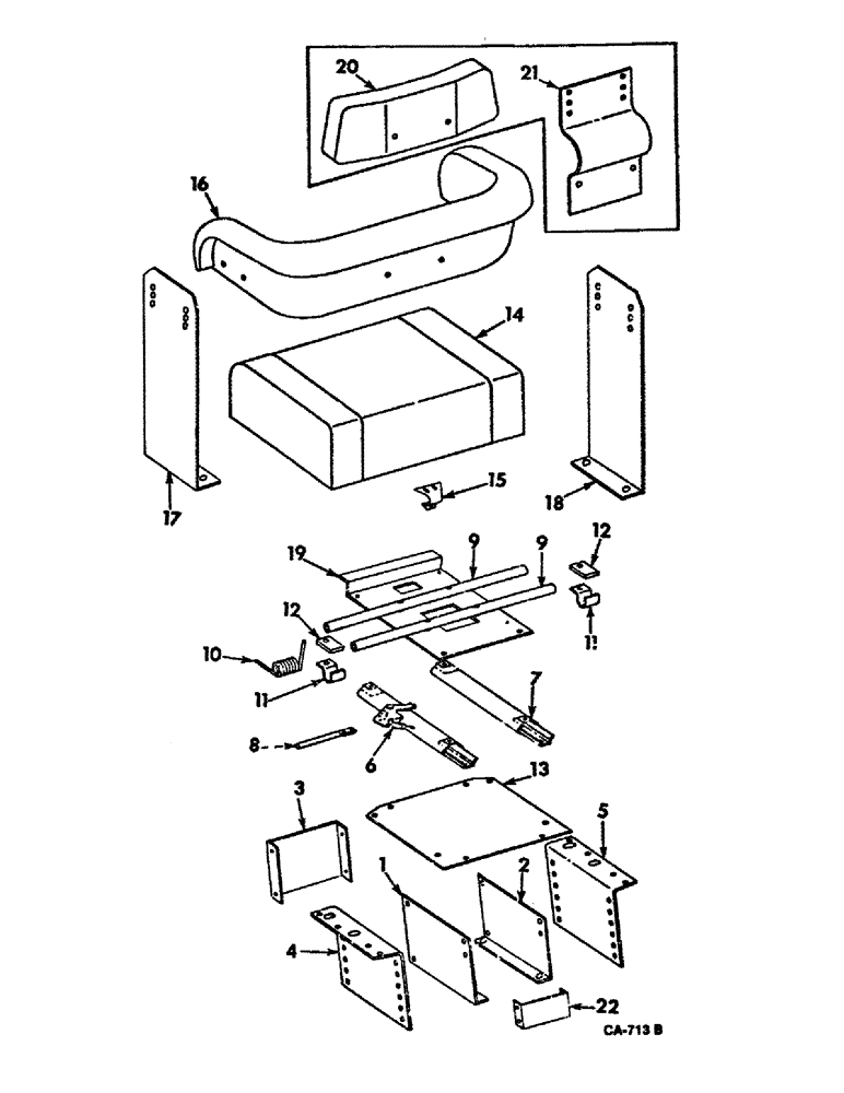
12
2
20
1
17
14
16
7
4
6
12
8
11
18
5
13
11
3
9
9
15
19
10
22
21
FIT
1:1
100%

Артикул

Название

Примечание

Количество

1

170624C2

SIDE, seat support LH

1шт.

18778R1

SCREW,Hex, 3/8"-16 x 3/4", G2

BOLT, 3/8 x 3/4 hex-hd mach

1шт.

120377

NUT,3/8" - 16, Gr 5

2шт.

55748D

SCREW

3/8 x 2 hex-hd cap

1шт.

120382

LOCK WASHER,Helical Spring, 3/8"

WASHER, LOCK, 3/8"

2шт.

2

170625C2

SIDE, seat support RH

1шт.

18494R1

BOLT,Hex, 3/8" - 16 x 1", Gr 2

3/8 x 1 hex-hd mach

2шт.

120377

NUT,3/8" - 16, Gr 5

2шт.

120382

LOCK WASHER,Helical Spring, 3/8"

WASHER, LOCK, 3/8"

2шт.

3

170626C2

FRONT, operators seat base

1шт.

18778R1

SCREW,Hex, 3/8"-16 x 3/4", G2

BOLT, 3/8 x 3/4 hex-hd mach

2шт.

120377

NUT,3/8" - 16, Gr 5

2шт.

120382

LOCK WASHER,Helical Spring, 3/8"

WASHER, LOCK, 3/8"

2шт.

4

939266R1

BRACKET, seat adj LH

1шт.

18778R1

SCREW,Hex, 3/8"-16 x 3/4", G2

BOLT, 3/8 x 3/4 hex-hd mach

1шт.

18494R1

BOLT,Hex, 3/8" - 16 x 1", Gr 2

3/8 x 1 hex.

2шт.

120377

NUT,3/8" - 16, Gr 5

2шт.

120382

LOCK WASHER,Helical Spring, 3/8"

WASHER, LOCK, 3/8"

2шт.

5

939267R1

BRACKET, seat adj RH

1шт.

18778R1

SCREW,Hex, 3/8"-16 x 3/4", G2

BOLT, 3/8 x 3/4 hex-hd mach

1шт.

18494R1

BOLT,Hex, 3/8" - 16 x 1", Gr 2

3/8 x 1 hex-hd mach

1шт.

120377

NUT,3/8" - 16, Gr 5

2шт.

120382

LOCK WASHER,Helical Spring, 3/8"

WASHER, LOCK, 3/8"

2шт.

6

631731R91

TRACK CHAIN

SLIDE ASSY, seat lower cushion LH

1шт.

16897R1

CARRIAGE BOLT,Short Nk, 5/16" - 18 x 3/4", Gr 2, Full Thd

BOLT, 5/16 x 3/4 sq-hd crg

2шт.

18764R1

HARDWARE,Hex, 5/16"-18 x 3/4", G2

BOLT, 5/16 x 3/4 hex-hd mach

2шт.

120376

NUT,5/16"-18, G5

4шт.

80681

LOCK WASHER,5/16"

WASHER, LOCK, 5/16"

4шт.

7

631732R91

TRACK CHAIN

SLIDE ASSY, seat lower cushion RH

1шт.

16897R1

CARRIAGE BOLT,Short Nk, 5/16" - 18 x 3/4", Gr 2, Full Thd

BOLT, 5/16 x 3/4 sq-nk crg

2шт.

18764R1

HARDWARE,Hex, 5/16"-18 x 3/4", G2

BOLT, 5/16 x 3/4 hex-hd mach

1шт.

120376

NUT,5/16"-18, G5

4шт.

80681

LOCK WASHER,5/16"

WASHER, LOCK, 5/16"

4шт.

8

631733R1

HANDLE, seat lock adj

1шт.

32-1212

COTTER PIN,3/16" x 3/4"

PIN, SPLIT (COTTER), 3/16" x 3/4"

2шт.

9

170629R1

ROD, cross seat support

1шт.

18765R1

BOLT,Hex, 5/16" - 18 x 1 1/2", Gr 2

5/16 x 1-1/2 hex-hd mach

8шт.

120376

NUT,5/16"-18, G5

8шт.

80681

LOCK WASHER,5/16"

WASHER, LOCK, 5/16"

8шт.

10

627221R1

SPRING, seat adj

1шт.

11

632703R1

CLAMP

seat pivot

2шт.

18474R1

BOLT,Hex, 5/16" - 18 x 1", Gr 2

5/16 x 1 hex-hd mach

2шт.

80681

LOCK WASHER,5/16"

WASHER, LOCK, 5/16"

2шт.

12

632704R1

SPACER, seat pivot

2шт.

13

939223R1

BASE, seat lower cushion

1шт.

18778R1

SCREW,Hex, 3/8"-16 x 3/4", G2

BOLT, 3/8 x 3/4 hex-hd mach

4шт.

120377

NUT,3/8" - 16, Gr 5

4шт.

120382

LOCK WASHER,Helical Spring, 3/8"

WASHER, LOCK, 3/8"

4шт.

14

170621C1

CUSHION

seat lower

1шт.

15

170622C2

LATCH

seat adjustment

1шт.

18764R1

HARDWARE,Hex, 5/16"-18 x 3/4", G2

BOLT, 5/16 x 3/4 hex-hd mach

2шт.

80681

LOCK WASHER,5/16"

WASHER, LOCK, 5/16"

1шт.

16

387174R92

CUSHION ASSY.

CUSHION ASSY, seat lower back

1шт.

17

170627C1

SUPPORT, arm rest LH

1шт.

160776

SCREW,Cross Pan Hd, 3/8" - 16 x 3/4"

3/8 x 3/4 C-Z cr-rec-pan-hd mach

2шт.

138542

LOCK WASHER,Int Tooth, 3/8"

WASHER, LOCK, Int Tooth, 3/8"

2шт.

18

170628C1

SUPPORT, arm rest RH

1шт.

160776

SCREW,Cross Pan Hd, 3/8" - 16 x 3/4"

3/8 x 3/4 cr-rec-pan-hd mach

2шт.

138542

LOCK WASHER,Int Tooth, 3/8"

WASHER, LOCK, Int Tooth, 3/8"

2шт.

19

170623C1

SECTION, upper seat base

1шт.

20

387177R92

CUSHION ASSY.

CUSHION ASSY, upper seat back

1шт.

21

387178R1

SUPPORT

seat upper back cushion, optional

1шт.

22

173114R1

SUPPORT, operators seat base back

1шт.

18494R1

BOLT,Hex, 3/8" - 16 x 1", Gr 2

3/8 x 1 hex-hd mach

2шт.

120177

NUT, 3/8 hex.

2шт.

120382

LOCK WASHER,Helical Spring, 3/8"

WASHER, LOCK, 3/8"

1шт.

Выбрано товаров: 66