Запчасти Case IH 815 (08-01) - ELECTRICAL, CLIPS, GROMMETS AND CABLE TIES (06) - ELECTRICAL

Схема запчастей Case IH 815 - (08-01) - ELECTRICAL, CLIPS, GROMMETS AND CABLE TIES (06) - ELECTRICAL
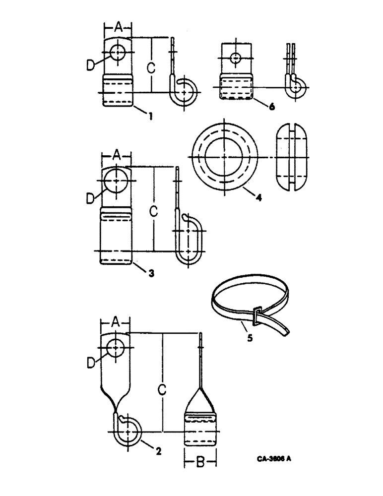
6
4
1
3
5
2
FIT
1:1
100%

Артикул

Название

Примечание

Количество

1

362120R1

CLAMP,9.53mm ID, 10.32mm Bolt Hole, P Type

3/4, 1-3/8, 13/32 (I)

1шт.

1

362127R1

CLIP

3/4, 1-1/8, 15/32 (I)

1шт.

1

362126R1

CLIP

3/4, 3-3/8, 13/32 (I)

1шт.

1

363444R1

CLAMP,J, 9/16" Insul, 3/8" Bolt

3/4, 1-1/2, 13/32 (I)

1шт.

1

384559R1

CLIP

3/4, 2-3/8, 13/32 (I)

1шт.

1

384554R1

CLIP

3/4, 1-7/8, 13/32 (I)

1шт.

1

362667R1

CLIP

3/4, 1-1/8, 15/32 (I)

1шт.

1

362121R1

CLIP

3/4, 1-1/8, 13/32 (I)

1шт.

2

363660R1

CLIP

3/4, 3/4, 2-5/8, 13/32 (I)

1шт.

3

400505R1

CLAMP

3/4, 2-1/4, 17/32 (I)

1шт.

4

128157

GROMMET,3/8" ID x 27/32" x .062", Diag Cut

no. 5 plain rubber diagonal cut, in instrument panel for cab power cable

1шт.

4

23406R1

GROMMET,3/16" ID x 7/16" x .125", Diag Cut

3/4 plain rubber diagonal cut, for operators deck front hand rail headlight cable

1шт.

4

115329R1

GROMMET

tailings elevator cable thru suppcrt operators platform RH trim rubber

1шт.

4

117973

GROMMET,5/16" ID x 1 3/8" x .062", Diag Cut

rubber plain diagonal cut, right hand light cable

1шт.

5

702093C1

CABLE TIE

STRAP, main front harness tie

1шт.

6

361656C1

CLAMP,1 3/16", Insul, 3/8" Bolt

CLIP, battery cable

1шт.

Выбрано товаров: 16