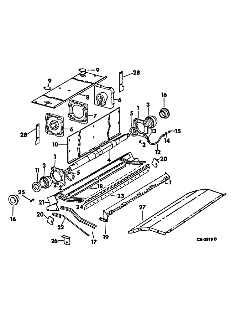
Запчасти Case IH 815 (21-14) - THRESHING CYLINDER AND CONCAVE, CYLINDER BEATER AND GRATE FOR BLADE BOX TYPE (14) - THRESHING

Схема запчастей Case IH 815 - (21-14) - THRESHING CYLINDER AND CONCAVE, CYLINDER BEATER AND GRATE FOR BLADE BOX TYPE (14) - THRESHING
7
10
19
17
1
6
2
6
20
12
4
23
16
26
24
25
8
9
28
15
14
11
28
5
3
2
22
5
16
9
20
27
1
3
18
21
13
FIT
1:1
100%

Артикул

Название

Примечание

Количество

1

172317C11

HOUSING

w/BRG., cyl beater brg, includes ref. no. 3

2шт.

2

219-37

LUBE NIPPLE,45 Degree Elbow, 1/4" - 28 NPTF

FITTING, 1/4-28, 45 deg lub

1шт.

3

172406C91

BEARING ASSY,55.56mm ID x 100mm OD x 25mm W

cyl beater ball

2шт.

4

167986C21

SHAFT w/LOCK NUTS, cyl beater

1шт.

20290R1

LOCK NUT,1"-14, G5

NUT, 1-14 znp ne hex lock

2шт.

936727R1

WASHER,26.16mm ID x 56.9mm OD x 6.35mm Thk

1-1/32 x 2-1/4 x 1/4

1шт.

U14294

WASHER

1-15/16 x 2-7/8 x 16 ga

5шт.

5

160236C1

BUSHING

SPACER, cyl beater shaft inner

1шт.

6

174769C1

HUB

cyl beater end

2шт.

180185

BOLT,Hex, 1/2" - 13 x 2 1/2", Gr 5

SCREW, 1/2 x 2-1/2 znd hex-hd cap

2шт.

120384

WASHER,1/2"

LOCK, 1/2"

2шт.

7

174770C1

HUB, cyl beater center

1шт.

8

174771C1

BLADE

cyl beater, first

1шт.

174985C1

BOLT,Hex Serr, 1/2" - 13 x 1"

SCREW, 1/2 x 1 znd hex-hd flange lock

6шт.

9

634728R1

COVER

hub bolt access hole

2шт.

276-1478

SELF-TAP SCREW,Hex Hd, 1/4" x 1/2"

SCREW, 1/4-20 x 1/2 C-Z hex-hd tap.

4шт.

10

174772C1

BLADE

cyl beater

3шт.

174985C1

BOLT,Hex Serr, 1/2" - 13 x 1"

SCREW, 1/2 x 1 znd hex-hd flange lock E

18шт.

11

612023R11

COLLAR ASSY.

COLLAR w/SET SCREW, cyl beater shaft LH brg lkg

1шт.

12

937776R91

HOSE,0.14" ID x 14.00"

Lube, Cylinder Beater Shaft Right-Hand Bearing 0.14" ID x 14.00"

1шт.

13

21450R1

ADAPTER,1/4"-1/8 NPTF

lub fitting

1шт.

14

581873R1

TUBE NUT,4.8 mm Length

cyl beater shaft RH brg lub hose

1шт.

15

219-8

LUBE NIPPLE,1/4" - 28 NPTF

FITTING, 1/4-28NS lub straight

1шт.

16

177299C1

RING

cyl beater brg

2шт.

17

178063C1

FINGER

cyl beater grate, rasp bar cylinder

11шт.

18

178064C1

STRAP, grate fingers clamp, rasp bar cylinder

1шт.

12872R1

BOLT,Short NK, 5/16"-18 x 1", G2, Full Thd

CARRIAGE, Short NK, 5/16"-18 x 1", G2, Full Thd

22шт.

938017R1

FLANGE NUT,Flg, USR, 5/16"-18

5/16 flange lock

22шт.

19

178065C1

SUPPORT ASSY, cyl beater grate fingers, rasp bar cylinder

1шт.

17433R1

HARDWARE,Hex, 1/2" - 13 x 1", Gr 2

BOLT, 1/2 x 1 znd hex-hd mach

4шт.

120384

WASHER,1/2"

LOCK, 1/2"

4шт.

20

568276R1

SEAL, grate adjusting slot

2шт.

21

158003C96

GRATE ASSY, cyl beater finger, includes ref. nos. 22, 23 and 24, spike tooth cylinder

1шт.

22

174767C2

FINGER

cyl beater grate, spike tooth cylinder

22шт.

23

170533C1

STRAP, grate finger clamp, spike tooth cylinder

1шт.

18685R1

CARRIAGE BOLT,Short Sq Nk, 3/8" - 16 x 1 1/2", Gr 2

BOLT, 3/8 x 1-1/2 znd sq-nk crg

22шт.

9411655

LOCK NUT,3/8"-16, GB

NUT, 3/8 CAD p/t lock type 5

22шт.

24

569389R1

CLAMP, grate fingers

1шт.

18707R1

CARRIAGE BOLT,Short Sq Nk, 1/2" - 13 x 1", Gr 2

BOLT, 1/2 x 1 crg type 1

1шт.

120378

NUT,Hex, 1/2" - 13, Gr 5

NUT, 1/2"-13, G5

1шт.

120384

WASHER,1/2"

LOCK, 1/2"

1шт.

20601R1

WASHER

17/32 x 1-1/4 x 11 ga znd

1шт.

25

152257C2

BOLT, beater finger grate mounting

2шт.

120378

NUT,Hex, 1/2" - 13, Gr 5

NUT, 1/2"-13, G5

2шт.

120384

WASHER,1/2"

LOCK, 1/2"

2шт.

26

574525R1

DOOR, cylinder beater finger grate inspection

1шт.

27

180224C1

DEFLECTOR, cylinder beater

1шт.

166705C1

NUT

5/16-18 speed

2шт.

16897R1

CARRIAGE BOLT,Short Nk, 5/16" - 18 x 3/4", Gr 2, Full Thd

BOLT, 5/16 x 3/4 crg type 1

5шт.

12872R1

BOLT,Short NK, 5/16"-18 x 1", G2, Full Thd

CARRIAGE, Short NK, 5/16"-18 x 1", G2, Full Thd

1шт.

938017R1

FLANGE NUT,Flg, USR, 5/16"-18

5/16 flange lock

6шт.

28

(Not used in this application)

1шт.

Выбрано товаров: 52