Запчасти Case IH 815 (25-12) - ELEVATORS, TAILINGS DELIVERY AND AUGER DRIVE Elevators

Схема запчастей Case IH 815 - (25-12) - ELEVATORS, TAILINGS DELIVERY AND AUGER DRIVE Elevators
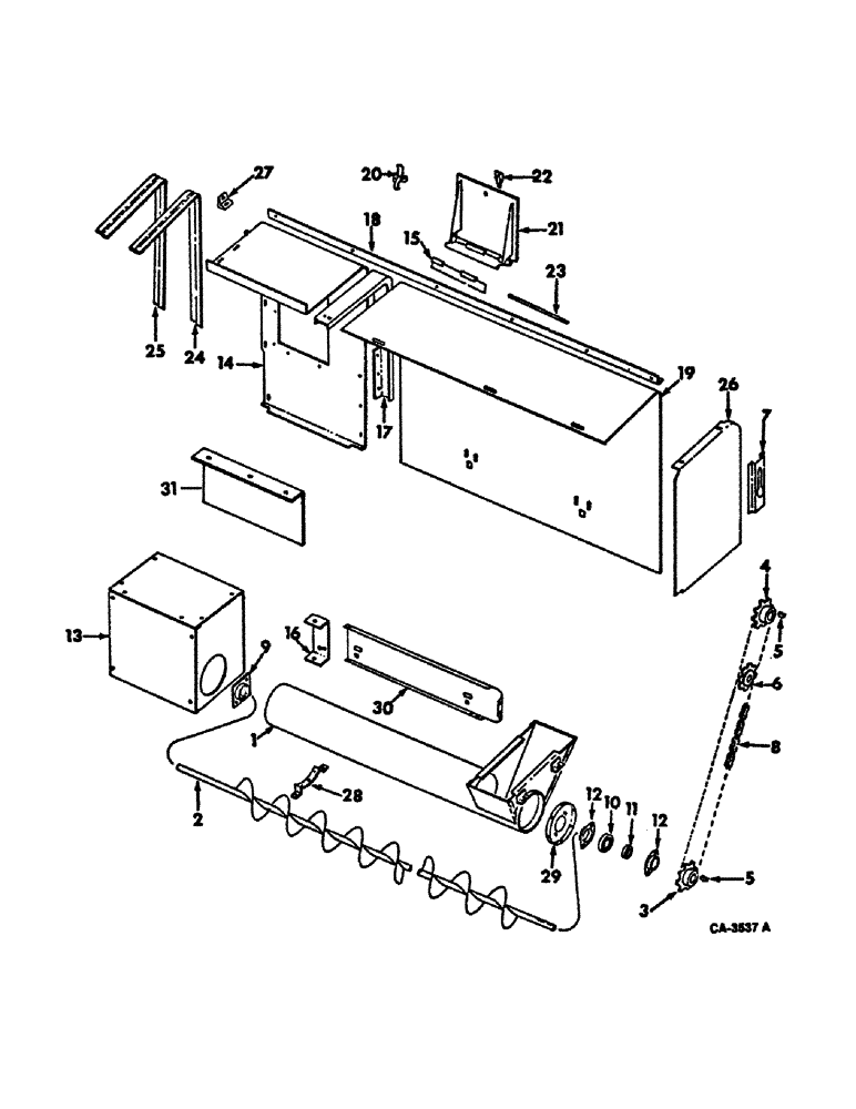
7
31
24
12
4
1
6
21
3
18
17
15
30
12
5
5
20
13
11
16
25
26
23
9
8
28
27
14
19
10
2
29
22
FIT
1:1
100%

Артикул

Название

Примечание

Количество

1

164524C91

SPOUT, DISCHARGE

SPOUT ASSY, tailings delivery

1шт.

938016R1

FLANGE NUT,Flg, USR, 1/4"-20

1/4 C-Z flange lock

2шт.

937059R1

SCREW,Serr, M10 x 70mm, Cl 10.9

1/4 x 1/2 C-Z slt-truss-hd

2шт.

2

164506C92

AUGER

ASSY, tailings delivery

1шт.

20340R1

COTTER PIN,1/4" x 1 1/2"

Pin, Split (Cotter), 1/4" x 1 1/2"

2шт.

668752R1

WASHER

29/32 x 1-1/4 x 16 ga C-Z

8шт.

3

168689C1

SPROCKET ASSY.

SPROCKET, tailings delivery auger drive 9 T

1шт.

4

160445C1

SPROCKET ASSY.

SPROCKET, tailings delivery auger driven 8 T

1шт.

5

124551

SCREW

1/4 x 7/8 Woodruff, hard

2шт.

6

565442R91

SPROCKET

ASSY, tailings delivery auger drive chain tightener 17-T

1шт.

20180R1

CARRIAGE BOLT,Sq Nk, 1/2" - 13 x 2", Gr 2

BOLT, 1/2 x 2 C-Z sq-nk crg

1шт.

120378

NUT,Hex, 1/2" - 13, Gr 5

NUT, 1/2"-13, G5

1шт.

120384

WASHER,1/2"

LOCK, 1/2"

1шт.

20601R1

WASHER

17/32 x 1-1/4 x 11 ga C-Z

1шт.

607896R1

SQ HOLE WASHER,17/32" x 1 1/4" x .120", Sq Hole

17/32 sq x 1-1/4 x 11 ga znd

2шт.

7

160449C1

SUPPORT

tailings delivery auger drive chain tightener sprocket

1шт.

12653R1

BOLT (SPREADER),Short NK, 1/4"-20 x 3/4", G2

BOLT, CARRIAGE, Short NK, 1/4"-20 x 3/4", G2

3шт.

120375

NUT,Hex, 1/4" - 20, Gr 5

3шт.

492-11025

LOCK WASHER,1/4"

WASHER, LOCK, 1/4"

3шт.

142619H

WASHER

13/32 x 3/4 x 11 ga C-Z

3шт.

8

CHAIN ASSY, tailings delivery auger drive, use 21 links from 10-ft roll marked 569089R91, one connecting link 587372R91 and one offset link 456929R91

1шт.

9

631527R91

BALL BEARING

ASSY, tailings delivery auger LH ball

1шт.

10

564992R92

BEARING ASSY, tailings delivery auger RH ball

1шт.

11

658006R11

COLLAR

tailings delivery auger RH bearing lkg

1шт.

12

612031R1

FLANGED BEARING

tailings delivery auger RH bearing

2шт.

12872R1

BOLT,Short NK, 5/16"-18 x 1", G2, Full Thd

CARRIAGE, Short NK, 5/16"-18 x 1", G2, Full Thd

2шт.

120376

NUT,5/16"-18, G5

2шт.

80681

LOCK WASHER,5/16"

WASHER, LOCK, 5/16"

2шт.

13

164452C91

HOUSING ASSY, tailings check

1шт.

938017R1

FLANGE NUT,Flg, USR, 5/16"-18

5/16 flange lock

8шт.

477-73108

SERRATED SCREW,Sl Truss Hd, 5/16" - 18 x 1/2"

5/16 x 1/2 slt-truss-hd

8шт.

80681

LOCK WASHER,5/16"

WASHER, LOCK, 5/16"

8шт.

120376

NUT,5/16"-18, G5

2шт.

14

164501C1

COVER, tailings distributor auger LH

1шт.

15

164502C11

HINGE ASSY, tailings check door

1шт.

477-73108

SERRATED SCREW,Sl Truss Hd, 5/16" - 18 x 1/2"

5/16 x 1/2 C-Z slt-truss-hd

2шт.

16

167980C11

SUPPORT ASSY, tailings auger cover sheet

1шт.

17

167981C1

CHANNEL, tailings auger cover sheet

1шт.

938017R1

FLANGE NUT,Flg, USR, 5/16"-18

5/16 C-Z flange lock

3шт.

477-73108

SERRATED SCREW,Sl Truss Hd, 5/16" - 18 x 1/2"

5/16 x 1/2 C-Z slt-truss-hd

3шт.

18

167982C11

ANGLE ASSY, tailings auger cover

1шт.

19

167996C11

COVER ASSY, tailings auger RH

1шт.

20

168481C1

LATCH ASSY.

LATCH, tailings auger cover

2шт.

120614

NUT,Hex, #10 - 32

NUT, #10-32

4шт.

436750

SCREW,Slotted Pan Hd, #10-32 x 1/2"

10-32 x 1/2 C-Z sltd-pan-hd mach

4шт.

120217

LOCK WASHER,#10

WASHER, LOCK, #10

4шт.

607893R1

WASHER

13/64 x 1/2 x 16 ga C-Z

4шт.

21

164475C91

DOOR ASSY, tailings check

1шт.

121222

COTTER PIN,3/32" x 3/4"

PIN, SPLIT (COTTER), 3/32" x 3/4"

2шт.

22

167800C1

CLIP

CLIP, tailings check door retainer

1шт.

436750

SCREW,Slotted Pan Hd, #10-32 x 1/2"

10-32 x 1/2 C-Z sltd-pan-hd mach

1шт.

120614

NUT,Hex, #10 - 32

NUT, #10-32

1шт.

120217

LOCK WASHER,#10

WASHER, LOCK, #10

1шт.

23

160748C1

PIN

ROD, tailings check door hinge

1шт.

24

161748C11

SUPPORT ASSY, tailings distributing auger cover extension

1шт.

937059R1

SCREW,Serr, M10 x 70mm, Cl 10.9

1/4 x 1/2 C-Z slt-truss-hd

5шт.

25

161749C1

SUPPORT, tailings distributor auger cover LH extension, not operators cab

1шт.

16897R1

CARRIAGE BOLT,Short Nk, 5/16" - 18 x 3/4", Gr 2, Full Thd

BOLT, 5/16 x 3/4 sq-nk crg

1шт.

18653R1

BOLT,Hex, 1/4" - 20 x 1/2", Gr 2

1/4 x 1/2 hex-hd mach

6шт.

120375

NUT,Hex, 1/4" - 20, Gr 5

6шт.

120376

NUT,5/16"-18, G5

1шт.

492-11025

LOCK WASHER,1/4"

WASHER, LOCK, 1/4"

6шт.

80681

LOCK WASHER,5/16"

WASHER, LOCK, 5/16"

1шт.

26

161750C1

SUPPORT, tailings distributing auger cover RH extension

1шт.

938017R1

FLANGE NUT,Flg, USR, 5/16"-18

1/4 C-Z flange lock

9шт.

937059R1

SCREW,Serr, M10 x 70mm, Cl 10.9

1/4 x 1/2 C-Z slt-truss-hd

9шт.

27

631818R1

CLIP, tailings distributing auger LH cover

1шт.

18763R1

BOLT,Hex, 5/16" - 18 x 1/2", Gr 2

5/16 x 1/2 C-Z hex-hd mach

1шт.

16897R1

CARRIAGE BOLT,Short Nk, 5/16" - 18 x 3/4", Gr 2, Full Thd

BOLT, 5/16 x 3/4 C-Z sq-nk crg

1шт.

120376

NUT,5/16"-18, G5

1шт.

80681

LOCK WASHER,5/16"

WASHER, LOCK, 5/16"

2шт.

619855R1

WASHER

11/32 x 3/4 x 16 ga C-Z

1шт.

28

165764C1

SADDLE, tailings delivery auger tube

1шт.

161108C1

BOLT,Hex Serr, 1/4" - 20 x 1/2"

1/4 x 1/2 C-Z hex-hd flange lock

2шт.

938017R1

FLANGE NUT,Flg, USR, 5/16"-18

5/16 C-Z flange lock

2шт.

135270

SERRATED SCREW,5/16" - 18 x 3/4"

5/16 x 3/4 C-Z slt-truss-hd

2шт.

938016R1

FLANGE NUT,Flg, USR, 1/4"-20

1/4 flange lock

2шт.

29

160675C1

WASHER

SUPPORT, tailings delivery auger RH brg

1шт.

938016R1

FLANGE NUT,Flg, USR, 1/4"-20

1/4 C-Z flange lock

6шт.

937059R1

SCREW,Serr, M10 x 70mm, Cl 10.9

1/4 x 1/2 C-Z slt-truss-hd

6шт.

30

168485C1

SECTION, RH side tank trim

1шт.

938017R1

FLANGE NUT,Flg, USR, 5/16"-18

5/16 flange lock

4шт.

135270

SERRATED SCREW,5/16" - 18 x 3/4"

5/16 x 3/4 slt-truss-hd

4шт.

31

169749C1

BAFFLE, tailings delivery opening

1шт.

Выбрано товаров: 84