Запчасти Case IH 815 (12-08) - POWER, SPARK ARRESTOR, FOR DIESEL ENGINE Power

Схема запчастей Case IH 815 - (12-08) - POWER, SPARK ARRESTOR, FOR DIESEL ENGINE Power
2
4
5
5
3
3
4
3
5
5
5
1
4
6
5
FIT
1:1
100%

Артикул

Название

Примечание

Количество

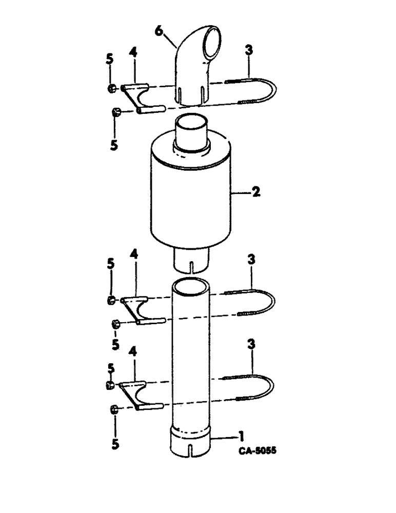
60501C91

ASSEMBLY

SPARK ARRESTOR, includes ref. nos. 1 thru 6

1шт.

1

60504C1

PIPE

spark arrestor

1шт.

2

404508R1

ARRESTER

ARRESTOR, spark

1шт.

3

U-BOLT, exhaust clamp, order package 68219C91

1шт.

4

SADDLE, exhaust clamp, order package 68219C91

1шт.

5

535993R1

NUT

muffler clamp

1шт.

6

527269R1

PIPE

exhaust deflector

1шт.

628219C91

PACKAGE, muffler clamp, consists of u-bolt ref. no. 3 and saddle ref. no. 4

1шт.

Выбрано товаров: 8