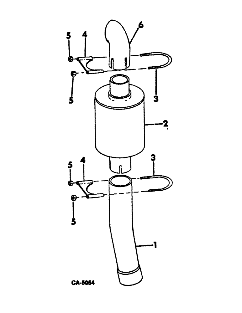
Запчасти Case IH 815 (12-09) - POWER, SPARK ARRESTOR, FOR GASOLINE ENGINES, SERIAL NO. 19000 AND BELOW Power

Схема запчастей Case IH 815 - (12-09) - POWER, SPARK ARRESTOR, FOR GASOLINE ENGINES, SERIAL NO. 19000 AND BELOW Power
3
4
4
5
2
6
5
5
5
3
1
FIT
1:1
100%

Артикул

Название

Примечание

Количество

60502C91

SPARK ARRESTOR, includes ref. nos. 1 thru 6

1шт.

1

60503C1

PIPE, spark arrestor

2шт.

2

404508R1

ARRESTER

ARRESTOR, spark

2шт.

3

U-BOLT, exhaust clamp, order package 68219C91

1шт.

4

SADDLE, exhaust clamp, order package 68219C91

1шт.

5

535993R1

NUT

muffler clamp

1шт.

6

527269R1

PIPE

EXHAUST DEFLECTOR

2шт.

68219C91

KIT

PACKAGE, muffler clamp, consists of one u-bolt ref. no. 3 and one saddle ref. no. 4

2шт.

Выбрано товаров: 0