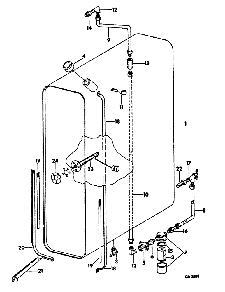
Запчасти Case IH 815 (12-22) - POWER, FUEL TANK AND PUMP, GASOLINE ENGINE, SERIAL NO. 19000 AND BELOW Power

Схема запчастей Case IH 815 - (12-22) - POWER, FUEL TANK AND PUMP, GASOLINE ENGINE, SERIAL NO. 19000 AND BELOW Power
6
22
24
20
3
23
4
18
12
13
14
5
7
15
18
17
16
21
11
19
1
10
8
19
9
2
12
FIT
1:1
100%

Артикул

Название

Примечание

Количество

1

177806C91

TANK ASSY, fuel tank 73 gallon, serial no. 13575 and below

1шт.

1

196223C91

TANK ASSY, fuel tank 73 gallon, serial no. 13576 and above

1шт.

2

405501C1

ELEMENT

fuel filter

1шт.

3

118536

VALVE

ASSY, drain

1шт.

4

538063R1

PLUG

CAP, fuel tank

1шт.

5

178892C1

PUMP

ASSY, fuel

1шт.

413-412

BOLT,Hex, 1/4" - 20 x 3/4", Gr 5

2шт.

492-11025

LOCK WASHER,1/4"

WASHER, LOCK, 1/4"

2шт.

6

443976

NIPPLE, LUBE,1/8"-27 NPTF, Brass

NIPPLE, 1/8-27 automotive pipe plain brass

1шт.

7

179224C91

FILTER ASSY, fuel

1шт.

8

TUBE ASSY, fuel tank to filter, use 135 in 5/16 OD copper tubing from 50-ft roll marked 995062R1 and two 142427 nuts

1шт.

9

TUBE ASSY, fuel line upper, use 23 in. 5/16 OD copper tubing from 50-ft roll marked 995062R1 and two 142427 nuts

1шт.

10

TUBE ASSY, fuel line lower, use 57 in 5/16 OD copper tubing from 50-ft roll marked 995062R1 and two 142427 nuts

1шт.

11

363660R1

CLIP

fuel line

1шт.

12

444163

ELBOW

90 deg pipe STR brass

2шт.

13

442237

HYDRAULIC HOSE

UNION, 5/16 OD tube inverted flare brass

1шт.

14

442322

ROD, CONNECTING

CONNECTOR, 5/16 OD tube plain brass

1шт.

15

405500C1

GASKET

fuel filter

1шт.

16

442322

ROD, CONNECTING

CONNECTOR, 5/16 OD tube inverted flare

1шт.

17

152572C91

VALVE

ASSY, fuel shut-off

1шт.

18

177807C1

STRAP, fuel tank front support

2шт.

18495R1

BOLT,Hex, 3/8" - 16 x 1 1/4", Gr 2

3/8 x 1-1/4 hex-hd mach

4шт.

120377

NUT,3/8" - 16, Gr 5

4шт.

120382

LOCK WASHER,Helical Spring, 3/8"

WASHER, LOCK, 3/8"

4шт.

19

LINING, fuel tank support, use 14 in. of 1-1/4 in width 3 ply cotton webbing from 50-ft roll marked 990539R1

2шт.

20

177809C1

SUPPORT, fuel tank

2шт.

18494R1

BOLT,Hex, 3/8" - 16 x 1", Gr 2

3/8 x 1 hex-hd mach

4шт.

120377

NUT,3/8" - 16, Gr 5

4шт.

120382

LOCK WASHER,Helical Spring, 3/8"

WASHER, LOCK, 3/8"

4шт.

21

177810R1

ANGLE, fuel tank brace

2шт.

18778R1

SCREW,Hex, 3/8"-16 x 3/4", G2

BOLT, 3/8 x 3/4 hex-hd mach

2шт.

120377

NUT,3/8" - 16, Gr 5

2шт.

120382

LOCK WASHER,Helical Spring, 3/8"

WASHER, LOCK, 3/8"

2шт.

22

666129R91

STRAINER ASSY.

STRAINE ASSY, fuel

1шт.

23

178893C1

GAUGE

SENDING UNIT ASSY, fuel gauge

1шт.

168527C1

SCREW,Sl Pan Hd, #10 - 24 x 1/2", W/ Rbr Wshr, 90 Duro

10-24 x 1/2 pan washer-hd mach

4шт.

436782

SCREW, no. 10 x 1/2 slt-pan-hd

1шт.

796002R1

COPPER WASHER

WASHER, .197 x .334 x .036 copper

1шт.

24

168515C1

GASKET,3.05mm Thk

fuel gauge sending unit

1шт.

Выбрано товаров: 39