Запчасти Case IH 915 (E-04) - FUEL SYSTEM, AIR CLEANER AND CONNECTIONS, COMBINES W/DT-407 ENGINES AND SER. NO. 1146 TO 1229 (02) - FUEL SYSTEM

Схема запчастей Case IH 915 - (E-04) - FUEL SYSTEM, AIR CLEANER AND CONNECTIONS, COMBINES W/DT-407 ENGINES AND SER. NO. 1146 TO 1229 (02) - FUEL SYSTEM
25
6
15
22
4
15
12
18
13
29
3
15
14
20
9
11
16
24
27
19
23
10
28
7
2
17
23
26
5
21
8
15
1
30
FIT
1:1
100%

Артикул

Название

Примечание

Количество

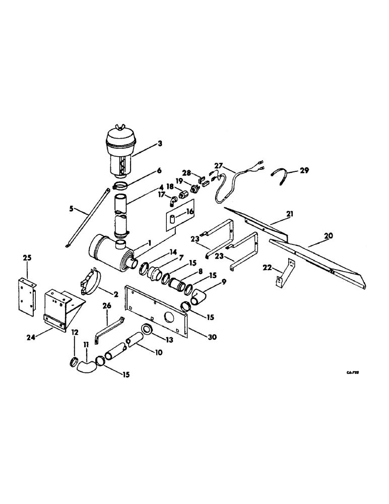
1

530751R92

CLEANER ASSY.

CLEANER ASSY, dry type, Donalson, optional w/528505R93

1шт.

1

528505R93

FILTER CARTRIDGE

CLEANER ASSY, dry type, air maze, optional w/530751R92, for components see list of parts under details of air cleaner assy

1шт.

2

702070C91

BAND ASSY, air cleaner mounting, Donalson, optional w/259922C91

2шт.

2

259922C91

BAND

ASSY, air cleaner mounting, air maze, optional w/702070C91

2шт.

120377

NUT,3/8" - 16, Gr 5

4шт.

180122

BOLT,Hex, 3/8" - 16 x 1", Gr 5

3/8-16 x 1 znd hex-hd cap

4шт.

446363

WASHER,5/16"

3/8 x 7/8 x .064 znd

4шт.

80680

LOCK WASHER,3/8 0.381 CST ZND

WASHER, LOCK, 3/8"

4шт.

3

530160R92

PRE-CLEANER PRE-SCREENER, for components see list of parts under details of pre-cleaner pre-screener

1шт.

4

530194R1

PIPE, pre-cleaner pre-screener

1шт.

5

530195R1

BRACE, pre-cleaner

1шт.

6

653239C1

CLAMP

pre-cleaner pipe

1шт.

271501

SOCKET

NUT, 7/16 hex.

1шт.

180147

SCREW,Hex, 7/16" - 14 x 1 1/4", Gr 5

7/16-14 x 1-1/4 znd hex-hd cap

1шт.

120383

LOCK WASHER,Helical Spring, 7/16"

WASHER, LOCK, 7/16"

1шт.

7

343769R1

ADAPTER

air cleaner pipe

1шт.

8

325518R1

PIPE, air cleaner outlet

1шт.

9

304398R1

ELBOW

air cleaner outlet

1шт.

10

530193R1

PIPE, air cleaner outlet

1шт.

11

400819R1

HOSE

ELBOW, air cleaner, Serial Range: pipe-turbocharger

1шт.

12

613626C91

CLAMP, air cleaner, Serial Range: elbow-manifold

1шт.

13

530196R1

GROMMET, rubber

1шт.

14

397270R1

HOSE CLAMP,#72, 4.06/5.00 Type F Worm, W/liner

CLAMP, air cleaner outlet hose to air cleaner

1шт.

15

397257R1

HOSE CLAMP,#52, 2.81/3.75 Type F Worm, W/liner

CLAMP, air cleaner outlet

4шт.

16

144067

COUPLING,1/8" NPT, Fem

1/8 zn dull pipe, for use w/Donalson air cleaner

1шт.

17

86534426

ELBOW

1/8 90 deg street

1шт.

18

389908R91

ADAPTER

ASSY, vacuum switch

1шт.

19

531609R1

IGNITION SWITCH

SWITCH, electric air cleaner

1шт.

20

169464C1

SHIELD, air cleaner tube, for use w/standard grain tank

1шт.

938017R1

FLANGE NUT,Flg, USR, 5/16"-18

5/16 C-Z flange lock

2шт.

161945C1

SERRATED SCREW,Sl Truss Hd, 5/16" - 18 x 1"

5/16 x 1 C-Z slt-truss-hd

2шт.

21

169462C1

SHIELD, air cleaner tube, for use w/hi-capacity grain tank

1шт.

938017R1

FLANGE NUT,Flg, USR, 5/16"-18

5/16 C-Z flange lock

4шт.

477-73108

SERRATED SCREW,Sl Truss Hd, 5/16" - 18 x 1/2"

5/16 x 1/2 C-Z slt-truss-hd

4шт.

22

169465C1

STRAP, shield support, for use w/standard grain tank

1шт.

938017R1

FLANGE NUT,Flg, USR, 5/16"-18

5/16 C-Z flange lock

2шт.

161945C1

SERRATED SCREW,Sl Truss Hd, 5/16" - 18 x 1"

5/16 x 1 C-Z slt-truss-hd

2шт.

23

169463C1

STRAP, shield support, for use w/hi-capacity grain tank

2шт.

938017R1

FLANGE NUT,Flg, USR, 5/16"-18

5/16 C-Z flange lock

2шт.

161945C1

SERRATED SCREW,Sl Truss Hd, 5/16" - 18 x 1"

5/16 x 1 C-Z slt-truss-hd

2шт.

24

169484C1

BRACKET ASSY, air cleaner, for use w/standard grain tank

1шт.

18494R1

BOLT,Hex, 3/8" - 16 x 1", Gr 2

3/8 x 1 C-Z hex-hd mach

8шт.

120377

NUT,3/8" - 16, Gr 5

8шт.

275-5478

SELF-TAP SCREW,Hex Hd, 1/4" x 1/2"

SCREW, 1/4-14 x 1/2 C-Z hex-hd tap

6шт.

120382

LOCK WASHER,Helical Spring, 3/8"

WASHER, LOCK, 3/8"

4шт.

25

169481C1

BRACKET ASSY, air cleaner, for use w/hi-capacity grain tank

1шт.

18494R1

BOLT,Hex, 3/8" - 16 x 1", Gr 2

3/8 x 1 C-Z hex-hd mach

6шт.

120377

NUT,3/8" - 16, Gr 5

2шт.

275-5478

SELF-TAP SCREW,Hex Hd, 1/4" x 1/2"

SCREW, 1/4-14 x 1/2 C-Z hex-hd tap

6шт.

120382

LOCK WASHER,Helical Spring, 3/8"

WASHER, LOCK, 3/8"

6шт.

26

169490C1

STRAP, hood support

1шт.

938017R1

FLANGE NUT,Flg, USR, 5/16"-18

5/16 C-Z flange lock

2шт.

135270

SERRATED SCREW,5/16" - 18 x 3/4"

5/16 x 3/4 C-Z slt-truss-hd

2шт.

27

169458C1

CABLE ASSY, air cleaner indicator

1шт.

28

376749R1

BODY

CONNECTOR

2шт.

29

702093C1

CABLE TIE

STRAP, cable tie

10шт.

30

168756C1

FILLER, engine center hood front

1шт.

Выбрано товаров: 57