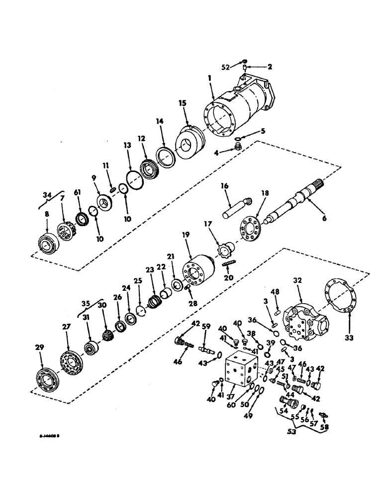
Запчасти Case IH 915 (F-10) - HYDRAULICS SYSTEM, HYDROSTATIC MOTOR (07) - HYDRAULIC SYSTEM

Схема запчастей Case IH 915 - (F-10) - HYDRAULICS SYSTEM, HYDROSTATIC MOTOR (07) - HYDRAULIC SYSTEM
33
41
8
32
27
53
13
16
46
1
26
41
24
40
36
58
47
7
6
21
18
57
31
49
22
14
10
61
9
36
17
47
10
44
5
20
52
48
51
41
25
19
59
4
11
60
15
37
34
3
56
46
39
30
42
45
2
50
35
55
28
23
12
29
42
43
40
54
38
3
40
43
42
43
FIT
1:1
100%

Артикул

Название

Примечание

Количество

67799C91

REMAN-HYDROSTAT MOTO

MOTOR ASSY, hydrostatic, For N.A. Only

1шт.

1949111C1

CORE-HYDROSTAT MOTOR

Return Number, For N.A. Only

1шт.

1

405148R1

HOUSING

HOUSING, hyd motor

1шт.

444687

PLUG,Hex Soc, 1/8"-27

PLUG, , Pipe Hex Soc, 1/8"-27

1шт.

2

20020R1

DOWEL,5/16" x 1"

PIN, 5/16 x 1 dowel

1шт.

3

21061R1

DOWEL,3/8" x 1/2"

PIN, 3/8 x 1 dowel

2шт.

4

9410360

PLUG

PLUG, 7/8-14 C-Z STR-THD

1шт.

5

364885R1

O-RING,0.097" Thk x 0.755" ID, -910, Cl 6, 90 Duro

O-RING, 3/4 x 15/16 x 3/32

1шт.

6

405149R1

SHAFT

SHAFT, hyd motor drive

1шт.

7

BEARING ASSY, drive shaft front cone, (not serviced separately) order bearing assy, 405186R91

1шт.

8

BEARING ASSY, drive shaft front cup, (not serviced separately) order bearing assy, 405186R91

1шт.

9

SEAL, housing, (not serviced separately) order o-ring and seal package 405125R92

1шт.

10

26079R1

O-RING,0.103" Thk x 2.05" ID, -137, Cl 5, 75 Duro

O-RING, 2 x 2-3/16 x 3/32, replaces 21480R1

2шт.

11

393882R1

SPRING

SPRING, drive shaft face

8шт.

12

405126R1

RETAINER

RETAINER ASSY, drive shaft

1шт.

13

610411C1

O-RING,0.139" Thk x 3.484" ID, -238, Cl 5, 75 Duro

O-RING, 3-1/2 x 3-3/4

1шт.

14

22325R1

SNAP RING,3.875", Int, #387

Ring, Snap, , drive shaft face 3.875", Int, #387

1шт.

15

405150R1

PLATE

SWASHPLATE, hyd motor

1шт.

16

53703R1

PISTON ASSY, cylinder block, replaces 405131R2

9шт.

17

405132R1

GUIDE

GUIDE, cyl block piston

1шт.

18

405133R1

RETAINER

RETAINER, cyl block piston

1шт.

19

67821C1

BLOCK

BLOCK ASSY, piston cylinder

1шт.

20

67822C1

SPRING

SPRING, slipper retainer

6шт.

21

405136R1

SEAT

SEAT, piston cyl block spring

1шт.

22

405137R1

GUIDE

BUSHING, drive shaft rear spring

1шт.

23

532303R2

SPRING

SPRING, cylinder block

1шт.

24

405139R1

RETAINER

RETAINER, drive shaft rear spring

1шт.

25

558383R1

SNAP RING,#250, 2.606, Int, Spiral

RING, drive shaft rear spring

1шт.

26

405140R1

RING

RING, cyl block brg plate pilot

1шт.

27

405141R1

PLATE

PLATE, cyl block brg

1шт.

28

527636R1

PIN

PIN, cylinder block brg plate, replaces 394196R1

1шт.

29

530773R1

PLATE

PLATE, cyl block valve

1шт.

30

BEARING ASSY, drive shaft rear pilot cone, (not serviced separately) order bearing assy 405152R91

1шт.

31

BEARING ASSY, drive shaft rear pilot cup, (not serviced separately) order bearing assy 405152R91

1шт.

32

530734R1

COVER

COVER, motor bearing rear end

1шт.

179867

BOLT,Hex, 7/16" - 14 x 2 1/4", Gr 5

SCREW, 7/16-14 x 2-1/4 hex-hd cap

4шт.

179871

BOLT,Hex, 7/16" - 14 x 3 1/4", Gr 5

SCREW, 7/16-14 x 3-1/4 hex-hd cap

4шт.

61252H

WASHER

WASHER, 15/32 x 3/4 x 11 ga

1шт.

33

405147R1

GASKET

GASKET, motor rear end

1шт.

34

405186R91

BEARING ASSY,2" ID x 4" OD x 1.378"

BEARING ASSY, drive shaft front

1шт.

35

405152R91

BEARING ASSY,1.1875" ID x 2.5317" OD x 0.8468, 0.6563"

BEARING ASSY, drive shaft rear pilot

1шт.

36

393886R1

WASHER

WASHER, manifold valve

2шт.

37

529426R1

HOUSING

HOUSING, manifold valve, includes ref. no. 59

1шт.

186271

SCREW,Hex, 5/16" - 18 x 3 3/4", Gr 5

BOLT, Hex, 5/16"-18 x 3 3/4", G5

6шт.

394880R1

WASHER

WASHER, 11/32 x 19/32 x .083

6шт.

38

610547C1

O-RING,0.07" Thk x 0.864" ID, -20, Cl 7, 75 Duro

O-RING, 7/8 x 1 x 1/16

1шт.

39

383219R1

O-RING,0.924" ID x 0.103" Width

O-RING, 15/16 x 1-1/8 x 3/32

2шт.

40

9410356

PLUG

PLUG, 7/16-20 C-Z STR-THD

3шт.

41

369751R1

O-RING,0.072" Thk x 0.351" ID, -904, Cl 6, 90 Duro

O-RING, 4-1, 90 Duro, .351" ID x .072" Thk

3шт.

42

394173R1

PLUG

PLUG, manifold shuttle valve

3шт.

43

364885R1

O-RING,0.097" Thk x 0.755" ID, -910, Cl 6, 90 Duro

O-RING, 3/4 x 15/16 x 3/32

3шт.

44

531174R1

SPRING

SPRING, manifold relief valve

1шт.

45

531175R1

PISTON

PISTON, manifold relief valve

1шт.

46

394176R1

SPRING

SPRING, manifold shuttle valve

2шт.

47

394177R1

WASHER

WASHER, manifold shuttle valve

2шт.

48

394825R1

DOWEL

PIN, 5/16 x 5/8 dowel end cover to valve plate

1шт.

49

297459R1

O-RING,0.116" Thk x 1.048" ID, -914, Cl 6, 90 Duro

O-RING, 1-3/64 x 1-7/32 x 7/64

2шт.

50

20947R1

O-RING,0.103" Thk x 0.799" ID, -117, Cl 6, 90 Duro

O-RING, 13/16 x 1 x 3/32

2шт.

51

394279R91

KIT

PACKAGE, relief valve shim

1шт.

52

405128R1

SHIM

SHIM, motor shaft rear

1шт.

53

402626R92

VALVE

VALVE ASSY, high pressure relief, includes ref. nos. 54 thru 58

2шт.

54

BODY, (not serviced separately) order 402626R92 valve assy

1шт.

55

402629R1

BUSHING

BUSHING, ball guide

1шт.

56

17008R1

BALL,1/4" Dia

BALL, , Chrome-Steel 1/4" Dia

1шт.

57

369751R1

O-RING,0.072" Thk x 0.351" ID, -904, Cl 6, 90 Duro

O-RING, 4-1, 90 Duro, .351" ID x .072" Thk, 1/4 OD tube

3шт.

58

402630R2

CONNECTOR, ELEC

CONNECTOR CONNECTOR, 37 deg flared tube special

1шт.

59

SPOOL, shuttle valve (not serviced separately) order housing 529426R1

1шт.

60

393887R1

BACK-UP RING

RING, relief valve back-up

4шт.

61

SEAL, shaft, (not serviced separately) order o-ring and seal package 405125R92

1шт.

393884R91

KIT

PACKAGE, manifold valve housing seal, composed of (1) o-ring 610547C1, (2) o-rings 383219C1, (2) washers 393886R1

1шт.

393885R91

GASKET KIT

PACKAGE, relief valve seal, composed of (2) o-rings 20947R1, (2) o-rings 297459R1, (4) o-rings 393887R1

1шт.

405125R92

PACKAGE

PACKAGE, o-ring and seal, composed of (1) seal (NSS), (1) seal (NSS), (2) o-ring 26079R1, (1) o-ring 610411C1, (8) spring 393882R1

1шт.

394171R91

VALVE

VALVE ASSY, manifold, consists of ref. nos. 37, 40, 42 thru 46 and 51

1шт.

Выбрано товаров: 0