Запчасти Case IH 915 (M-10) - SEAT, OPERATORS PLATFORM & MISC., GAUGES, SPEEDOMETER, TACHOMETER AND SWITCHES (10) - OPERATORS PLATFORM

Схема запчастей Case IH 915 - (M-10) - SEAT, OPERATORS PLATFORM & MISC., GAUGES, SPEEDOMETER, TACHOMETER AND SWITCHES (10) - OPERATORS PLATFORM
31
32
29
19
22
35
7
18
27
3
21
1
2
16
23
28
12
34
17
33
20
6
30
15
26
16
24
10
11
25
4
14
8
14
9
13
5
20
FIT
1:1
100%

Артикул

Название

Примечание

Количество

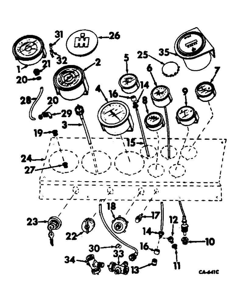
1

168936C1

GAUGE ASSY, vacuum, not diesel

1шт.

2

167307C1

SPEEDOMETER

ASSY, for rubber tires

1шт.

2

169491C1

SPEEDOMETER

ASSY, for track attachment

1шт.

3

156042C91

SHAFT ASSY.

SHAFT ASSY, speedometer flexible

1шт.

4

159884C91

INDICATOR

TACHOMETER ASSY

1шт.

5

163835C91

GAUGE

ASSY, oil pressure

1шт.

6

163834C91

GAUGE

ASSY, water temperature, for gasoline or LP gas engine

1шт.

6

174467C1

GAUGE

ASSY, water temperature, for diesel engine

1шт.

7

167020C1

GAUGE ASSY, air cleaner restriction indicator, serial no. 2349 and below

1шт.

8

167021C1

GAUGE ASSY.

GAUGE ASSY, ammeter

1шт.

9

163836C91

GAUGE

ASSY, fuel, for gasoline or diesel engine

1шт.

10

144216

BUSHING,1/2" NPT Male x 3/8" NPT Fem

REDUCER, 1/2 x 3/8 steel znp, for diesel engine

1шт.

11

87016922

REDUCER,1/4"-18 NPTF x 1/8"-27 Fem NPTF

1/4 x 1/8 steel znp, for diesel engine

1шт.

12

59939D

HYD CONNECTOR,1/8" NPT x 5/16"-24

CONNECTOR, 1/8 NPTF male hi-duty, for diesel engine

1шт.

13

192043

NIPPLE, 1/8 x 2 C-Z pipe, for gasoline or LP gas engine

1шт.

14

222-500

TUBE NUT,5/16" - 24 NPT

NUT, 5/16-24 flared tube

2шт.

15

TUBE, oil pressure gauge, use 104 in. for gas or LP gas & 130 in. for diesel of 1/8 OD copper tubing from 50 ft roll marked 995059R1

1шт.

16

19715R1

HYD CONNECTOR,Fem, 5/16"-24

CONNECTOR, 1/8 female hi-duty, 2 used gasoline or LP gas engine, 1 used diesel engine

1шт.

17

376852R91

HOUSING

ASSY, fuse, serial no. 1249 and below

1шт.

18

166380C92

SWITCH

ASSY, light

1шт.

19

112877

ADAPTER,1/4" NPT Male x 1/8" NPT Fem

REDUCER, 1/8 x 1/4 plain brass pipe, for V-8 engines w/o closed crankcase ventilation system

1шт.

19

144037

SUPPORT

ADAPTER, 1/2-18 znd reducing pipe, for use w/V-345 gas engine equipped w/closed crankcase ventilation system

1шт.

20

165207C1

NUT

1/8 tube

2шт.

21

165205C1

CONNECTOR, 1/8 pipe to 1/8 tube female

1шт.

22

394771R91

IGNITION SWITCH

SWITCH ASSY, flasher light, serial no. 1249 and below

1шт.

23

164895C91

SWITCH

ASSY, ignition

1шт.

24

COVER, instrument front, refer to operators control console for listing

1шт.

25

432580

PLUG, fuel gauge, LP gas engine 2 3/32"

1шт.

26

167008C1

PLUG, instrument panel, not for use w/cylinder tachometer

2шт.

27

389908R91

ADAPTER

ASSY, switch

1шт.

28

HOSE, vacuum gauge, use 13 ft 2 in. of 1/8 OD nylon hose 628461R1

1шт.

29

289970C91

FITTING

ELBOW, 1/8 pipe to 1/8 tube male

1шт.

30

362120R1

CLAMP,9.53mm ID, 10.32mm Bolt Hole, P Type

CLIP, speedometer cable

2шт.

30

263717R91

CLIP

speedometer cable

1шт.

31

A14553

BULB

vacuum light

1шт.

32

372546R91

CABLE

SOCKET ASSY, vacuum gauge light

1шт.

33

156233C91

JOINT ASSY, speedometer cable angle, combines equipped w/track attach. serial no. 1249 and below

1шт.

34

160701C1

DRIVE

JOINT ASSY, speedometer cable angle, combines equipped w/track attach. serial no. 1249 and below

1шт.

35

407206R1

KIT

ASSY, hour meter, parts accessories

1шт.

Выбрано товаров: 39