Запчасти Case IH 915 (N-16) - PARTS ACCESSORIES AND ATTACHMENTS, OPERATORS CAB HEATER, S/N 1864 AND BELOW Accessories & Attachments

Схема запчастей Case IH 915 - (N-16) - PARTS ACCESSORIES AND ATTACHMENTS, OPERATORS CAB HEATER, S/N 1864 AND BELOW Accessories & Attachments
13
13
15
7
4
14
12
12
1
12
12
6
9
3
11
12
12
8
6
2
14
5
6
6
10
FIT
1:1
100%

Артикул

Название

Примечание

Количество

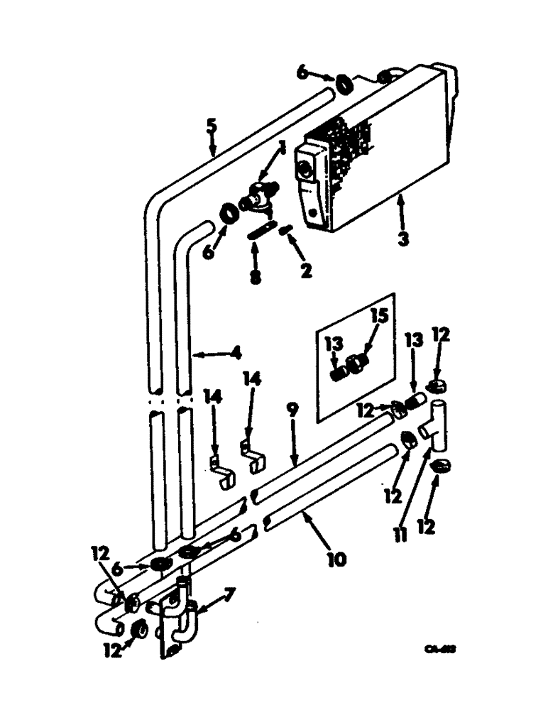
1

167865C1

VALVE, shut-off

1шт.

2

444572

DRAIN PLUG,Sq Hd, 1/8"-27 NPTF, Brass

PLUG, 1/8 NPTF brass pipe

1шт.

3

166866C1

CORE HEATER

1шт.

4

HOSE, long heater, use 127 inches of 5/8 10 from 50-ft roll marked 995108R1

1шт.

5

HOSE, long heater, use 119 inches of 5/8 10 from 50-ft roll marked 995108R1

1шт.

6

995218R1

CLAMP

hose

4шт.

7

168910C1

ADAPTER, hose

1шт.

8

168911C1

LEVER, control

1шт.

587640R1

NUT, 1/4-20 speed

3шт.

85700996

SCREW,Phillips Drive, Pan HD, 1/4" - 20 x 1/2"

1/4 x 1/2 slt-truss-hd

2шт.

174916

LOCK WASHER,Ext-Int Tooth, 1/4"

WASHER, 1/4 C-Z int-ext tooth lock

2шт.

9

HOSE, heater, use 144 in. 5/8 ID from 50 ft roll marked 995108R1

1шт.

10

HOSE, heater, use 186 in. 5/8 ID from 50 ft roll marked 995108R1

1шт.

11

167600R1

TEE, heater hose

1шт.

12

274085R91

HOSE CLAMP,#10, 0.56/1.06 Type F Worm

CLAMP, 1-1/16 hose

1шт.

13

574631R1

FITTING

heater hose

1шт.

14

394271R1

CLIP

heater hose dual

2шт.

15

175778H1

ADAPTER

1/2 to 3/8 brass reducer pipe

1шт.

Выбрано товаров: 18