Запчасти Case IH 915 (N-17) - PARTS ACCESSORIES AND ATTACHMENTS, OPERATORS CAB HEATER, S/N 1865 AND ABOVE Accessories & Attachments

Схема запчастей Case IH 915 - (N-17) - PARTS ACCESSORIES AND ATTACHMENTS, OPERATORS CAB HEATER, S/N 1865 AND ABOVE Accessories & Attachments
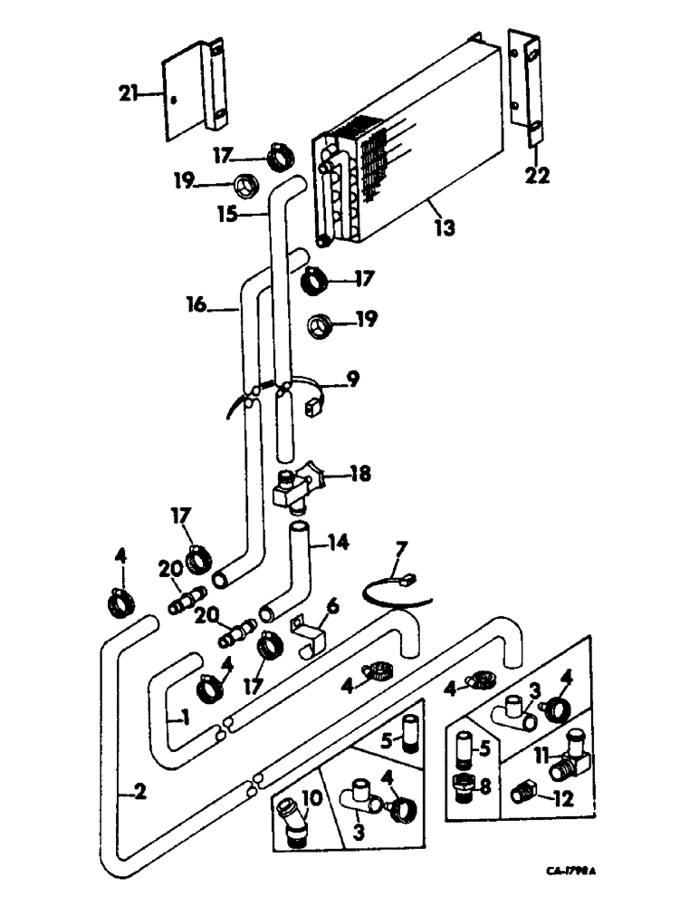
8
2
4
21
15
19
5
4
20
3
17
17
17
1
19
22
6
12
18
3
7
4
10
17
9
4
11
5
4
14
13
16
4
20
FIT
1:1
100%

Артикул

Название

Примечание

Количество

1

HOSE, heater, use 144 inches of 5/8 ID hose form 50-ft roll marked 995108R2

1шт.

2

HOSE, heater, use 175 inches of 5/8 ID hose from 50-ft roll marked 995108R2

1шт.

3

167600R1

TEE, heater hose, 1 used V-8 gasoline, 2 used V-8 LP gas engine

1шт.

4

274085R91

HOSE CLAMP,#10, 0.56/1.06 Type F Worm

CLAMP, 1-1/16 hose, 4 used diesel, 6 used V-8 gasoline & 8 used V-8 LP gas engine

1шт.

5

574631R1

FITTING

heater hose, 2 used DT 407 diesel, 1 used all V-8 engines

1шт.

6

394271R1

CLIP

heater hose dual

2шт.

7

386170R1

STRAP, heater hose, DT 407 diesel and all V-8 engines

1шт.

8

175778H1

ADAPTER

1/2-3/8 brass reducer pipe, DT 407 diesel engine

1шт.

9

702093C1

CABLE TIE

STRAP, heater hose lock, DT 414 diesel engine

4шт.

10

864449R1

ELBOW

FITTING, 1/2 to 5/8 hose, DT 414 diesel engine

1шт.

11

864458R1

ELBOW

FITTING, 5/8 to 1/2 pipe 90 degree, DT 414 diesel engine

1шт.

12

221-93

REDUCER,Hex, 3/4" x 1/2" NPT

3/4 inch to 1/2 inch zinc, DT 414 diesel engine

1шт.

13

173914C1

CORE, heater

1шт.

164539

GEAR

SCREW, no. 14 x .38 pan-hd SLT

4шт.

160515

SCREW,Cross Pan Hd, 1/4" - 20 x 1/2"

3шт.

14

HOSE, heater lower, use 15 inches of 5/8 ID hose from 50-ft roll marked 995108R2

1шт.

15

HOSE, heater upper, use 97 inches of 5/8 ID hose from 50-ft roll marked 995108R2

1шт.

16

HOSE, heater outer, use 114 inches of 5/8 ID hose from 50-ft roll marked 995108R2

1шт.

17

995218R1

CLAMP

hose

6шт.

18

173908C1

VALVE

water shut-off

1шт.

120361

NUT,Hex Mach Screw, #10 - 24

1шт.

173122

WASHER

no. 10 C-Z int-ext lock

1шт.

19

173896C1

GROMMET, 29/32 ID

2шт.

20

173898C1

FITTING

TUBE, lower heater hose adapter

2шт.

21

175579C1

BRACKET, heater mounting LH, for cab w/side air intake

1шт.

186491

SCREW,Hex Hd, 1/4"-20 x 1/2", w/LW

1/4 x 1/2 znd hex-hd mach

1шт.

22

175580C1

BRACKET, heater mounting RH, for cab w/side air intake

1шт.

186491

SCREW,Hex Hd, 1/4"-20 x 1/2", w/LW

1/4 x 1/2 hex-hd

1шт.

Выбрано товаров: 28