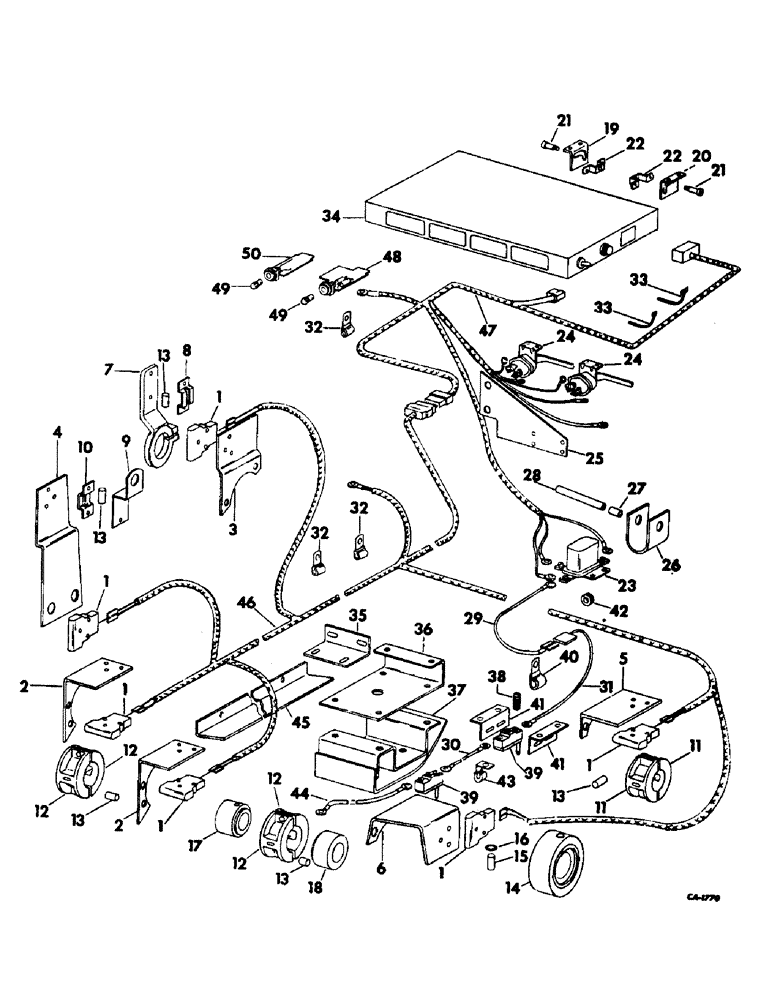
Запчасти Case IH 915 (N-19) - PARTS ACCESSORIES AND ATTACHMENTS, MONITOR CONTROL ATTACHMENT Accessories & Attachments

Схема запчастей Case IH 915 - (N-19) - PARTS ACCESSORIES AND ATTACHMENTS, MONITOR CONTROL ATTACHMENT Accessories & Attachments
22
35
12
33
22
12
11
37
42
2
11
1
12
13
1
1
17
1
21
50
45
13
20
31
19
5
38
13
41
13
16
40
4
8
13
6
36
32
30
29
33
10
32
24
48
26
1
43
15
49
14
41
39
23
2
44
25
21
27
9
32
7
3
47
24
39
34
18
46
1
28
12
49
FIT
1:1
100%

Артикул

Название

Примечание

Количество

1

174085C91

SENSOR ASSY, monitor control, 5 used w/o straw chopper, 6 used w/straw chopper

1шт.

134536

BOTTOM

NUT, no. 8 C-Z sq

1шт.

436696

SCREW,Slotted Pan Hd, #8-32 x 5/8"

no. 8 x 5/8 pan-hd

1шт.

121752

BUSHING,Ext, #8

no. 8 C-Z med lock

1шт.

2

174083C1

BRACKET, grain & tailings auger sensor mount

2шт.

3

174084C1

BRACKET, straw rack sensor mount

1шт.

4

174075C1

BRACKET, shaker shaft sensor mount

1шт.

120377

NUT,3/8" - 16, Gr 5

1шт.

113-206

BOLT,Hex, 3/8" - 16 x 3/4", Gr 5, Full Thd

3/8 x 3/4 C-Z hex-hd cap

1шт.

120382

LOCK WASHER,Helical Spring, 3/8"

WASHER, LOCK, 3/8"

1шт.

5

174082C1

BRACKET, fan monitor control sensor, serial no. 1249 & below

1шт.

5

174081C1

BRACKET, fan monitor control sensor, serial no. 1250 & above

1шт.

6

174076C1

BRACKET, straw choper sensor mount, for use w/straw chopper

1шт.

7

174090C1

ARM, straw rack

1шт.

938016R1

FLANGE NUT,Flg, USR, 1/4"-20

1/4 C-Z whiz lock

1шт.

180084

BOLT,Hex, 5/16" - 18 x 1 5/8", Gr 5

SCREW, 1/4 x 1-1/4 hex-hd cap

1шт.

8

174103C1

HOLDER, straw rack arm magnet

1шт.

120622

NUT,#8-32

2шт.

436695

SCREW,Slotted Pan Hd, #8-32 x 1/2"

no. 8 x 1/2 C-Z pan-hd

2шт.

121841

LOCK WASHER,#8

WASHER, LOCK, #8

2шт.

9

174104C1

BRACKET, shoe magnet, serial no. 3179 and below

1шт.

9

175229C1

BRACKET, shoe magnet, serial no. 3180 and above

1шт.

10

174103C1

HOLDER, shoe magnet

1шт.

120622

NUT,#8-32

2шт.

436695

SCREW,Slotted Pan Hd, #8-32 x 1/2"

no. 8 x 1/2 C-Z pan-hd

2шт.

121841

LOCK WASHER,#8

WASHER, LOCK, #8

2шт.

11

174094C1

HOLDER, fan magnet

2шт.

174097C1

FLANGE NUT,Flg, USR, #10-24

no. 10 C-Z flange lock

2шт.

174096C1

BOLT,Hex Serr Flg, #10 - 24 x 3/4"

SCREW, no. 10 x 3/4 hex-hd flange

2шт.

12

174095C1

HOLDER, grain & tailings auger magnet

4шт.

174097C1

FLANGE NUT,Flg, USR, #10-24

no. 10 C-Z flange lock

4шт.

174096C1

BOLT,Hex Serr Flg, #10 - 24 x 3/4"

SCREW, no. 10 x 3/4 hex-hd flange

4шт.

13

174110C1

MAGNET

5шт.

14

174107C1

HUB ASSY, straw chopper magnet holder, includes ref. nos. 15 & 16, for use w/straw chopper

1шт.

15

174110C1

MAGNET, for use w/straw chopper

1шт.

16

23371R1

RING, magnet retaining, for use w/straw chopper

1шт.

23354R1

SET SCREW,3/8" - 16 x 1", Alloy Steel

SCREW, 3/8 x 1 hex-soc-hd cup pt set

1шт.

17

174105C1

COLLAR, tailings auger brg, for 7/8 inch dia auger shaft

1шт.

17

174106C1

COLLAR, tailings auger brg, for 1 inch dia auger shaft

1шт.

18

174106C1

COLLAR, grain auger brg

1шт.

19

174099C1

ANGLE, panel left hinge

1шт.

371212C1

RIVET

pop

2шт.

20

174100C1

ANGLE, panel right hinge

1шт.

371212C1

RIVET

pop

2шт.

21

174102C1

SCREW, panel hinge angle adj

2шт.

22

174101C1

NUT, panel mounting screw saddle

2шт.

371212C1

RIVET

pop

4шт.

23

921926C1

SWITCH

RELAY ASSY

1шт.

19302R1

NUT

no. 10 C-Z hex.

2шт.

436732

SCREW,Slotted Pan Hd, #10-24 x 1/2"

no. 10 x 1/2 C-Z slt-pan hd

1шт.

436734

SCREW,Slotted Pan Hd, #10-24 x 3/4"

no. 10 x 3/4 C-Z slt-pan hd

1шт.

120217

LOCK WASHER,#10

WASHER, LOCK, #10

1шт.

24

537641R1

SWITCH ASSY

separator

2шт.

19302R1

NUT

no. 10 C-Z hex.

4шт.

436732

SCREW,Slotted Pan Hd, #10-24 x 1/2"

no. 10 x 1/2 slt-pan-hd

4шт.

120217

LOCK WASHER,#10

WASHER, LOCK, #10

1шт.

25

174098C1

BRACKET, separator switch

1шт.

16897R1

CARRIAGE BOLT,Short Nk, 5/16" - 18 x 3/4", Gr 2, Full Thd

BOLT, 5/16 x 3/4 C-Z sq-nk crg

2шт.

120376

NUT,5/16"-18, G5

2шт.

80681

LOCK WASHER,5/16"

WASHER, LOCK, 5/16"

2шт.

26

628497R1

CLAMP, sep switch control pipe

1шт.

27

600411R1

SPACER,3/8" Pipe x 2 3/4"

separator switch control

1шт.

28

359105R1

SPACER,3/8" X-Strng Pipe x 1/2"

separator switch control pipe clamp

1шт.

18775R1

BOLT,Hex, 5/16"-18 x 5", G2

5/16 x 5 C-Z hex-hd mach

1шт.

120376

NUT,5/16"-18, G5

1шт.

80681

LOCK WASHER,5/16"

WASHER, LOCK, 5/16"

1шт.

619855R1

WASHER

11/32 x 3/4 x 16 ga C-Z

1шт.

29

174092C1

WIRE ASSY, relay to micro-switch, 20 inch

1шт.

30

174495C1

WIRE ASSY, micro-switch, 192 inch

1шт.

32

362120R1

CLAMP,9.53mm ID, 10.32mm Bolt Hole, P Type

CLIP, monitor read out & sender harness, 23 used w/o straw chopper, 28 used w/straw chopper

1шт.

33

702093C1

CABLE TIE

STRAP, read out & sender harness tie

5шт.

34

174016C91

PANEL ASSY, monitor control, refer to monitor control panel unit for listing

1шт.

35

168905C1

SUPPORT, warning switch, not for use w/straw chopper

2шт.

18626R1

CARRIAGE BOLT,Short Sq Nk, 1/4" - 20 x 1/2", Gr 2

BOLT, 1/4 x 1/2 C-Z sq-nk crg

4шт.

120375

NUT,Hex, 1/4" - 20, Gr 5

4шт.

492-11025

LOCK WASHER,1/4"

WASHER, LOCK, 1/4"

4шт.

36

161704C1

SUPPORT, warning switch, not for use w/straw chopper

2шт.

12653R1

BOLT (SPREADER),Short NK, 1/4"-20 x 3/4", G2

BOLT, CARRIAGE, Short NK, 1/4"-20 x 3/4", G2

4шт.

120375

NUT,Hex, 1/4" - 20, Gr 5

4шт.

938016R1

FLANGE NUT,Flg, USR, 1/4"-20

1/4 C-Z whiz lock

8шт.

937059R1

SCREW,Serr, M10 x 70mm, Cl 10.9

1/4 x 1/2 C-Z whiz lock

8шт.

492-11025

LOCK WASHER,1/4"

WASHER, LOCK, 1/4"

4шт.

21801R1

WASHER

9/32 x 3/4 x 16 ga C-Z

2шт.

37

171173C1

BRACKET

ASSY, warning switch, not for use w/straw chopper

2шт.

938016R1

FLANGE NUT,Flg, USR, 1/4"-20

1/4 C-Z whiz lock

8шт.

137185

COTTER PIN,1/8" x 1"

PIN, SPLIT (COTTER), 1/8" x 1"

2шт.

937059R1

SCREW,Serr, M10 x 70mm, Cl 10.9

1/4 x 1/2 C-Z whiz lock

8шт.

619855R1

WASHER

11/32 x 3/4 x 16 ga C-Z

4шт.

38

372649R1

SPRING

warning switch, not for use w/straw chopper

2шт.

39

574649R91

SWITCH

ASSY, warning, not for use w/straw chopper

2шт.

134530

NUT,Hex, #6 - 32

2шт.

436670

SCREW,Slotted Pan Hd, #6-32 x 1 1/4"

no. 6 x 1-1/4 slt-pan hd

2шт.

131044

LOCK WASHER

Lock, #6

2шт.

40

362127R1

CLIP

warning cable, not for use w/straw chopper

5шт.

40

366460R1

CABLE CLIP

CLIP, relay wire to straw rack micro-switch, not for use w/straw chopper

1шт.

938017R1

FLANGE NUT,Flg, USR, 5/16"-18

5/16 C-Z whiz lock

1шт.

135270

SERRATED SCREW,5/16" - 18 x 3/4"

5/16 x 3/4 C-Z whiz lock

1шт.

41

166225C2

SUPPORT

BRACKET, warning switch, not for use w/straw chopper

4шт.

134530

NUT,Hex, #6 - 32

1шт.

938016R1

FLANGE NUT,Flg, USR, 1/4"-20

1/4 C-Z whiz lock

4шт.

193257

TUBE

SCREW, no. 6 x 1/4 slt-pan hd mach

1шт.

937875R1

SCREW,Serr, 1/4" - 20

1/4 x 3/4 C-Z whiz lock

4шт.

492-11006

LOCK WASHER,#6

Lock, #6

1шт.

42

117959

GROMMET,5/16" ID x .719" x .062"

no. 3 plain rubber diagonal cut

3шт.

42

109390

GROMMET,5/16" ID x 23/32" x .062", Diag Cut

no. 4 plain rubber diagonal cut

2шт.

43

365584R1

CLIP

straw rack micro switch to micro-switch wire, not for use w/straw chopper

4шт.

938017R1

FLANGE NUT,Flg, USR, 5/16"-18

5/16 C-Z whiz lock

4шт.

135270

SERRATED SCREW,5/16" - 18 x 3/4"

5/16 x 3/4 C-Z whiz lock

4шт.

44

CABLE, micro-switch to ground, use 2.5 inches of 14 ga wire from 100-ft. roll marked 995055R1, 154771R2 terminal & 154775R2 terminal

1шт.

45

173861C2

RETAINER, warning switch wire

2шт.

564791R1

SPRING NUT

1/4 speed

6шт.

937059R1

SCREW,Serr, M10 x 70mm, Cl 10.9

1/4 x 1/2 C-Z whiz lock

6шт.

46

174079C1

HARNESS ASSY, monitor sender

1шт.

47

174080C1

HARNESS ASSY, monitor read out

1шт.

48

174071C1

INDICATOR ASSY, straw chopper warning, includes ref. no. 49

1шт.

49

9417863

BULB,C2F, #1895, 14V

LAMP, trade no. 1895

2шт.

50

174073C1

INDICATOR ASSY, check warning, includes ref. no. 49

1шт.

Выбрано товаров: 0