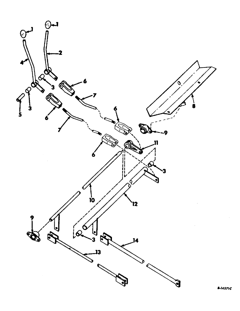
Запчасти Case IH 915 (H-10) - CONTROLS, FEEDER AND REEL LIFT CONTROL Controls

Схема запчастей Case IH 915 - (H-10) - CONTROLS, FEEDER AND REEL LIFT CONTROL Controls
13
3
9
12
7
6
6
6
3
1
2
6
10
5
1
8
4
3
9
11
14
7
3
FIT
1:1
100%

Артикул

Название

Примечание

Количество

1

164338C1

KNOB, PLTF & reel lift control lever

2шт.

2

164332C91

LEVER w/BUSHING, reel lift control, includes ref. no. 3

1шт.

3

568921R1

BUSHING,15.9mm ID x 19.02mm OD x 22.23mm L

reel & platform lift control lever hub

4шт.

4

164328C91

LEVER w/BUSHING, platform lift control, includes ref. no. 3

1шт.

5

164881C1

BUSHING, PLTF & reel lift lever pivot

1шт.

18784R1

BOLT,Hex, 3/8"-16 x 2 3/4", G2

3/8 x 2-3/4 C-Z sq-nk crg

1шт.

120377

NUT,3/8" - 16, Gr 5

1шт.

120382

LOCK WASHER,Helical Spring, 3/8"

WASHER, LOCK, 3/8"

1шт.

21796R1

WASHER

21/32 x 1 x 16 ga C-Z

1шт.

6

144243

CLEVIS

header and reel lift control rod

4шт.

121222

COTTER PIN,3/32" x 3/4"

PIN, SPLIT (COTTER), 3/32" x 3/4"

4шт.

21881R1

CLEVIS PIN

PIN, 3/8 x 1 C-Z rod end

4шт.

7

170619C1

ROD, platform and reel lift control

2шт.

124925

JAM NUT,Jam, 3/8"-24, G5

4шт.

8

178399C1

ANCHOR ASSY, operators platform support RH

1шт.

18778R1

SCREW,Hex, 3/8"-16 x 3/4", G2

BOLT, 3/8 x 3/4 hex-hd

2шт.

482256R1

BEARING LOCK NUT,Flg, USR, 3/8"-16

3/8 flange lock

2шт.

9

164864C91

FLANGE,15.89mm ID

BEARING, PLTF & reel lift control pivot

2шт.

16897R1

CARRIAGE BOLT,Short Nk, 5/16" - 18 x 3/4", Gr 2, Full Thd

BOLT, 5/16 x 3/4 C-Z sq-nk crg

4шт.

120376

NUT,5/16"-18, G5

4шт.

80681

LOCK WASHER,5/16"

WASHER, LOCK, 5/16"

4шт.

10

164821C91

SHAFT ASSY, reel lift control

1шт.

11

164815C1

ARM, reel lift

1шт.

265923R1

LOCK PIN,3/16" x 1 1/4", Slotted

Pin, 3/16" x 1 1/4", Slotted

1шт.

12

164818C91

SHAFT ASSY, platform bellcrank, includes ref. no. 3

1шт.

13

164830C91

ROD ASSY, reel lift

1шт.

112726

COTTER PIN,1/16" x 1/2"

PIN, SPLIT (COTTER), 1/16" x 1/2"

1шт.

121222

COTTER PIN,3/32" x 3/4"

PIN, SPLIT (COTTER), 3/32" x 3/4"

1шт.

20155R1

CLEVIS PIN,3/16" x .719"

PIN, 3/16 x 23/32 C-Z rod end

1шт.

21881R1

CLEVIS PIN

PIN, 3/8 x 1 C-Z rod end

2шт.

14

164816C91

ROD ASSY, platform lift lower

1шт.

121222

COTTER PIN,3/32" x 3/4"

PIN, SPLIT (COTTER), 3/32" x 3/4"

1шт.

21881R1

CLEVIS PIN

PIN, 3/8 x 1 C-Z rod end

1шт.

Выбрано товаров: 0