Запчасти Case IH 915 (08-23) - ELECTRICAL, MAGNETIC SWITCH, DIESEL ENGINE (06) - ELECTRICAL

Схема запчастей Case IH 915 - (08-23) - ELECTRICAL, MAGNETIC SWITCH, DIESEL ENGINE (06) - ELECTRICAL
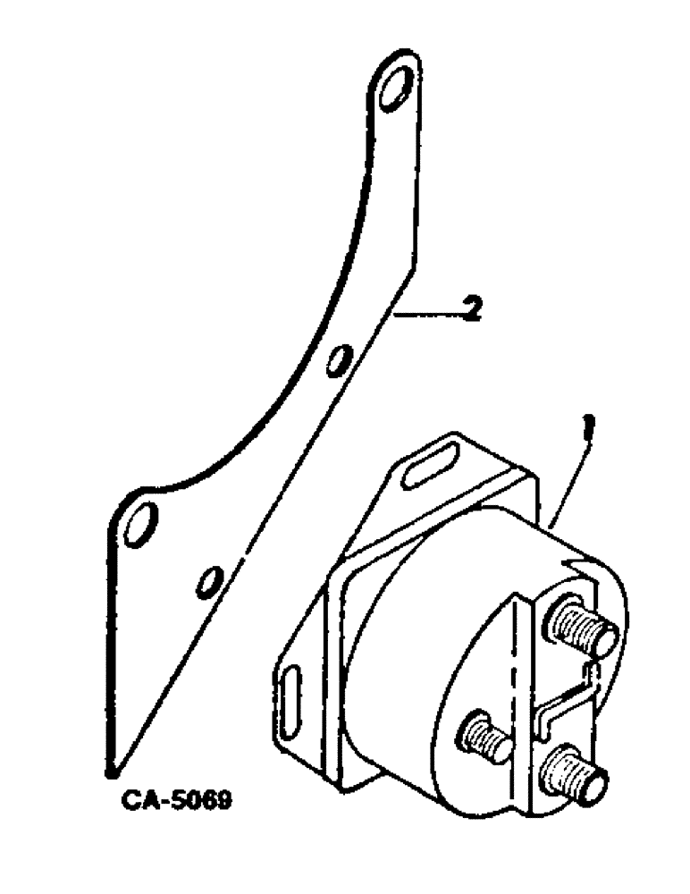
1
2
FIT
1:1
100%

Артикул

Название

Примечание

Количество

1

121613C1

IGNITION SWITCH

SWITCH, magnetic

1шт.

938016R1

FLANGE NUT,Flg, USR, 1/4"-20

1/4 hex-hd whiz lock

2шт.

161108C1

BOLT,Hex Serr, 1/4" - 20 x 1/2"

SCREW, 1/4 x 1/2 hexhd whiz lock

2шт.

120367

NUT,Hex, 1/4" - 28, Gr 5

1/4-NF type 5

2шт.

493-41033

LOCK WASHER,0.33" ID x 0.61" OD x 0.03" Thk

WASHER, 5/16 external, 700

1шт.

120614

NUT,Hex, #10 - 32

NUT, #10-32

1шт.

120217

LOCK WASHER,#10

WASHER, LOCK, #10

1шт.

2

60620C2

BRACKET, switch mounting

1шт.

18778R1

SCREW,Hex, 3/8"-16 x 3/4", G2

BOLT, 3/8 x 3/4 type 1

1шт.

Выбрано товаров: 9