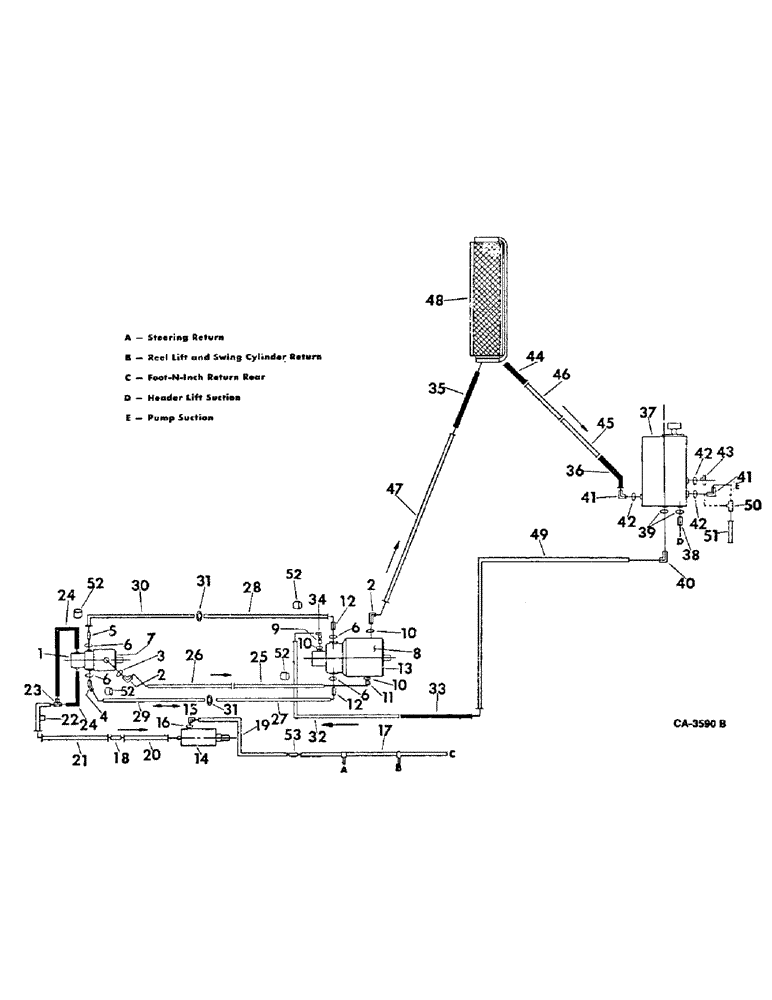
Запчасти Case IH 915 (10-03) - HYDRAULICS, HYDRAULIC DIAGRAM, HYDROSTATIC SYSTEM (07) - HYDRAULICS

Схема запчастей Case IH 915 - (10-03) - HYDRAULICS, HYDRAULIC DIAGRAM, HYDROSTATIC SYSTEM (07) - HYDRAULICS
33
37
6
25
7
28
31
20
5
15
51
41
39
12
24
38
1
40
47
35
42
44
32
43
19
12
50
22
6
18
45
48
49
36
52
41
17
30
52
2
29
42
3
13
6
42
52
8
52
4
34
11
6
31
46
27
24
16
10
23
10
10
9
26
2
53
21
14
FIT
1:1
100%

Артикул

Название

Примечание

Количество

1

MOTOR ASSY, hydrostatic, refer to this group under hydrostatic motor for unit listing

1шт.

2

9410978

ELBOW,90 Degree, 7/8"-14, 37 Degree x 7/8"-14, O-Ring

7/8-14 hyd tube 37 deg 90 deg

1шт.

3

364885R1

O-RING,0.097" Thk x 0.755" ID, -910, Cl 6, 90 Duro

for 5/8 OD tube

1шт.

4

595406R1

ELBOW

1-5/16-12 hyd tube 45 deg

2шт.

5

163915C1

FITTING

CONNECTOR, 1-5/16-12 hyd tube

2шт.

6

296247R1

O-RING,16-1, 90 Duro, 1.171" ID x .116" Thk

for 1 in. OD tube

4шт.

7

166506C1

GASKET,0.81mm Thk

hydrostatic ground drive pump

1шт.

8

PUMP ASSY, hydrostatic, refer to this group under hydrostatic pump for unit listing

1шт.

9

574479R1

HYD CONNECTOR,1 1/16"-12, 37 Degree x 7/8"-14, O-Ring

CONNECTOR, 7/8-14 & 1-1/16-12 hyd tube 37 deg, for suction port

1шт.

10

364885R1

O-RING,0.097" Thk x 0.755" ID, -910, Cl 6, 90 Duro

for 5/8 OD tube

3шт.

11

9410204

HYD CONNECTOR,7/8"-14, 37 Degree x 7/8"-14, O-Ring

CONNECTOR, 7/8-14 hyd tube 37 deg

1шт.

12

163915C1

FITTING

CONNECTOR, 1-5/16-12 hyd tube

2шт.

13

166506C1

GASKET,0.81mm Thk

hydrostatic ground drive motor, square gasket

1шт.

The round gasket for the front rear is 583461R1.

1шт.

14

VALVE ASSY, foot-n-inch pilot relief, refer to this group under foot-n-inch valve for unit listing

1шт.

15

164596C1

ELBOW

1/2-20 & 9/16-18 37 deg hyd tube 90 deg

1шт.

17

178969C1

TUBE ASSY, foot-n-inch rear return

1шт.

18

9403252

FITTING,Blkhd, 7/16"-20, 37 Degree x 7/16"-20, 37 Degree

UNION, 7/16-20 37 deg hyd flared tube

1шт.

9402291

NUT, 7/16-20 bulkhead union lock

1шт.

19

165638C91

TUBE ASSY, foot-n-inch front return

1шт.

20

165624C92

TUBE ASSY, foot-n-inch upper

1шт.

21

178971C1

TUBE ASSY, foot-n-inch center

1шт.

22

178972C1

TUBE ASSY, foot-n-inch lower

1шт.

23

9402979

TEE,7/16"-20, 37 Degree

7/16-20 37 deg flared tube 3-way B

1шт.

24

175760C1

HOSE ASSY.

HOSE ASSY, foot-n-inch, 10 in.

2шт.

25

178985C1

TUBE

ASSY, hydrostatic bleed upper

1шт.

26

178982C1

TUBE ASSY, hydrostatic bleed lower .625" OD, 63.6, 8" Length

1шт.

27

178973C1

TUBE

ASSY, ground drive front upper pressure

1шт.

28

178974C1

TUBE

ASSY, ground drive rear upper pressure

1шт.

180124

BOLT,Hex, 3/8" - 16 x 1 1/4", Gr 5

SCREW, 3/8 x 1-1/4 hex-hd cap

4шт.

123920

LOCK WASHER,3/8"

WASHER, LOCK, 3/8"

1шт.

29

178975C1

HYD TUBE

TUBE ASSY, ground drive front lower pressure

1шт.

30

178976C1

TUBE

ASSY, ground drive rear lower pressure

1шт.

31

343906R1

O-RING,0.139" Thk x 1.296" ID, -219, Cl 6, 90 Duro

1-5/16 x 1-9/16 x 1/8

2шт.

32

178990C1

TUBE ASSY, charge suction, pump end

1шт.

33

HOSE, charge suction, use 9 in. of 3/4 in. ID hose from 25 ft. roll marked 180721C1

1шт.

34

9410283

ELBOW,90 Degree, 1 1/16"-12, 37 Degree x 1 1/16"-12, 37 Degree Fem Sw

1-1/16-12 37 deg hyd tube 90

1шт.

35

180722C1

HOSE, hydro pump to oil cooler, use 15 in. of 1 in. ID hose from 25 ft. roll marked 180719C1

1шт.

36

HOSE, oil cooler to reservoir use 18 in. of 3/4 ID hyd hose from 25 ft roll marked 180720C1

1шт.

37

RESERVOIR ASSY, hydraulic oil, refer to this group under hydraulic reservoir for unit listing

1шт.

38

9410207

HYD CONNECTOR,1 5/16"-12, 37 Degree x 1 5/16"-12, O-Ring

CONNECTOR, 1-5/16-12 37 deg hyd flared tube

1шт.

39

296247R1

O-RING,16-1, 90 Duro, 1.171" ID x .116" Thk

for 1 OD tube

2шт.

40

150776C91

ELBOW,90 Degree, 1 1/16"-12, 37 Degree x 1 5/16"-12, O-Ring

1-5/16-12 to 1-1/16-12 37 deg hyd flared tube reducer

1шт.

41

387006R91

ELBOW

1-1/16-12 90 deg hyd hose

2шт.

42

368269R1

O-RING,0.116" Thk x 0.924" ID, -912, Cl 6, 90 Duro

3/4 OD tube

3шт.

43

9410361

PLUG

1-1/16-12

1шт.

44

HOSE, oil cooler to reservoir, gasoline engine, use 15 in. of 3/4 ID hyd hose from 25-ft roll marked 526603R1

1шт.

44

HOSE, oil cooler to reservoir, diesel engine, use 18 in. of 3/4 ID hyd hose from 25-ft roll marked 180720C1

1шт.

45

179450C1

TUBE ASSY, oil cooler to reservoir LH, gasoline engine

1шт.

45

179987C1

TUBE ASSY, oil cooler to reservoir LH, diesel engine

1шт.

46

179451C1

TUBE ASSY, oil cooler to reservoir RH 1, gasoline engine

1шт.

46

179250C1

TUBE ASSY, oil cooler to reservoir LH, diesel engine

1шт.

47

179452C1

TUBE ASSY, hydro pump to oil cooler, gasoline engine

1шт.

47

179249C1

TUBE ASSY, hydro pump to oil cooler, diesel engine

1шт.

48

COOLER ASSY, oil, refer to this group under oil cooler for unit listing

1шт.

49

178992C1

TUBE ASSY, charge suction, reservoir end

1шт.

50

TEE, reel drive suction, refer to this group under hydraulic diagram for reel drive and reel lift for headers for unit listing

1шт.

51

TUBE ASSY, pump suction, refer to this group under hydraulic diagram for reel drive and reel lift for unit listing

1шт.

52

165722C1

SLEEVE

tube rubber

4шт.

53

9403254

FITTING,Blkhd, 9/16"-18, 37 Degree x 9/16"-18, 37 Degree

UNION, 9/16-18 37 deg hyd flared tube

1шт.

9403293

LOCK NUT,Blkhd, 9/16"-18

NUT, 9/16-18 C-Z bulkhead union lock

1шт.

16

369384R1

O-RING,0.072" Thk x 0.414" ID, -905, Cl 6, 90 Duro

5-1, 90 Duro, .414" ID x .072" Thk, 5/16 OD tube

1шт.

Выбрано товаров: 62