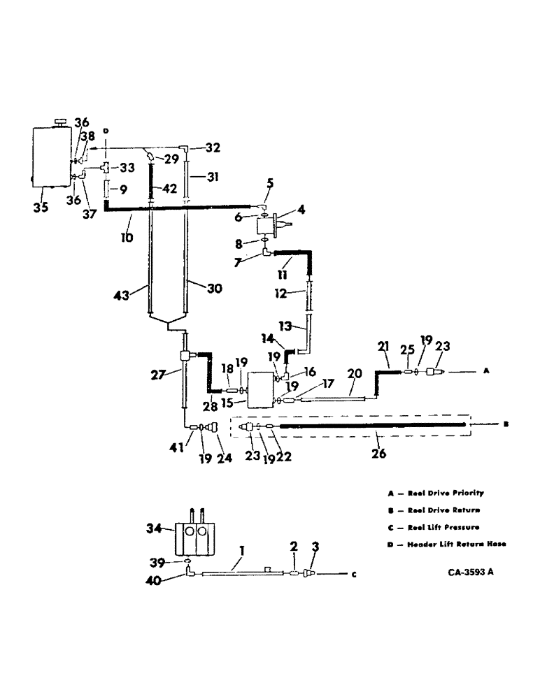
Запчасти Case IH 915 (10-12) - HYDRAULICS, HYDRAULIC DIAGRAM, REEL DRIVE AND REEL LIFT (07) - HYDRAULICS

Схема запчастей Case IH 915 - (10-12) - HYDRAULICS, HYDRAULIC DIAGRAM, REEL DRIVE AND REEL LIFT (07) - HYDRAULICS
13
25
42
17
31
39
18
12
19
20
27
38
34
10
41
24
19
28
8
22
1
3
19
7
21
37
29
33
19
9
26
19
5
32
40
6
23
30
19
14
35
15
36
43
11
4
16
2
36
23
FIT
1:1
100%

Артикул

Название

Примечание

Количество

1

179208C1

TUBE

ASSY, hyd reel lift pressure

1шт.

2

9402708

HYD CONNECTOR,9/16"-18, 37 Degree x 1/4"-18, NPTF

CONNECTOR, 1/4-18 37 deg, serial no. 23000 and below

1шт.

2

9410202

HYD CONNECTOR,9/16"-18, 37 Degree x 9/16"-18, O-Ring

CONNECTOR, 9/16-18 37 deg hyd, serial no, 23001 and above

1шт.

3

166123C1

COUPLING ASSY, self sealing male, serial no. 23000 and below

1шт.

3

187562C1

QUICK MALE COUPLING

COUPLING ASSY, self sealing male, serial no. 23001 and above

1шт.

4

178994C91

PUMP

ASSY, reel drive, optional for pump assy 198300C91

1шт.

178385C1

SEAL KIT

KIT ASSY, seal repair, for use w/178 994C91 ref no 4

1шт.

4

198300C91

HYDRAULIC PUMP

PUMP ASSY, reel drive, optional for pump assy 178994C91

1шт.

168318C92

KIT

ASSY, repair, for use w/198300C91 pump assy ref no 4

1шт.

18684R1

BOLT,Sht Sq Nk, 3/8" - 16 x 1 1/4", Gr 2

3/8 x 1-1/4 sq-nk crg

2шт.

120377

NUT,3/8" - 16, Gr 5

2шт.

120382

LOCK WASHER,Helical Spring, 3/8"

WASHER, LOCK, 3/8"

2шт.

20729R1

NUT,3/8"-16, G5, LH

3/8 znd LHT type 5

1шт.

632019R1

LOCK WASHER,3/8"

L.H. 3/8"

1шт.

178373R1

WASHER

.531 x 1.000 x .056

1шт.

5

178995C1

ELBOW

1-1/16-12 hyd tube 90 deg

1шт.

6

368269R1

O-RING,0.116" Thk x 0.924" ID, -912, Cl 6, 90 Duro

3/4 OD tube

1шт.

7

9410978

ELBOW,90 Degree, 7/8"-14, 37 Degree x 7/8"-14, O-Ring

7/8-14 37 deg hyd tube 90 deg

1шт.

8

364885R1

O-RING,0.097" Thk x 0.755" ID, -910, Cl 6, 90 Duro

5/8 OD tube

1шт.

9

178996C1

TUBE ASSY, pump suction

1шт.

10

178997C1

HOSE,1.00" ID x 23.00", SAE 100R4, CLASS 4

Pump Suction 1.00" ID x 23.00", SAE 100R4, CLASS 4

1шт.

11

558412R91

HOSE

ASSY, reel drive pressure upper 25 in.

1шт.

12

178998C1

TUBE,5" OD

ASSY, reel drive pressure upper

1шт.

13

178999C1

TUBE ASSY, reel drive pressure lower .625" OD, 61, 12" Length

1шт.

14

175021C1

HOSE ASSY, flow divider pressure 48 in.

1шт.

15

DIVIDER ASSY, reel drive flow, refer to this, group under flow divider for unit listing

1шт.

16

9410978

ELBOW,90 Degree, 7/8"-14, 37 Degree x 7/8"-14, O-Ring

7/8-14 37 deg hyd tube 90 deg

1шт.

17

481352R1

HYD CONNECTOR,3/4"-16, 37 Degree x 7/8"-14, O-Ring

CONNECTOR, 7/8-14 & 3/4-16 37 deg

1шт.

18

9410204

HYD CONNECTOR,7/8"-14, 37 Degree x 7/8"-14, O-Ring

CONNECTOR, 7/8-14 37 deg hyd tube

1шт.

19

364885R1

O-RING,0.097" Thk x 0.755" ID, -910, Cl 6, 90 Duro

5/8 OD tube

6шт.

20

179203C1

TUBE ASSY, flow divider priority

1шт.

21

165678C91

HOSE

ASSY, reel drive priority, 66 in.

1шт.

22

481352R1

HYD CONNECTOR,3/4"-16, 37 Degree x 7/8"-14, O-Ring

CONNECTOR, 7/8-14 & 3/4-16 37 deg hyd

2шт.

23

395149R1

QUICK MALE COUPLING

COUPLING ASSY, self-sealing male

2шт.

24

395150R91

COUPLING, QUICK, FEM

COUPLING ASSY, self-sealing female

1шт.

25

481352R1

HYD CONNECTOR,3/4"-16, 37 Degree x 7/8"-14, O-Ring

CONNECTOR, 7/8-14 & 3/4-16 37 deg hyd

1шт.

26

165678C91

HOSE

ASSY, reel drive return 66 in.

1шт.

27

179204C1

TUBE ASSY, reel drive return lower

1шт.

28

196944C1

HOSE

TUBE ASSY, flow divider return

1шт.

29

180230C1

ELBOW, reel drive return

1шт.

30

179001C1

TUBE ASSY, reel drive return center

1шт.

31

179002C1

TUBE ASSY, reel drive return upper

1шт.

32

633460R91

ELBOW,90 Degree, 7/8"-14, 37 Degree x 1 1/16"-12, O-Ring

7/8-14 x 1-1/46-12 37 deg hyd

1шт.

33

179003C1

TEE

reel drive suction

1шт.

34

VALVE ASSY, grain tank unloader tube, refer to this group under grain tank unloader tube valve

1шт.

35

RESERVOIR ASSY, hydraulic oil, refer to this group under hydraulic oil reservoir for unit listing

1шт.

36

O-RING, refer to this group under hydraulic diagram, hydrostatic system for unit listing

1шт.

37

ELBOW, refer to this group under hydraulic diagram, hydrostatic system for unit listing

1шт.

38

CONNECTOR, refer to this group under hydraulic diagram, hydrostatic system for unit listing

1шт.

39

O-RING, refer to this group under hydraulic diagram, hydrostatic system for unit listing

1шт.

40

ELBOW, refer to this group under hydraulic diagram, hydrostatic system for unit listing

1шт.

41

9410204

HYD CONNECTOR,7/8"-14, 37 Degree x 7/8"-14, O-Ring

CONNECTOR, 7/8-14 37 deg. hyd.

1шт.

42

HOSE, reel drive return, use 18 in. of 5/8 ID hose from 25 ft roll marked 180719C1

1шт.

43

180231C1

TUBE ASSY, reel drive return

1шт.

Выбрано товаров: 54