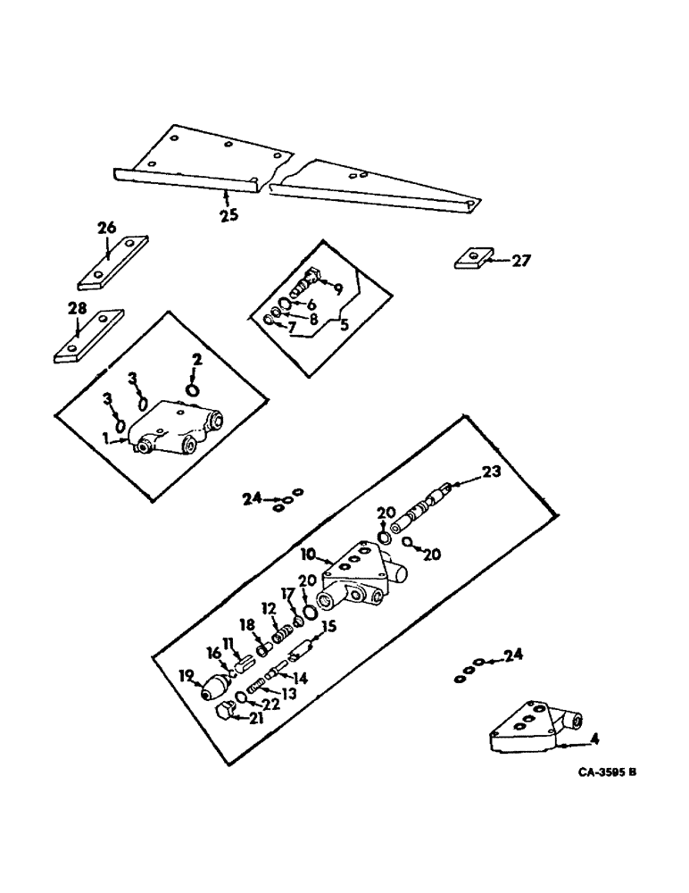
Запчасти Case IH 915 (10-40) - HYDRAULICS, HEADER LIFT VALVE, NOT FOR USE WITH AUTOMATIC HEADER CONTROL (07) - HYDRAULICS

Схема запчастей Case IH 915 - (10-40) - HYDRAULICS, HEADER LIFT VALVE, NOT FOR USE WITH AUTOMATIC HEADER CONTROL (07) - HYDRAULICS
25
14
20
4
23
13
10
7
18
19
12
21
3
28
22
24
17
1
24
27
6
8
20
5
15
26
11
16
2
20
9
3
FIT
1:1
100%

Артикул

Название

Примечание

Количество

1

187892C92

PLATE

ASSY, port LH, includes ref nos. 2 and 3

1шт.

2

352221R1

O-RING,0.103" Thk x 0.549" ID, -113, Cl 5, 75 Duro

9/16 x 3/4 x 3/32

1шт.

3

350667R1

O-RING,0.103" Thk x 0.674" ID, -115, Cl 5, 75 Duro

11/16 x 7/8 x 3/32

2шт.

4

166882C1

VALVE

PLATE, port RH

1шт.

5

167447C91

VALVE

ASSY, 1750 PS1 relief, includes ref nos 6 thru 9

1шт.

6

252707R1

O-RING,0.103" Thk x 0.75" ID, -116, Cl 5, 75 Duro

3/4 x 15/16 x 3/32

1шт.

7

350429R1

O-RING,0.103" Thk x 0.612" ID, -114, Cl 5, 75 Duro

5/8 x 13/16 x 3/32

1шт.

8

587585R1

WASHER

backup

1шт.

9

BODY, not serviced separately order valve assy 167447C91

1шт.

10

183656C91

VALVE

ASSY, 3 way, includes ref nos. 11 thru 23

1шт.

11

588345R1

SLEEVE

spool

1шт.

12

588353R1

SPRING

spool centering

1шт.

12

159382C1

SPRING

lockout

1шт.

14

159380C91

VALVE

POPPET ASSY

1шт.

15

173859C1

PLUNGER

lockout

1шт.

16

(Not used in this application)

1шт.

17

937194R1

SPRING WASHER

spool spring

1шт.

18

937195R1

SPRING WASHER

spool spring

1шт.

19

937198R91

CAP

ASSY

1шт.

114493

JAM NUT,Jam, 5/16"-24, G5

1шт.

181336

BOLT,Hex, 5/16" - 24 x 3/4", Gr 5

1шт.

20

252707R1

O-RING,0.103" Thk x 0.75" ID, -116, Cl 5, 75 Duro

3/4 x 15/16 x 3/32

3шт.

21

159801C1

PLUG

1шт.

22

350429R1

O-RING,0.103" Thk x 0.612" ID, -114, Cl 5, 75 Duro

5/8 x 13/16 x 3/32

1шт.

23

SPOOL, not serviced separately order valve assy 170300C91

1шт.

24

574069R1

O-RING,0.750" ID x .062"

1/16 x 3/4 ID

6шт.

25

178042C1

SUPPORT, hydraulic valve

1шт.

26

178040C1

PAD, hyd valve support left front

1шт.

27

164640C1

PAD, hyd valve support right

1шт.

28

165767C1

PAD, platform lift valve

1шт.

166883C91

PACKAGE

KIT ASSY, for 170299C91 valve, consists of (1) kit 159383C91, (1) o-ring 352221R1, (2) o-rings 350667R1, (3) o-rings 574069R1, (1) o-ring 350429R1, (1) o-ring 252707R1, (1) washer 673644R1

1шт.

159383C91

PACKAGE

KIT, repair, for valve assy 170300C91, consists of (1) o-ring 252707R1, (1) o-ring 252739R1, (1) o-ring 310925R1, (1) o-ring 321956R1, (1) poppet 159380C91

1шт.

Выбрано товаров: 0