Запчасти Case IH 915 (33-04) - FEEDER, FEED CONVEYOR CHAIN (13) - FEEDER

Схема запчастей Case IH 915 - (33-04) - FEEDER, FEED CONVEYOR CHAIN (13) - FEEDER
10
11
4
6
9
23
14
13
6
3
8
18
16
5
1
25
28
26
20
29
3
24
10
14
22
27
7
5
26
17
4
15
23
14
19
9
12
12
21
25
22
2
FIT
1:1
100%

Артикул

Название

Примечание

Количество

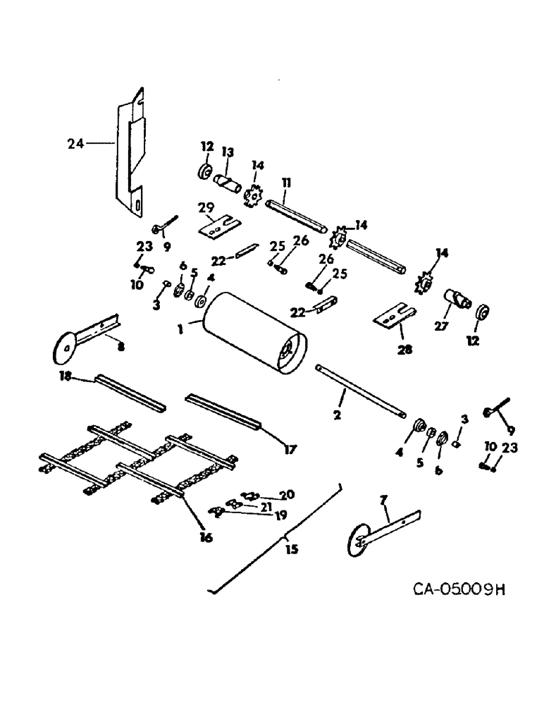
1

175976C1

DRUM HUB

DRUM ASSY, feed conveyor

1шт.

2

175983C1

SHAFT

feed conveyor drum

1шт.

3

M74461

SPACER,26.6mm ID x 33.4mm OD x 19mm L

(Replaces N74461) 1" Pipe x 3/4"

2шт.

4

202311C91

BALL BEARING,25.4mm ID x 52mm OD x 15mm W

BEARING, feed conveyor drum

1шт.

5

455102R21

COLLAR

W/SET SCREW, feed conveyor drum

2шт.

6

165360C1

FLANGED BEARING,95.2 mm OD x 8.74 mm

FLANGE, feed conveyor drum bearing

4шт.

NLS

NO LONGER SERVICED

NUT, 7/16 hax

1шт.

120383

LOCK WASHER,Helical Spring, 7/16"

WASHER, LOCK, 7/16"

1шт.

7

187060C1

ARM

W/SHIELD, drum support LH

1шт.

231-1446

NUT,3/8" - 16, Gr 5

NUT, LOCK, 3/8"-16, GB

1шт.

180130

BOLT,Hex, 3/8" - 16 x 2", Gr 5

SCREW, 3/8 x 2 hex-hd cap

1шт.

8

187061C1

ARM

W/SHIELD, drum support RH

1шт.

231-1446

NUT,3/8" - 16, Gr 5

NUT, LOCK, 3/8"-16, GB

1шт.

180130

BOLT,Hex, 3/8" - 16 x 2", Gr 5

SCREW, 3/8 x 2 hex-hd cap

1шт.

9

176508C1

BOLT,5/8" - 11 x 228.60mm

feed conveyor tightener

2шт.

280374

NUT,Hex, 5/8" - 11, Gr 5

5/8 hex.

2шт.

10

178005C1

BOLT,Hex, 5/8" - 11 x 3", Gr 5

conveyor drum support arm

2шт.

280374

NUT,Hex, 5/8" - 11, Gr 5

5/8 type 5

1шт.

492-11062

BEARING WASHER,5/8"

WASHER, LOCK, 5/8"

1шт.

NLS

NO LONGER SERVICED

.656 x 1.312 x .074

1шт.

11

176510C1

SHAFT

feed conveyor

1шт.

609376R1

WASHER

1.781 x 2.5 x 1.05

10шт.

137323

COTTER PIN,5/16" x 2 1/2"

Pin, Split (Cotter), 5/16" x 2 1/2"

1шт.

12

179665C91

BALL BEARING,38.1mm Hex x 85mm OD x 30mm W

BEARING ASSY, feed conveyor shaft

2шт.

13

178781C1

SPACER

ASSY, conveyor sprocket RH

1шт.

14

197556C1

SPROCKET ASSY.

SPROCKET, feed conveyor 9-T

3шт.

197643C1

SET SCREW

special set

6шт.

15

175992C92

CHAIN (AG)

CHAIN ASSY, feed conveyor, not 34 inch tires

1шт.

Ref #15 - 175992C92 has a total length of 143.44" 11/17/95

1шт.

15

180514C92

CHAIN (AG)

CHAIN ASSY, feed conveyor, for 34 inch tires

1шт.

Ref #15A - 180514C91 has a total length of 163", is for Rice, and has 49 slats 11/17/95

1шт.

15

180581C91

CHAIN (AG)

CHAIN ASSY, feed conveyor, rice not 34 in. tires

1шт.

Ref #15B - 180581C91 has a total length of 143.44", and has 44 slats 11/17/95

1шт.

16

175997C1

SLAT

feed conveyor, not serrated

1шт.

16

180580C1

SLAT

feed conveyor, serrated

1шт.

104264

RIVET,FH, 5/16" x 5/8"

5/16 x 1/2 F-hd solid

1шт.

17

177304C1

SLAT

feed conveyor stripper LH

1шт.

104267

RIVET, 5/16 x 1/2 F-hd solid

1шт.

18

177305C1

SLAT

feed converyor stripper RH

1шт.

104267

RIVET, 5/16 x 1/2 F-hd solid

1шт.

19

179904C2

CLEVIS PIN

LINK ASSY, offset, consists of side bar w/rollers and 1 loose bar

1шт.

20

189710C1

LINK,A550, 3 Links x 41.4mm = 124.2mm

ASSY, attaching, consists of side bar w/riveted pins and 1 loose side bar

1шт.

21

179903C2

LINK

ASSY, connecting, consists of side bar riveted pins and 1 loose side bar

1шт.

22

179273C1

STOP, feed conveyor drum lower, serial no. 19000 and below

2шт.

23

558506R1

SPACER

support arm bolt

2шт.

24

196360C1

SUPPORT, pivot RH

1шт.

938017R1

FLANGE NUT,Flg, USR, 5/16"-18

5/16 flange lock

2шт.

135270

SERRATED SCREW,5/16" - 18 x 3/4"

5/16 x 3/4 znp slt-truss-hd

1шт.

25

197211C1

SPACER

STOP, feeder drum lower, serial no. 19001 and above

2шт.

26

189709C1

BOLT,Hex, 1/2" - 13 x 3"

feeder drum, serial no. 19001 and above

1шт.

120378

NUT,Hex, 1/2" - 13, Gr 5

NUT, 1/2"-13, G5

1шт.

120384

WASHER,1/2"

LOCK, 1/2"

1шт.

27

178780C1

SPACER

ASSY, conveyor spocket LH

1шт.

28

197964C1

STRIPPER

ASSY, LH, for use w/3/8 hardware

1шт.

20537R1

BOLT,Hex, 3/8" - 16 x 1 1/4", Gr 8

3/8 x 1-1/4 type 8

2шт.

25709R1

WASHER

.406 x .812 x .089 hdn

1шт.

359783C1

LOCK NUT

3/8 cad p/t lock type 8

2шт.

151670C1

SHIM

shim .036

1шт.

28

185708C1

STRIPPER ASSY.

STRIPPER ASSY, LH, for use w/1/2 hardware

1шт.

455000

BOLT,Hex, 1/2" - 13 x 1 1/4", Gr 8

1/2 x 1-1/4 type 8

2шт.

390307C1

WASHER

.531 x 1.062 x .095 hdn

4шт.

359787C1

LOCK NUT,1/2"-13, GC

NUT, 1/2 cad p/t lock type 8

2шт.

938915R1

SHIM, washer

1шт.

29

197965C1

STRIPPER

STIPPER ASSY, RH, for use w/3/8 hardware

1шт.

20537R1

BOLT,Hex, 3/8" - 16 x 1 1/4", Gr 8

3/8 x 1-1/4 type 8

2шт.

25709R1

WASHER

.406 x .812 x .089 hdn

1шт.

359783C1

LOCK NUT

3/8 cad p/t lock type 8

2шт.

151670C1

SHIM

shim, .036

1шт.

29

185709C1

STRIPPER ASSY.

STRIPPER ASSY, RH, for use w/1/2 hardware

1шт.

455500

BOLT, 1/2 x 1-1/4 type 8

2шт.

390307C1

WASHER

.531 x 1.062 x .095 hdn

4шт.

359787C1

LOCK NUT,1/2"-13, GC

NUT, 1/2 cad p/t lock type 8

2шт.

935915R1

SHIM,33.02mm OD x 0.38mm Thk

washer

1шт.

Выбрано товаров: 73